
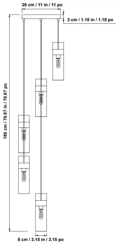
BRUCE PENDANT 5LT
INSTALLATION MANUAL

Questions, problems, need help?
Call our customer service department at 1-866-839-2888, 8 a.m. – 5 p.m., EST, Monday – Friday
[email protected]
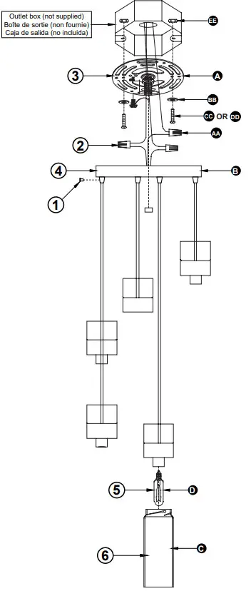
PART LIST
| PART # | DESCRIPTION | QUANTITY |
| A | Mounting plate | 1 |
| B | Canopy | 1 |
| C | Diffuser | 5 |
| D | LED Bulb | 5 |
SUPPLIED HARDWARE LIST
TOOLS REQUIRED (not supplied)

SAFETY INFORMATION
CAUTION
Read carefully the following before starting the installation:
- Before starting the installation of this fixture or the removal of a previous fixture, disconnect the power by turning off the circuit breaker or by removing the fuse at the fuse box.
- If you have any doubts or questions about the installation of this fixture, consult a qualified electrician.
- Carefully unpack this fixture, handle it with care, and place it on a soft surface to prevent scratching.
- Before beginning the assembly of the product, make sure all parts are present. Compare parts with package contents list and hardware contents list. If any part is missing or damaged, do not attempt to assemble the product.
INSTALLATION

- Unscrew the bolt of the nut. Adjust the length of the wire and secure the wire by screwing the bolt back onto the nut.
- Connect the lamp’s neutral (N) and live (L) wires to your own, using the twist-cap connectors (AA). Fix the lamp’s grounding wire to the mounting plate (A) by wrapping it around the bolt, and then tightening the bolt. Connect the lamp’s grounding wire to your main grounding wire with a twist-cap connector (AA). Safely stuff the wires inside your outlet box.
- Install the mounting plate (A) to your outlet box with washers (BB), bolts (CC / DD), and nuts (EE).
- Install the canopy (B) onto the mounting plate (A) with provided nut. Strongly tighten the nut.
- Carefully install the bulbs (D) onto the lamp.
- Install the diffusers (C) onto the lamp.
CONSUMER RESPONSIBILITIES
The DISTRIBUTOR’s products will remain beautiful for many years if you properly care for them.
The DISTRIBUTOR does not recommend the use of harsh abrasive cleaners on any of its products. Harsh cleansers will damage the finish of your product. This warranty applies only to the original purchaser and
MAINTENANCE
▶ For daily maintenance, use a dry cloth.
▶ Never use abrasive cleaners or strong bleach, scrapers, metallic brushes, or other objects or any products which can graze or tarnish surfaces.
LIMITED 1 YEAR WARRANTY
This warranty extends only to the original owner-user for personal household use only. For commercial uses, additional limitations may apply.
- The DISTRIBUTOR warrants your satisfaction with each product. Should any product not meet your satisfaction due to a visual defect, simply return it to your retailer with the original packaging, PRIOR TO INSTALLATION, for a replacement.
- The DISTRIBUTOR warrants, products to be free from defects in workmanship and materials under normal use and service for a period of one (1) year.
- The DISTRIBUTOR will, at its election, repair, replace, or make appropriate adjustments where the DISTRIBUTOR optional inspection discloses any such defects occurring in normal usage within the warranty periods.
- Please note that the DISTRIBUTOR is not responsible for installation or removal costs.
- Modification of any product’s components may void the warranty. This warranty does not cover any claim arising from abuse, misuse, negligence, accident, improper installation, or operation on the part of the purchaser. This warranty is void if the DISTRIBUTOR’s product is subject to alterations, or if repairs were done to the product.
- This warranty does not extend to any components installed by dealers, installers, or by any party other than the DISTRIBUTOR.
- Implied warranties, including that of merchantability or fitness for a particular purpose, are expressly limited in duration to the duration of this warranty.
- The DISTRIBUTOR disclaims any liability for special, incidental, or consequential damages.
Questions, problems, need help?
Call our customer service department at
1-866-839-2888, 8 a.m. – 5 p.m., EST, Monday – Friday
[email protected]
www.Ovedecors.com

SAFETY INFORMATION
















