
Cara Medium Sculpted Pendant
Item # RL5041
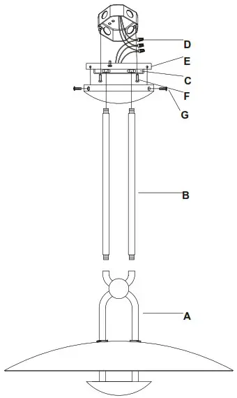
ASSEMBLY INSTRUCTIONS

NOTICE:
This light fixture should be installed in accordance with all applicable, local installation codes, and by a person familiar with the construction and operation of it, as well as the hazards involved. Inspect item and contents carefully. If any damage or defect is found, do not install. Retain all packaging material until installation is complete and approved.
- Carefully remove all parts from the box. Place on a clean, soft surface.
- Screw off the mounting plate (E) from the canopy by screws (G).
- Pass cord from fixture (A) through the tube (B) and thread the tube (B) to fixture (A).
- Put the canopy and mounting plate (E) throudh the tubes (B), fix the tubes to the mounting plate (E) with the nut (C).
- Connect the ground wire from fixture (A) to the ground wire from ceiling box.
IT IS IMPERATIVE THAT THIS FIXTURE BE GROUNDED. - Connect the hot wire from fixture (A) to the hot wire from ceiling box using wire nuts (D).
- Repeat this procedure for the neutral wire from the fixture to the neutral wire from ceiling box using wire nuts (D).
- DO NOT REVERSE THE HOT AND NEUTRAL CONNECTIONS OR SAFETY WILL BE COMPROMISED.
- Install the mounting plate (E) to the outlet box on the ceiling with screw (F).
- Install the canopy to the mounting plate (E) with screw (G).
- Installation is complete, turn on power at fuse or circuit breaker.
Care Instructions: Clean only with a soft dry cloth or feather duster. Do not use abrasive or chemical agents.
![]()



















