KICHLER 49964AVI Mill Lane 1 Light Outdoor Hanging Pendant Installation

CAUTION – RISK OF SHOCK
Disconnect Power at the main circuit breaker panel or main fusebox before starting and during the installation.
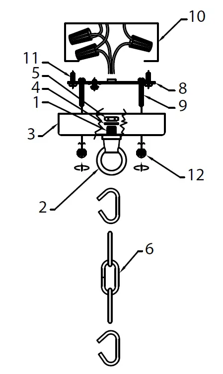
- Thread small threaded pipe[1] into end of second loop[2]. Pass threaded pipe on loop up through hole in canopy[3].
- Thread lockwasher[4] onto end of threaded pipe protruding from inside canopy.
- Thread hexnut[5] onto threaded pipe protruding from inside canopy.
- Attach one end of chain[6] to loop[7] on top of roof. Attach other end of chain to small loop on canopy.
- Weave electrical wire and ground wire through chain links no more than 3 inches apart.
- Find the appropriate threaded holes on mounting strap[8] that align with hole distance in canopy. Thread mounting screws[9] into threaded holes starting from outlet box[10] side.
- Attach mounting strap to outlet box with strap mounting screws[11]. Mounting strap can be adjusted to suit position of fixture.
- Grounding instructions: (See Illus. A or B).
- A) On fixtures where mounting strap is provided with a hole and two raised dimples. Wrap ground wire from outlet box around green ground screw, and thread into hole.
- B) On fixtures where a cupped washer is provided. Attach ground wire from outlet box under cupped washer and green ground screw, and thread into mounting strap. If fixture is provided with ground wire. Connect fixture ground wire to outlet box ground wire with wire connector. After following the above steps. Never con¬nect ground wire to black or white power supply wires.

- Note: When parallel wires (SPT I & SPT II) are used. The neutral wire is square shaped or ridged and the other wire will be round in shape or smooth (see illus.)
Connect Black or Red Supply Wire to: Connect White Supply Wire to:
Black White *Parallel cord (round & smooth) *Parallel cord (square & ridged) Clear, Brown, Gold or Black without tracer Clear, Brown, Gold or Black with tracer Insulated wire (other than green) with copper conductor Insulated wire (other than green) with silver conductor *Note: When parallel wires (SPT I & SPT II) are used. The neutral wire is square shaped or ridged and the other wire will be round in shape or smooth (see illus.) 
Neutral Wire
- Push fixture to ceiling, carefully passing mounting screws through holes in canopy.
- Thread lock-up knobs[12] onto mounting screws. Tighten knobs to secure fixture to ceiling.
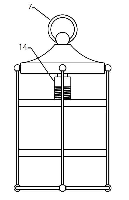
- Raise glass[13] up into fixture, pass the smaller opening of the glass over socket[14]. Rest the top of the glass against the pads in the fixture roof.
- Thread the socket ring[15] onto the socket. Tighten to secure
the glass in place. (Do not over-tighten). - Insert recommended bulb (Not supplied).



We’re here to help 866-558-5706 Hrs: M-F 9am to 5pm EST




















