tala CP-WHT-SML-WP-01-US Triple Pendant Installation Guide
Thoughtful lighting, responsibly designed in London.
Thank you for making the switch to Tala.
Discover the full Tala family at us.tala.co.uk
BEFORE STARTING
We advise the fitting of our canopy and pendants to be performed by a qualified electrician. Please read through these instructions before commencing work, and keep them for future reference. Please take extreme care when carrying out these instructions.
IMPORTANT
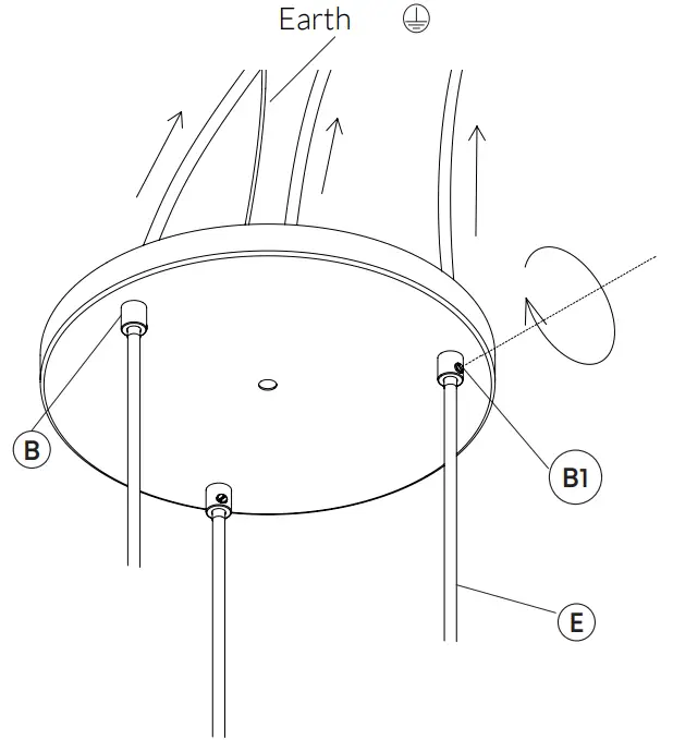
This light fitting must be connected to the supply earth.
If your lighting circuit does not have an earth, ask a qualified electrician to provide an earth facility. This light fitting is suitable for indoor use only. This fitting operates on 120V mains voltage. Please visit our website to see our recommended dimmers.
WARNING
Always switch off electricity supply at the mains during installation and maintenance. We recommend that the fuse is withdrawn or the circuit breaker is switched off whilst work is in progress. Do not just turn off at the wall switch. All fittings must be installed in accordance with current NFPA 70, National Electrical Code (NEC).
RECOMMENDED EQUIPMENT
- Small flat head screwdriver
- Wire strippers
- Insulation tape
- M10 (17mm) (5/8IN) wrench or Adjustable wrench
Further equipment may be required for fixing to your ceiling.
FOR INDOOR USE ONLY
SKU – CP-WHT-SML-WP-01-US
SKU – CP-WHT-SML-OP-01-US
SKU – CP-WHT-SML-GP-01-US
SKU – CP-WHT-SML-BP-01-US
SKU – CP-BLK-SML-GP-01-US
SKU – CP-BLK-SML-BP-01-US
SKU – CP-BLK-SML-OP-01-US
SKU – CP-BLK-SML-WP-01-US
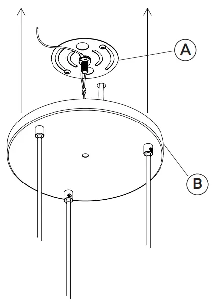
Triple Pendant – Provided Components



- A x1 Ceiling bracket
- B x1 Ceiling plate
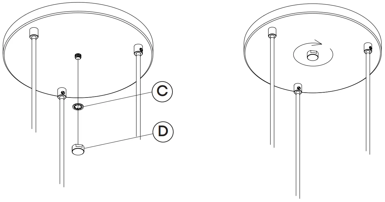
- C x1 M10, Internal tooth washer
- D x1 Nut
- E x3 Tala Pendants Oak, Walnut, Brass or Graphite
STEP 1
Attach A to the ceiling using screws and plug. Always choose screws and plugs that are appropriate for the ceiling.
STEP 2
Thread all three pendant cables E through ceiling plate cord grips B.
STEP 3
Pull pendant cables E through cord grips B to your desired length.
Using a flat head screwdriver, tighten set screws B1 to secure them.
STEP 4
Cut off excess cable and strip wires to expose the copper core. Maintain all double insulation.
STEP 5
Connect the pendants, plate and mains wiring as shown.
STEP 6
Move B up onto A. Use toothed washer C and nut D to secure it in place.
Secure by carefully tightening with the correct sized spanner.

STEP 7
Screw bulbs into pendants E clockwise.
PENDANT DISPLAY GUIDE
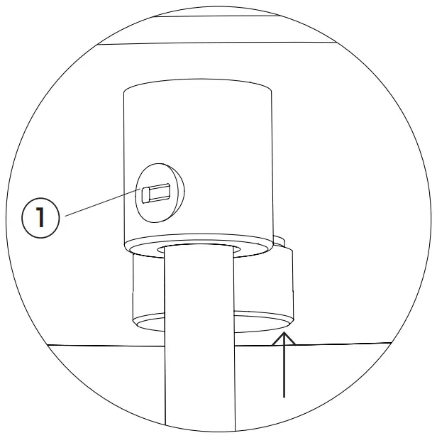
ADJUSTING THE CORD
To adjust the cord to your desired length, using a flat head screw driver, loosen the grub/set screw 1 and push the cable up into the ceiling plate.
Secure the cable in place by re-tightening the grub screw.
Maintain all double insulation.
MINIMUM CORD LENGTH A
For all bulbs shortest recommended cord length is 14 in
DISTANCE BETWEEN PENDANTS B
Recommended minimum distance between pendant, dependant on bulb style, are as follows:
Voronoi I – 6 in
Voronoi II – 8 in
Voronoi III – 14 in
Sphere IV – 6 in
All other bulbs – 4 in

PENDANTS – RECOMMENDED CABLE LENGTHS
SCENARIO 1
Above a coffee or dining table, or where height is required for seated tasks
SCENARIO 2
Above side tables, or where height is required for storage
SCENARIO 3
Above a kitchen island or bar, or where height is required for standing tasks
SCENARIO 4
Above a stairwell or walkway, or where height is required for walking underneath.
WARRANTY AND AFTER-CARE
This product has a two-year warranty. If there appears to be a functional defect with the product during this time, please contact our team at [email protected].
Please note, the flexible cable attached to this luminaire cannot be replaced; if the cable is damaged, recycle the luminaire and seek a replacement.
Join the Community
Instagram: @tala | Facebook: talaHQ | Pinterest: TalaLED | Tag: lighttoliveby
Tala Energy Ltd. 25B Vyner Street, London, E2 9DG | [email protected]
Tala North America, Inc. 2 Research Place, Suite 300, Rockville, MD 20850




















