tala LP-WHT-BP-01-US Linear Triple Pendant Light

BEFORE STARTING
We recommend the installation of this light fitting is performed by a qualified electrician. Please read the instructions before commencing work, and keep them for future reference. Take extreme care when carrying out these instructions.
IMPORTANT
This light fitting must be connected to the supply earth. If your lighting circuit does not have earth, ask a qualified electrician to provide an earth facility. This light fitting is suitable for indoor use only. This fitting operates on 120V mains voltage. Please visit our website to see our recommended dimmers.
WARNING: Always switch off the electricity supply at the mains during installation and maintenance. We recommend that the fuse is withdrawn or the circuit breaker is switched off whilst work is in progress. Do not just turn it off the wall switch. All fittings must be installed in accordance with current NFPA 70, National Electrical Code (NEC).
RECOMMENDED EQUIPMENT
- Small flat head screwdriver
- Wire strippers
- Insulation tape
- 17mm wrench or adjustable wrench
Further equipment may be required for fixing your ceiling
LINEAR TRIPLE PENDANTS – PROVIDED COMPONENTS

- x1 Ceiling Bracket
- x1 Linear Canopy pre-wired with three Tala Pendants
- x2 M10, Internal tooth washer
- x2 Nut
- Screws and Rawl Plugs (Always use screws and plugs that are appropriate to the ceiling)
INSTRUCTION
- Attach to the ceiling using screws and plugs. Always choose screws and plugs that are appropriate for the ceiling.

- Using the carabiner clips, attach to and allow the canopy to hang on the suspension cables.
- Pull pendant cables through cord grips to your desired length. Using a flat head screwdriver, tighten set screws to secure them.

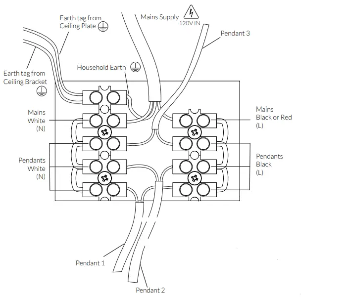
- If necessary, cut off excess cable and strip wires to expose the metal core. Then, re-wire pendants into the Ceiling plate. Maintain all double insulation. Connect the Ceiling Bracket to the Mains Electricity as shown.

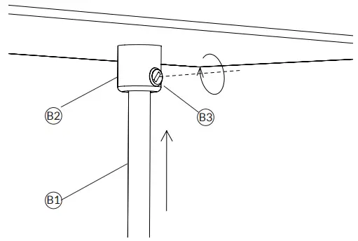
- Move up onto and secure using the and as shown.

- Screw in bulbs clockwise into the pendants.

PENDANT DISPLAY GUIDE

MINIMUM CORD LENGTH
For all bulbs shortest recommended cord length is 14 in
PENDANTS – RECOMMENDED CABLE LENGTHS
- Above a kitchen island or bar, or where height is required for standing tasks

- Above a coffee or dining table, or where height is required for seated tasks

- Above a stairwell or walkway, or where height is required for walking underneath.

CARE AND CLEANING
We recommend cleaning with a soft dry cloth. Do not use abrasive materials as these will damage the finish of the product. Do not use alcohol or other solvents.
WARRANTY AND AFTER-CARE
This product has a two-year warranty. Within this time we will replace any parts that have functional defects. Please report any faults by emailing: [email protected]
REGISTER YOUR PRODUCT
Extend your warranty on this product to up to five years – free of charge. Scan the QR code below to register:
Join the Community
- [email protected]
- Instagram: @tala
- Facebook: talaHQ
- Pinterest: TalaLED
- Tag: lighttoliveby
Tala North America, Inc. P.O. Box 89, 1051 Port Washington Blvd. Port Washington, NY 11050


























