AQUALINE YR800 ARLEN Quarter-Circle Shower Screen Instruction Manual
Tools


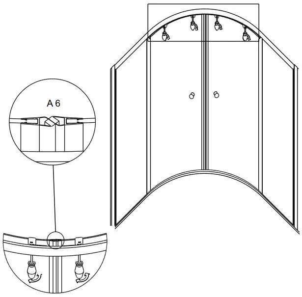
Assembly Instruction







AQUALINE YR800 ARLEN Quarter-Circle Shower Screen Instruction Manual









Download manual
Here you can download full pdf version of manual, it may contain additional safety instructions, warranty information, FCC rules, etc.