AQUABATOS FSP204 Shower Cubicle Corner Shower

dowels, ensure that no electricity, water or gas pipes pass in the wall at this place. It is very dangerous to drill into such pipes and may result in serious property damage! The shower walls are designed for mounting on solid (resistant) walls and ceilings. For a other use it is important that the stability conditions on site are sufficient (e.g. use of special dowels). Use silicone in depending on the nature of the materials (eg silicone for marble).
Before mounting the shower screen, check immediately for transport damage or any other damage. Essential, also for your own safety, is the control of the glass part. Small splinters from the glass edges can also cause damage lead to glass breakage. That is why the glass and the glass edges are allowed during assembly and use of the shower screen are not damaged. Can after installation Unfortunately, damage reports will no longer be processed. Damage and costs resulting from improper assembly, maintenance, cleaning and use we cannot accept. Personal protective clothing recommended!
Shower screens are designed for installation on shower trays. For other applications make sure to create an equal situation while paying attention water tightness, slope and difference in level with regard to the type of shower screen and the applicable installation guidelines. You must be sure when mounting on the joint of a watertight sound joint. For bottom-free mounting, please be sure of le have taken measures against he! slide off the screen. For hey! drilling the holes in the wall, checking the wall for pipes of water, gas, electricity or otherwise. Drilling into pipes results in material damage result and can be life-threatening. Shower screens are intended for assembly on solid walls/walls. For other applications, please be sure using the right materials, such as hollow wall plugs, for example (not included) or extra reinforcement in the wall constructions or roof boarding against which to mount. Are you using the correct one for your application? silicone sealant for the right surface. Note the special applications natural stone and marble.
TOOL LIST
| DESCRIPTION | BILD |
| Measuring Tape | ![]() |
| level | ![]() |
| Rigid | ![]() |
| 06mm drill | ![]() |
| 03mm drill | ![]() |
| drilling machine | ![]() |
| Flat Head Screwdriver | ![]() |
| cross screwdriver | ![]() |
| Hammer | ![]() |
| silicone syringe | ![]() |
CANNES Walk in shower revolving door to fixed panel

ASSEMBLY INSTRUCTIONS – DRAWING

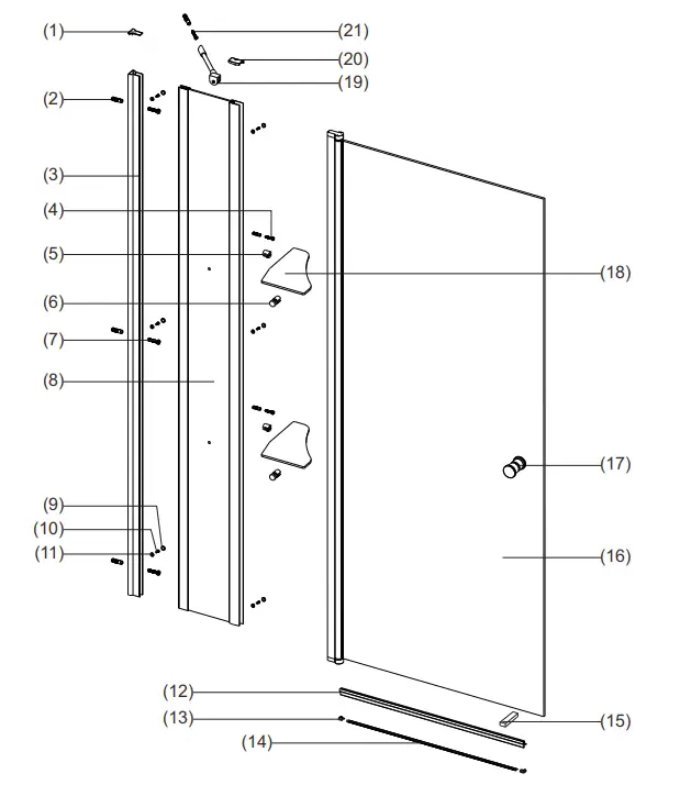
- 1x wall profile cover cap
- 6x dowels
- 1x wall profile
- 2x pan head screw ST 3.5×30
- 2x glass clamp A
- 2x glass clamp B
- 3x round head screw ST 4×30
- 1x Fixed Plate
- 6x screw cover cap
- 6x round head screw ST 4×12
- 6x screw cap terminals
- 1x bottom seal
- 2x end cover L&R
- 1x Drip Bar
- 1x wood spacer
- 1x Movable Plate
- 1x handle
- 2x shower tray
- 1x Stabilizer Bar
- 2x vertical profile cover cap B L&R
- 1x pan head screw ST 4×30
INSTALLATION GUIDE
If you need assistance, we recommend that you contact a competent contact plumber.
Step 1

Step 2

Step 3

Step 4

Step 5

Step 6

Step 7

Step 8

Step 9

Silicone must dry for 24 hours before use. Silicone only on the outer edge.






























