EDGE 12 Corner Shower
Instruction Manual

COMPONENTS


SAFETY REGULATIONS
This product complies with standard EN 14428.
All glass is tempered safety glass according to EN12150.
![]()
Goggles are recommended to protect your eyes.
![]()
Always use non-slip safety gloves.
![]()
Use safety shoes during installation.
![]()
We recommend that two persons are present at the installation.
![]()
Note! Always set the glass down on a soft foundation, since the edges and corners are very delicate.
![]()
INSTALLATION

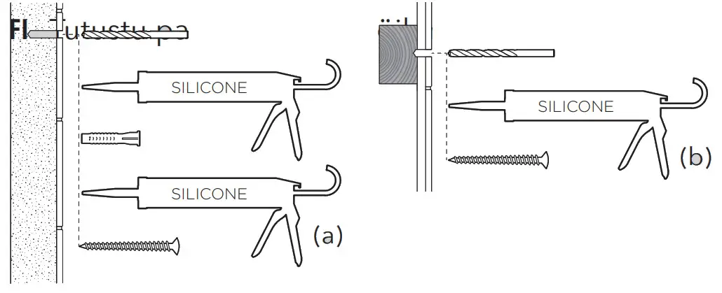
Screw fastenings should be made in concrete or other solid structure (a), wooden studs, wooden noggings (b), or in structures that have been tested and approved for fastenings, for example, a sheet construction (c). Requirements for sealing apply in wet zones 1 and 2. See examples of construction at säkervatten.se.
Sealing materials must be fixed to the underlying layer and must be waterproof, mold-resistant, and age-resistant.

Did you know that it’s possible to glue the shower to the wall using our product SAFE-FIX Shower? Read more and watch the instruction clip at www.inr.se
2 Holes in the inside of the shower



WARRANTY
On all shower enclosures in the EDGE, ARC, EPIC, and LINC series, we leave a 15-year warranty against any manufacturing defects. On BRIC and BASIC models, we leave a year warranty. Sealing strips and magnetic strips are not covered by the warranty but are considered consumables. We recommend that the strips are replaced annually to remain fresh.
CARE ADVICE
Clean daily with water and a squeegee. To combat ingrained dirt, you are recommended to use a detergent intended for the purpose. Remember that sponges and abrasive paste cleaners can scratch both glasses as well as metal.
RECYCLING
- Wear protective goggles and gloves.
- Separate the sealing strip from the glass.
- Place some form of protection under the glass.
- Separate the profiles from the glass.
- Strike one corner with a hammer to break the glass.
• Take glass to the glass recycling facility
• Take aluminum and screws to the metal recycling facility.
• Take plastic strips and components to the plastic recycling facility.

INR Norge
Fjordgaten 13 A
3125 Tønsberg
Norge
Tel +47 33 33 02 00
[email protected]
www.inr.no



















