STAYER CP L20 Cordless Circular Saw Instruction Manual

| CP125 | CP190D | CP236 | SCP 125 DIAMANT | CH185C | |||
![]() | W | 1400 | 1600 | 2000 | 1400 | 1300 | |
![]() | min-1 | 12000 | 5500 | 4500 | 13800 | 4500 | |
![]() | (AxB)mm | 125×22.2 | 190×30 | 235×25.4 | 125 x 22.2 | 185×16 | |
![]() | º | 0-45 | 0-45 | 0-45 | 0 – 45 | 45 | |
![]() | mm | 40 | 66 | 85 | 35 | 0-65 | |
![]() | mm | 34 | 44 | 58 | 22 | 0-44 | |
![]() | Kg | 3.3 | 4 | 7.2 | 3.8 | 4.8 | |
![]() | K=3db | LPA dB(A) | 98 | 95 | 97 | 97 | 97 |
| LWA dB(A) | 111 | 106 | 110 | 110 | 110 | ||
![]() | K=1.5 m/s2 | ah m/s2 | <2.5 | <2.5 | <2.5 | <2.5 | <2.5 |
| CP L20 | ||||
![]() | V | 18V/* | ||
![]() | min-1 | 4200 | ||
![]() | (AxB)mm | 165×20 | ||
![]() | º | 0-45 | ||
![]() | 90º | mm | 50 | |
![]() | mm | 35 | ||
![]() | Kg | 3.2 | ||
![]() | K=3db | LPA dB(A) | 96 | |
| LWA dB(A) | 110 | |||
![]() | K=1.5 m/s2 | ah m/s2 | <2.5 | |
EN 62841-1 K= 3dB (L , L ) K = 1,5 m/s2 (a )
General Power Tool Safety Warnings
Work area safety
a) Keep work area clean and well lit. Cluttered or dark areas invite accidents.
b) Do not operate power tools in explosive atmospheres, such as in the presence of flammable liquids, gases or dust. Power tools create sparks which may ignite the dust or fumes.
c) Keep children and bystanders away while operating a power tool. Distractions can cause you to lose control.
Electrical safety
a) Power tool plugs must match the outlet. Never modify the plug in any way. Do not use any adapter plugs with earthed (grounded) power tools. Unmodified plugs and matching outlets will reduce risk of electric shock.
b) Avoid body contact with earthed or grounded surfaces, such as pipes, radiators, ranges and refrigerators. There is an increased risk of electric shock if your body is earthed or grounded.
c) Do not expose power tools to rain or wet conditions. Water entering a power tool will increase the risk of electric shock.
d) Do not abuse the cord. Never use the cord for carrying, pulling or unplugging the power tool. Keep cord away from heat, oil, sharp edges or moving parts. Damaged or entangled cords increase the risk of electric shock.
e) When operating a power tool outdoors, use an extension cord suitable for outdoor use. Use of a cord suitable for outdoor use reduces the risk of electric shock.
f) If operating a power tool in a damp location is unavoidable, use a residual current device (RCD) protected supply. Use of an RCD reduces the risk of electric shock.
Personal safety
a) Stay alert, watch what you are doing and use common sense when operating a power tool. Do not use a power tool while you are tired or under the influence of drugs, alcohol or medication. A moment of inattention while operating power tools may result in serious personal injury.
b) Use personal protective equipment. Always wear eye protection. Protective equipment such as dust mask, nonskid safety shoes, hard hat, or hearing protection used for appropriate conditions will reduce personal injuries.
c) Prevent unintentional starting. Ensure the switch is in the off-position before connecting to power source and/ or battery pack, picking up or carrying the tool. Carrying power tools with your finger on the switch or energising power tools that have the switch on invites accidents.
d) Remove any adjusting key or wrench before turning the power tool on. A wrench or a key left attached to a rotating part of the power tool may result in personal injury.
e) Do not overreach. Keep proper footing and balance at all times. This enables better control of the power tool in unexpected situations.
f) Dress properly. Do not wear loose clothing or jewellery. Keep your hair, clothing and gloves away from moving parts. Loose clothes, jewellery or long hair can be caught in moving parts.
g) If devices are provided for the connection of dust extraction and collection facilities, ensure these are connected and properly used. Use of dust collection can reduce dustrelated hazards.
h) Do not allow the confidence gained from frequent use of tools to cause you to ignore general safety principles. One careless action can result in serious injury in a fraction of a second.
i) Keep handles and gripping surfaces dry, clean and free of oil and grease. Slippery handles and gripping surfaces do not allow a secure grip and control of the tool in unexpected situations.
Power tool use and care
a) Do not force the power tool. Use the correct power tool for your application. The correct power tool will do the job better and safer at the rate for which it was designed.
b) Do not use the power tool if the switch does not turn it on and off. Any power tool that cannot be controlled with the switch is dangerous and must be repaired.
c) Disconnect the plug from the power source and/or the battery pack from the power tool before making any adjustments, changing accessories, or storing power tools. Such preventive safety measures reduce the risk of starting the power tool accidentally.
d) Store idle power tools out of the reach of children and do not allow persons unfamiliar with the power tool or these instructions to operate the power tool. Power tools are dangerous in the hands of untrained users.
e) Maintain power tools. Check for misalignment or binding of moving parts, breakage of parts and any other condition that may affect the power tool’s operation. If damaged, have the power tool repaired before use. Many accidents are caused by poorly maintained power tools.
f) Keep cutting tools sharp and clean. Properly maintained cutting tools with sharp cutting edges are less likely to bind and are easier to control.
g) Use the power tool, accessories and tool bits etc. in accordance with these instructions, taking into account the working conditions and the work to be performed. Use of the power tool for operations different from those intended could result in a hazardous situation
Safety Warnings for Circular Saws
Cutting procedures
- DANGER: Keep hands away from cutting area and the blade. Keep your second hand on auxiliary handle, or motor housing. If both hands are holding the saw, they cannot be cut by the blade.
- Do not reach underneath the workpiece. The guard cannot protect you from the blade below the workpiece.
- Adjust the cutting depth to the thickness of the workpiece. Less than a full tooth of the blade teeth should be visible below the workpiece.
- Never hold piece being cut in your hands or across your leg. Secure the workpiece to a stable platform. It is important to support the work properly to minimize body exposure, blade binding, or loss of control.
- Hold the power tool by insulated gripping surfaces only, when performing an operation where the cutting tool may contact hidden wiring or its own cord. Contact with a “live” wire will also make exposed metal parts of the power tool “live” and could give the operator an electric shock.
- When ripping, always use a rip fence or straight edge guide. This improves the accuracy of cut and reduces the chance of blade binding.
- Always use blades with correct size and shape (diamond versus round) of arbour holes. Blades that do not match the mounting hardware of the saw will run eccentrically, causing loss of control.
- Never use damaged or incorrect blade washers or bolt. The blade washers and bolt were specially designed for your saw, for optimum performance and safety of operation.
- Kickback causes and related warnings
- Kickback is a sudden reaction to a pinched, bound or misaligned saw blade, causing an uncontrolled saw to lift up and out of the workpiece toward the operator;
- When the blade is pinched or bound tightly by the kerf closing down, the blade stalls and the motor reaction drives the unit rapidly back toward the operator;
- If the blade becomes twisted or misaligned in the cut, the teeth at the back edge of the blade can dig into the top surface of the wood causing the blade to climb out of the kerf and jump back toward the operator.
Kickback is the result of saw misuse and/or incorrect operating procedures or conditions and can be avoided by taking proper precautions as given below.
- Maintain a firm grip with both hands on the saw and
position your arms to resist kickback forces. Position your body to either side of the blade, but not in
line with the blade. Kickback could cause the saw to
jump backwards, but kickback forces can be controlled
by the operator, if proper precautions are taken. - When blade is binding, or when interrupting a cut for any reason, release the trigger and hold the saw motionless in the material until the blade comes to a complete stop. Never attempt to remove the saw from the work or pull the saw backward while the blade is in motion or kickback may occur. Investigate and take corrective actions to eliminate the cause of blade binding.
- When restarting a saw in the workpiece, centre the saw blade in the kerf and check that saw teeth are not engaged into the material. If saw blade is binding, it may walk up or kickback from the workpiece as the saw is restarted.
- Support large panels to minimise the risk of blade pinching and kickback. Large panels tend to sag under their own weight. Supports must be placed under the panel on both sides, near the line of cut and near the edge of the panel.
- Do not use dull or damaged blades. Unsharpened or improperly set blades produce narrow kerf causing excessive friction, blade binding and kickback.
- Blade depth and bevel adjusting locking levers must be tight and secure before making cut. If blade adjustment shifts while cutting, it may cause binding and kickback.
- Use extra caution when sawing into existing walls or other blind areas. The protruding blade may cut objects that can cause kickback.
Lower guard function
- Check lower guard for proper closing before each use.Do not operate the saw if lower guard does not move freely and close instantly. Never clamp or tie the lower guard into the open position. If saw is accidentally dropped, lower guard may be bent. Raise the lower guard with the retracting handle and make sure it moves freely and does not touch the blade or any other part, in all angles and depths of cut.
- Check the operation of the lower guard spring. If the guard and the spring are not operating properly, they must be serviced before use. Lower guard may operate sluggishly due to damaged parts, gummy deposits, or a build-up of debris.
- The lower guard may be retracted manually only for special cuts such as “plunge cuts and angle cuts”. Raise the lower guard by retracting the handle and as soon as the blade enters the material, release the lower guard. For all other sawing operations, thelower guard should operate automatically.
- Always observe that the lower guard is covering the blade before placing saw down on bench or floor. An unprotected, coasting blade will cause the saw to walk backwards, cutting whatever is in its path. Be aware of the time it takes for the blade to stop after switch is released.
Additional safety warnings
WARNING
Laser radiation. Do not direct the laser beam towards the eyes. Class 2 laser product.
- Do not reach into the chip ejector with your hands. They could be injured by rotating parts.
- Do not work overhead with the saw. In this manner you do not have sufficient control over the power tool. – Use suitable detectors to determine if utility lines are hidden in the work area or call the local utility company for assistance. Contact with electric lines can lead to fire and electric shock. Damaging a gas line can lead to explosion. Penetrating a water line causes property damage or may cause an electric shock.
- Do not operate the power tool stationary. It is not designed for operation with a saw table.
- Do not use high speed steel (HSS) saw blades. Such saw blades can easily break.
- Do not saw ferrous metals. Red hot chips can ignite the dust extraction.
- When working with the machine, always hold it firmly with both hands and provide for a secure stance. The power tool is guided more secure with both hands.
- Secure the workpiece. A workpiece clamped with clamping devices or in a vice is held more secure than by hand.
Batteries use and care
Do not open the battery. Danger of short-circuiting. Protect the battery against heat, e. g., against continuous intense sunlight, fire, water, and moisture. Danger of explosion.
In case of damage and improper use of the battery, vapours may be emitted. Provide for fresh air and seek medical help in case of complaints. The vapours can irritate the respiratory system. Use the battery only in conjunction with your STAYER power tool. This measure alone protects the battery against dangerous overload.
Use only original STAYER batteries with the voltage listed on the nameplate of your power tool. When using other batteries, e. g. imitations, reconditioned batteries or other brands, there is danger of injury as well as property damage through exploding batteries. Do not continue to press the On/Off switch after the machine has been automatically switched off. The battery can be damaged.
The battery is equipped with a temperature control which allows charging only within a temperature range of between 0 °C and 45 °C. A long battery service life is achieved in this manner.
Observe the notes for disposal.
Use only the battery chargers listed on the accessories page. Only these battery chargers are matched to the lithium ion battery of your power tool.
The battery is supplied partially charged. To ensure full capacity of the battery, completely charge the battery in the battery charger before using your power tool for the first time.
The lithium-ion battery can be charged at any time without reducing its service life. Interrupting the charging procedure does not damage the battery.
The lithium-ion battery is protected against deep discharging. When the battery is empty, the machine is switched off by means of a protective circuit: The inserted tool no longer rotates.
Temperature Dependent Overload Protection When using as intended for, the power tool cannot be subject to overload. When the load is too high orthe allowable battery temperature range of 0–50 °C is exceeded, the speed is reduced. The power tool will not run at full speed until reaching the allowable battery temperature. position. Unintentional actuation of the On/ Off switch can lead to injuries.
Open the keyless chuck 2 by turning in rotation direction, until the tool can be inserted. Insert the tool. Firmly tighten the collar of the keyless chuck 2 by hand in rotation direction . This automatically locks the drill chuck.
The locking is released again to remove the tool when the collar is turned in the opposite direction.
Product Description and Specifications
Read all safety warnings and all instructions.
Failure to follow the warnings and instructions may result in electric shock, fire and/or serious injury
While reading the operating instructions, unfold the graphics page for the machine and leave it open.
Intended Use
The machine is intended for lengthways and crossways cutting of wood with straight cutting lines as well as mitre cuts while resting firmly on the workpiece. With suitable saw blades, thin-walled non-ferrous metals, e. g., profiles, can also be sawed.
This manual is consistent with the date of manufacture of your machine, you will find information on the technical data of the machine acquired manual check for updates of our machines on the website: www.grupostayer.com
Product Features


The numbering of the product features refers to the illustration of the machine on the graphics page.
- On/Off switch.
- Lock-off button for On/Off switch.
- Auxiliary handle (insulated gripping surface).
- Spindle lock button.
- Scale for mitre angle.
- Wing bolt for bevel-angle preselection.
- Wing bolt for parallel guide.
- Cutting mark, 45°.
- Cutting mark, 0°.
- Parallel guide.
- Retracting blade guard.
- Base plate.
- Lever for retracting blade guard.
- Chip ejector.
- Blade guard.
- Handle (insulated gripping surface).
- Key.
- Clamping bolt with washer.
- Clamping flange.
- Saw blade*.
- Mounting flange.
- Saw spindle.
- Laser guide on / off switch.
- Laser guide exit hole.
- Lever for preselection of cutting depth.
- Cutting depth scale.
Accessories shown or described are not part of the standard delivery scope of the product. A complete overview of accessories can be found in our accessories program.
Technical data
=Voltage
= Battery power
= Load speed.
= Disc dimension.
= Cutting capacity 90º
= Cutting capacity 45º
= Weight.
= Sound power level.
= Sound pressure level.
= Vibration.
Noise/Vibration Information
Sound emission values determined according to EN 62841-1
Wear hearing protection!
The vibration level given in this information sheet has been measured in accordance with a standardised test given in EN 62841-1 and may be used to compare one tool with another.
It may be used for a preliminary assessment of exposure. The declared vibration emission level represents the main applications of the tool. However if the tool is used for different applications, with different accessories or insertion tools or is poorly maintained, the vibration emission may differ. This may significantly increase theexposure level over the total working period. An estimation of the level of exposure to vibration should also take into account the times when the tool is switched off or when it is running but not actually doing the job. This may significantly reduce the exposure level over the total working period.
Identify additional safety measures to protect the operator from the effects of vibration such as: maintain the tool and the accessories, keep the hands warm, organistion of work patterns.
Assembly


Mounting/Replacing the Saw Blade
- Before any work on the machine itself, disconnect the battery.
- When mounting the saw blade, wear protective gloves. Danger of injury when touching the saw blade.
- Only use saw blades that correspond with the characteristic data given in the operating instructions.
- Do not under any circumstances use grinding discs as the cutting tool.
Removal of the Saw Blade (see figure A)
For changing the cutting tool, it is best to place the machine on the face side of the motor housing
- Press the spindle lock button 4 and keep it pressed.
- The spindle lock button 4 may be actuated only when the saw spindle is at a standstil
Otherwise, the power tool can be damaged.
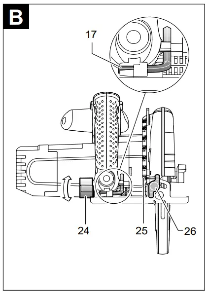
- With the key 17, unscrew the clamping bolt 18 turning in rotation direction 1.
- Tilt back the retracting blade guard 11 and hold firmly.
- Remove the clamping flange 19 and the saw blade 20 from the saw spindle 22.
Mounting the Saw Blade (see figure A)
For changing the cutting tool, it is best to place the machine on the face side of the motor housing.
- Clean the saw blade 20 and all clamping parts to be assembled.
- Tilt back the retracting blade guard 11 and hold firmly.
- Place the saw blade 20 on to the mounting flange 21. The cutting direction of the teeth (direction or arrow on saw blade) and the direction-of-rotation arrow on the blade guard 15 must correspond.
- Mount the clamping flange 19 and screw in the clamping bolt 18 turning in rotation direction 2. Observe correct mounting position of mounting flange 21 and clamping flange 19. – Press the spindle lock button 4 and keep it pressed.
- With the key 17, tighten the clamping bolt 18 turning in rotation direction 2. The tightening torque is between 6–9 Nm, which corresponds to hand tight plus ¼ turn.
Dust/Chip Extraction
- Before any work on the machine itself, disconnect
the battery. - Dusts from materials such as lead-containing coatings, some wood types, minerals and metal can be harmful to one’s health. Touching or breathing-in the dusts can cause allergic reactions and/or lead to respiratory infections of the user or bystanders. Certain dusts, such as oak or beech dust, are considered as carcinogenic, especially in connection with wood-treatment additives (chromate, wood preservative). Materials containing asbestos may only be worked by specialists.
- As far as possible, use a dust extraction system suitable for the material.
- Provide for good ventilation of the working place.
- It is recommended to wear a P2 filter-class respirator. Observe the relevant regulations in your country for the materials to be worked.
- Prevent dust accumulation at the workplace. Dusts can easily ignite.
Operation
Operating Modes
- Before any work on the machine itself, disconnect the battery.
Adjusting the Cutting Depth (see figure C)
- Adjust the cutting depth to the thickness of the workpiece. Less than a full tooth of the blade teeth should be visible below the workpiece.
Loosen the clamping lever 24. For a smaller cutting depth, pull the saw away from the base plate 12; for a larger cutting depth, push the saw toward the base plate 12. Adjust the desired cutting depth at the cutting-depth scale. Tighten the clamping lever 24 again.
If the cutting depth cannot be fully adjusted after loosening clamping lever 24, pull clamping lever 24 away from the saw and swivel it downward. Release the clamping lever 24 again.
Repeat this procedure until the requested cutting depth can be adjusted.
If the cutting depth cannot be sufficiently locked after tightening clamping lever 24, pull clamping lever 24 away from the saw and swivel it upward. Release the clamping lever 24 again. Repeat this procedure until the cutting depth is locked.
Adjusting the Cutting Angle
Loosen the wing bolts 6. Tilt the saw sidewards. Adjust the desired measure on the scale 5. Tighten the wing bolts 6 again.
Note: For bevel cuts, the cutting depth is smaller than the setting indicated on the cutting-depth scale 26.
Cutting Marks
The 0° cutting mark 9 indicates the position of the saw blade for right-angled cuts. The 45° cutting mark 8 indicates the position of the saw blade for 45° cuts. For precise cuts, position the circular saw against the workpiece as shown in the figure. It is best to carry out a trial cut.
Laser guide
The laser guide is turned on by pressing button 23 and will remain on until pressed again.
- Mark the cut line on the work piece.
- Adjust the depth and / or bevel angles of the cut as necessary.
- Turn on the laser guide by pressing the on / off button 23 and align the cutting line on the workpiece.
- When the blade reaches its maximum speed (approx. 2 seconds), make the cut.
- At the end of the cut, turn off the laser guide, pressing again 23.
Starting Operation
Switching On and Off
To start the machine, first push the lock-off button for the On/Off switch 2 and then press the On/Off switch 1 and keep it pressed. To switch off the machine, release the On/Off switch 1. Note: For safety reasons, the On/Off switch 1 cannot be locked; it must remain pressed during the entire operation. To save energy, only switch the power tool on when using it.
Working Advice
Protect saw blades against impact and shock. Guide the machine evenly and with light feed in the cutting direction.
Excessive feed significantly reduces the service life of the saw blade and can cause damage to the power tool. Sawing performance and cutting quality depend essentially on the condition and the tooth form of the saw blade. Therefore, use only sharp saw blades that are suited for the material to be worked.
- Before any work on the machine itself, disconnect the battery
Sawing Wood
The correct selection of the saw blade depends on the type and quality of the wood and whether lengthway or crossway cuts are required. When cutting spruce lengthways, long spiral chips are formed. Beech and oak dusts are especially detrimental to health. Therefore, work only with dust extraction.
Sawing with Parallel Guide
The parallel guide 10 enables exact cuts along a workpiece edge and cutting strips of the same dimension. Loosen wing bolt 7 and slide the scale of the parallel guide 10 through the guide in the base plate 12. Adjust the desired cutting width as the scale setting at the respective cutting mark 9 or 8; see Section “Cutting Marks”. Tighten wing bolt 7 again.
Sawing with Auxiliary Guide
For sawing large workpieces or straight edges, a board or strip can be clamped to the workpiece as an auxiliary guide; the base plate of the circular saw can be guided alongside the auxiliary guide.
Repair service
Our after-sales service responds to your questions conceming maintenance and repair ofyour product as well as spare parts. Exploded views and information on spare parts can also be found under: [email protected] Our customer consultants answer your questions conceming best buy, application and adjustment of productsand accessories
Transport
The contained lithium-ion batteries are subject to the Dangerous Goods Legislation requirements. The user can transport the batteries by road without further requirements. When being transported by third parties (e.g.: air transport or forwarding agency), special requirements on packaging and labelling must be observed. For preparation of the item being shipped, consulting an expert for hazardous material is required. Dispatch batteries only when the housing is undamaged. Tape or mask off open contacts and pack up the battery in such a manner that it cannot move around in the packaging. Please also observe possibly more detailed national regulations.
Disposal and recycling
The machine, accessories and packaging should be sorted for environmental-friendly recycling. OnlyforEC countries:
Do not dispose of power tools into household waste!
According the European Guideline 2012/19/ UE for Waste Electrical and Electronic Equipment and its implementation into national right,power tools that are no longer usable must be collected separately and disposed of in an environmentally correct manner.
Battery packs/batteries:
Li-Ion:
Please observe the instructions in section “Transport”. Do not dispose of battery packs/batteries into household waste, fire or water. Battery packs/ batteries should be collected, recycled or disposed of in an environmental friendly manner. Only for EC countries: Defective or dead out battery packs/batteries must be recycled according the guideline 2006/66/CE.
Subject to change wlthout notlce
WARRANTY GENERAL CONDITIONS
In STAYER IBERICA S.A. (from now on “STAYER”), strict control processes are conducted to comply with the security and quality required.
To understand the application area of this text, we differentiate the following users:
- Users or consumers, as private individuals whose acts are not related to their main comercial, businessactivity or their main profession or trade. Legal persons and entities without legal personality which act with non-profit means in an unrelated comercial or corporate enviroment.
- Professionals, whom obtain comercial, business or working profits by using any STAYER product. STAYER offers a guarantee for all of its power tools, garden tools and welding tools, subject to the following conditions:
- STAYER offers a 36 month guarantee against manufacturing defects or consistency issues, bearing in mind that any issue must be easily visible or provable, as the product will be tested at our labs to verify said issues. If the product has been subjected to industrial or professional use, said guarantee will cover exclusively 12 months since the first buyer aquired the product.
- The following cases are exempt from the guarantee:
a. Any kind of defect or malfunctioning caused by not applying the safety and maintenance instructions given in the User’s guide.
b. Any damage caused by using other brand’s accessories, incompatible accessories with the toolmodel or faulty accessories.
c. Any manipulation, modification or repair conducted by staff unrelated to STAYER or its associated Technical Support Services.
d. Products with minimal deviations from the features that do not impact on the tool’s optimal performance and its value.
e. Products which have been connected to a different voltage tenssion grid than the one stated on the tool’s features, causing an electrical failure.
f. Products or components which have suffered wear due to the normal use of the tool, being said components consumables, accessories or components subject to wear that must be replaced by the owner.
g. Products that show any kind of misuse or application which deviates from its original intended uses, listed in the Users guide.
h. Products that show lack of correct maintenance from the owner. The owner is responsible for the tool’s maintenance in order to preserve its service life.
i. Accessories and tool consumables, as their intended use has a limited service life that includes weak. - In order to claim the guarantee rights, the tool owner must first fill the repair order either digitally or physically, and process it with the tool’s vendor or the Authorized Technical Support Services before shipping the tool. A copy of the purchase receipt or invoice must be attached to the form where the purchase date can clearly be seen. Shipping costs are not included if the product is delivered to the vendor or the Technical Support Services without processing the repair form first.
- If the Authorized Technical Support or STAYER is unable to locate the defect or issue, STAYER will not assume the shipping costs, nor the costs derived from testing the tool to locate the issue.
- Guarantee transfer is completely forbidden, the guarantee does not cover second-hand products.
- During the guarantee application due to manufacturing defects or consistency issues, the product will remain under STAYER’s custody in its facilities or its Authorized Technical Support Services. During this period of time the tool’s owner is not entitled to receive a substitution tool in place of the product that is being repaired.
- In order to correct the manufacturing defects or consistency issues contemplated in the guaranteeterms, STAYER will only repair or substitute all the necessary components free of charge in order for the tool to perform according to the quality and safety standards. STAYER withholds the right to substitute the product for a similar one in cases where reparations would not be possible.
You can find this information in other languages at:
https://www.stayer.en/
Costumer Support
Área Empresarial Andalucía – Sector 1
C/ Sierra de Cazorla, 7
28320 – Pinto (Madrid) SPAIN
Email: [email protected]
Email: [email protected]



































