MX21038-P3BK
OPERATIONS MANUAL
Assembly & Installation Instructions
Dear Customer: Thank you for your business! If you have any question or problem, please send us an email to [email protected] call us at 870-949-8466. We will ing possible to make you complet atisfied with your purchase. Produrws help future customers to make their purchase decision. You are enco ed to share your experience by lead ort product review on the platform w ou bought this product. ank you! Zgear Team
Warning: If any special control devices are used with this fixture, follow the instructions carefully to assure full compliance with N.E.C. requirements If there are any questions, contact a qualified electric contractor.
Warning: California Residents Proposition 65 This product contains lead, a chemical known to the state of California to cause cancer and birth defects or other reproductive harm. Do not place the product in your mouth. Wash your hands after handling this product.
Caution: It is highly recommended to get an electrician to install this light. Please make sure to turn the electricity off at the main circuit breaker before beginning installation. All glass is fragile. Use care when handling glass component(s) and/or lamp(s)
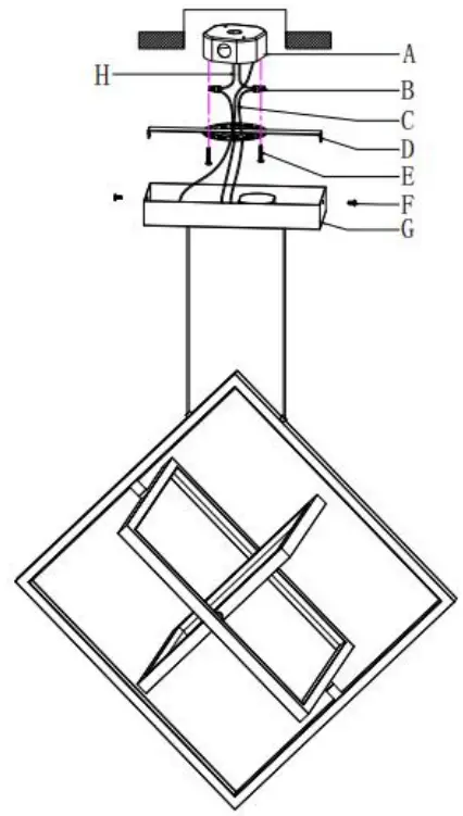
Assembly Steps
- D. E -A
- C. H – B
- G. F – D
WIRE CONNECTION DIAGRAM
Wires meeting safety standards are required to connect the electical circuit
CAUTION: Risk of fire
Please read all instructions carefully. Before you proceed to install,vmake sure that the power suppl’ is turned off and remains off until installation is completed.
PARTS INCLUDED
| Code | Part description | QTY |
| A | Junction box | 0 |
| B | Wire nuts | 3 |
| C | Wires | 2 |
| D | Mounting bracket | 1 |
| E | Studs | 2 |
| F | Screws | 2 |
| G | Canopy | 1 |
| H | Wire | 0 |















