LEISTER EXAMO 100 Testing Device User Guide
Operating Instructions
(Translation of the Original User Manual)
Congratulations on the purchase of your EXAMO 100
You have chosen a first-class tester. It was developed and produced in accordance with the latest technology in the plastics-processing industry.
We recommend that you always keep the instruction manual with the device.
EXAMO 100
Testing Device
You can find more information about the EXAMO 100 testerat leister.com
Important Safety Instructions
Warning
Keep handles and grip surfaces dry,clean and free from oil and grease. Slippery handles and grip surfaces do not permit safe operation and control of the device in unforeseen situations.
The device should only be operated only by trained specialists or under their supervision. Children are not permitted to operate the device.
You need acordless drill to operate the EXAMO 100. Read the operating instructions of the manufacturer and observe its warning and safety instructions.
Application
Intended use
The EXAMO 100 tensile tester is intended for professional use and is used for destructive testing of weld seam quality.
The EXAMO 100 tensile tester is to be used for testing plastic membranes made of PE-HD and PE-LD with a thickness of 0.5–3.0mm and a maximum width of 25mm.
To use the EXAMO 100 testing device , acordless drill with bit holder equipped with a gear selector switch for the slow speed stage is required.
Non-intended use
Any other use orany use beyond the type of use described is deemed non-intended use.
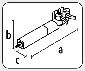
Technical Data
| EXAMO 100 | ||
Distance | mm | 100 |
Spindle pitch | mm/rotation | 0.75 |
Weigh | kg lbs | 1.4 3.1 |
Dimensions![]() | a) mm inch | 283 11.1 |
| b) mm inch | 73 2.8 | |
| c) mm inch | 50 1.9 | |
Subject to change without prior notice.
Your EXAMO 100 Testing Device
Type plate and identification
The type designation and the series identification are marked on the type plate (6) of the device asattached. Please transfer this information to your instruction manual. In the event of any inquiries to our representatives or authorized Leister Service Centers, please always refer to this information.
Model: ———————————
Serial no: ——————————-
Example:
Scope of delivery (standard equipment in the storage box)
- 1 × EXAMO 100 device
- 1 × Bit holder
- 1 × Original Quick Guide
- 1 × Safety instructions
Overview of device parts
- Hexagonaladapter (connection for cordless drill with bit holder)
- Handle
- Clamping jaws
- Clamping lever
- Clamping slide
- Type plate
Commissioning the EXAMO 100
Work environment and safety
Warning
Hold the testing device with one hand by the handle provided. Incorrect handling can lead to injuries. The cordless drill may only be switched on when the testing device is being held by the handle.
Keep handles and grip surfaces dry,clean and free from oil and grease. Slippery handles and grip surfaces do not permit safe operation and control of the device in unforeseen situations.
Start the testing process with a slow rotating movement. During afast start-up, high action torque can occur forashort time and lead to injuries. Use acordless drill that can run at slow speeds.
Switch off the cordless drill immediately if the testing device jams. Be prepared for reaction torque that cause a backlash. The testing device may jam if not used as intended.
Always use a bit holder for the connection between the cordless drill and the testing device. A tight connection withouta bit holder can lead to unexpected movements when operating the cordless drill.The bit holder ensures easyand quick separation of the drive from the testing device.
Watch out for possible hazards in the area such as e. g. risk of tripping, slipping, strong sunlight, unattended devices, etc.
The device should only be operated only by trained specialists or under their supervision. Children are not permitted to operate the device.
Read the operating instructions of the cordless drilland screwdriver manufacturer and observe its warning and safety instructions.
Preparation and operation
- The cordless drill/driver must be equipped with a bit holder.
- Set the gear selector switch of the cordless drill to the slowest setting.
- The test piece (coupon) must be prepared so that it does not have any unclean cuts or damage. Ideally, the test piece is punched with the COUPON CUTTER 500 from Leister.
Testing with EXAMO 100
- Set distance between the clamping jaws (3) to approx. 15mm.The distance can be adjusted by turning the hexagonal adapter (1).When rotating clockwise, the clamping jaws (3) move apart. When rotating counterclockwise, the clamping jaws (3) move together.
- Open the clamping jaws (3) with aid of the clamping lever (4)and insert the test piece.
- Press the clamping jaws (3) with aid of the clamping lever (4) briefly against the test piece.
- Hold the EXAMO 100 with one hand on the handle (2) with a firm grip.
- Take acordless drill equipped with a bit holder in your free hand and insert the hexagonal adapter (1) into the bit holder.
- Set the direction of rotation of the cordless drill to clockwise.
- Press the on/off switch and pull the test coupon apart at a steady speed until it breaks. If the weld is correct, the fracture point of the test coupon is outside the welding seams.
- After breaking the test coupon, adjust the direction of rotation of the cordless drill counterclockwise and move the clamping slide (5) back to the starting position.
- Remove cordless drill with bit holder.
- Open the clamping jaws (3) with aid of the clamping lever (4)and remove the remains of the test coupon.
Quick Guide EXAMO 100
The safety instructions in section 5 must be observed when using the device!
- Set distance between the clamping jaws (3) (approx. 15mm)and clamp test piece.

- Connect the cordless drill incl. bit holder to the EXAMO 100 and pull out the test coupon.

- Retract the clamping slide (5) to original position and remove cordless drill incl. bit holder.

- Remove the remnants of the test coupon.

Frequently Asked Questions, Causes And Measures EXAMO 100
Clamping slide (5) does not retract
| Causes | Action |
| The clamping slide (5) was moved too far outward (permitted distance 100mm). | Press clamping slide (5) in wards and at the same time turn the hexagonal adapter (1) counterclockwise until the spindle nut is connected to the spindle |
| The clamping slide (5) was moved too far inwards (minimum distance between the clamping jaws is 11mm). | The clamping slide (5) was moved too far inwards (minimum distance between the clamping jaws is 11mm). |
Maintenance
- Repairsare to be performed exclusively byauthorized Leister Service Centers.
- Leister Service Centers guarantee a professionaland reliable repair service within 24 hours with original spare parts in accordance with circuit diagramsand spare parts lists.
For more information please visit
Recommended maintenance intervals for the device:
| Period of time (operating hours) | Monitoring and maintenance work | Spare parts | Tools |
| After each use of the device | Smooth running of the spindle/spindle nut | Turn the hexagonal adapter (1) by hand | |
| After each use of the device | Suspension of the clamping jaws (5) | by hand |
If the device does not function according to the recommended maintenance intervals, the device must be repaired by an authorized Leister service center.
Declaration of Conformity
EU Declaration of Conformity
Leister Technologies AG, Galileo-Strasse 10, 6056 Kaegiswil, Switzerland confirms that this product fulfills the requirements of the following EU Guideline in the models that we have made available for purchase.
Directive: 2006/42/EC
Harmonized
standard: EN ISO 12100
Name of authorized representative for documentation: Thomas Schäfer, Manager Product Conformity.
Kaegiswil, 03/27/2023
Bruno von Wyl, CTO
Pascal Bösch, VP R&D
UK Declaration of Conformity
Leister Technologies AG, Galileo-Strasse10,6056Kaegiswil,Switzerland confirms that this product, in the versions as brought into circulation through us, fulfils the requirements of the following UK Statutory Instrument. UK Statutory
Instrument: 2008 No. 1597
Designated
Standard: EN ISO 12100
Kaegiswil, 03/23/2023
Bruno von Wyl, CTO
Pascal Bösch, VP R&D
Warranty
- The guarantee or warranty rights granted for this device by the direct distribution partner/salesperson apply from the date of purchase. In the event of a guarantee or warranty claim (verification by invoice or delivery note), manufacturing or processing errors will be rectified by the sales partner through replacement delivery or repair. Heating elements are excluded from warranty obligations or guarantees.
- Other guarantee or warranty claimsare excluded within the framework of mandatory law.
- Damage resulting from natural wear, overload, or improper handling is excluded from the warranty.
- Devices that have been converted or modified by the purchaserare not covered by any warranty or guarantee.
Costumer Support
Leister Technologies AG
Galileo-Strasse 10
6056 Kaegiswil
Switzerland
+41 41 662 74 74
[email protected]
leister.com
Distance
Spindle pitch
Weigh
























