Quick Start Guide
Congratulations
to your new ExamReader(TM).
ExamReader is designed with the purpose of being a reading assistant and the objective is to make you an independent reader. Whether you need to read the question for an exam, do your homework, or simply won’t read your favorite novel, we hope reading becomes less challenging and more enjoyable. This guide gives a brief overview of the device and should get you started. For more detailed information visit the online guide: www.cpen.com/examreaderguide or our Youtube channel cpen.com/youtube
CONTENT OF BOX
- ExamReader, carry case, USB cable, earphones, this guide, battery maintenance leaflet.
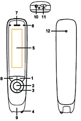
BUTTONS AND CONNECTORS

- Power On/Off & Back button: Press 3 seconds to power the device on or off. Press briefly to use as cancel function in the user interface
- OK, button: When a dialog box or options list pops up, press this button to confirm the operation. This is also the button used to trigger reading in Text Reader mode.
- 4-way Nav button: Press buttons to move to focus up, down, left, and right.
- Scan Trigger: Is automatically activated when the pen is in contact with the paper. Triggers scanning and turn on scan light. (3)
- Screen: The device’s display screen.
- Mic: Used when text is read out loud. Muted when headphones are connected.
- Speaker: Used to record a voice memo.
- Menu button: Press this button to display the context menu (similar to right mouse click on PC).
- Scanning window: Frames the text to be scanned.
- Headphone jack: A standard 3.5 mm headphone jack. Speaker is muted when headphones are connected.
- . Micro USB connector: Used for charging. To charge, connect to USB charger or computer USB port.
- Reset button: Pressing this button resets the device. It is recommended to use this button only when the device cannot be turned off properly.
GET STARTED
Press and hold the power button for about 3 seconds, then release it. Should the display not light up, then charge the battery for about 30 minutes and then give it a second try. At first use, a wizard will help you set up your preferences. This includes settings for Talking Menu (reads menu out loud) Menu language (user interface language) Scan language (the language of the text to scan) Reading accent (some languages support more than one accent) Left/Right-handed (hand holding the pen) Press the OK button (#2 in the Buttons and Connectors section) to confirm selection and move to the next setting in the wizard.
It is possible to manually trigger the wizard in case you want to run it again. Go to Settings, scroll down to Run wizard, and press the OK button to confirm.
When preferences are set, select Text Reader at the top of the main menu and press the OK button. A blank screen appears. Now you are ready to scan and have the text read out to you. Press the OK button to have the text read out to you as many times as you want. Or press the Menu button to access options.
HOW TO SCAN
Look at the front page of this guide for reference on how to hold the pen. For the best scanning result, the pen shall be held almost straight up. Make sure no buttons except Scan Trigger are pressed during a scan. The pen scans one (1) text line each time and this text line shall be centered in between the two white nibs in the front end. Scanning start and stop points are aligned with the edge of the transparent window. When the Scan Trigger gets in touch with the paper, the scan light lights up. Start moving the pen straight along the text line at a steady pace, avoid stops, do not rotate the pen, and keep the text line in between the nibs. The left/Right-hand setting *must* be correct, but it is possible to scan both from left to right and from right to left at any time. Give it a try…
Scan this line from left to right.
Scan this line from right to left.
For more details check the online guide.
TEXT READER SETTING
There are quite a few settings and options in Text Reader mode. To access these, press the MENU button when in Text Reader mode.
CLEAR SCREEN – use to erase all content you have scanned. Press the OK button to clear the screen.
ADDING MODE – controls whether a new text line appends or replaces the previous one. Replacement is a good option if only scanning occasional words or phrases. Append is a better option if you want to listen to multiple lines or full paragraphs.
AUTO READ – controls if to read out every new scan automatically or manually. If set to Off, you need to press the OK button to listen to the latest scan. Convenient if you want to scan multiple lines before listening to the text.
SCAN LANGUAGE – is used to select the language to be scanned. This also sets the TTS reading voice.
READ SETTING – allows you to select a voice in case you’ve selected the language supports multiple, Read delay adds a delay between the end of the scan and the start of reading the text, Speed and Volume sets the reading speed and speaker/earphone volume, and Word pause adds extra pauses in between words to slow down reading further, Punctuation pause adds extra pauses when there is a punctuation mark.
Use the left and right Nav buttons to change settings.
TEXT READER CONTENT
In-Text Reader mode, use the 4-way Nav button to navigate in the scanned text and use the OK button to trigger the text to be (re-)read out. Scan a few text lines. To listen from start to end, move the cursor to the top of the text using the Nav buttons and press the OK button to listen to it being read out.
While the text is being read, pressing the OK button toggles start/stop of reading.
When text is read out, words are highlighted as they are being read. This adds a visual sense to the experience.
When reading is not ongoing, the word cursor can be moved manually using the Nav buttons. To zoom in and listen to a single word, press and hold the OK button for >1 second to see and listen to the highlighted word.
TECHNICAL SPECIFICATION
Refer to the online guide for information about supported languages, upgradability, battery, etc.
BATTERY MAINTENANCE AND PRECAUTION
For first-time use, ExamReader may be used without prior charge of the battery. Battery capacity deteriorates over time. To optimize battery lifetime:
- This type of battery does not have “memory”. The best charge strategy is to top it up on regular basis from e.g. 20-50% to 90-95%.
- Do not expose the battery to heat (above 30°C) longer than necessary.
- Disconnect the charger once the battery is fully charged.
- Do not leave the battery flat as it may harm the battery.
- EVEN IF THE DEVICE IS NOT USED FOR A LONGER PERIOD IT’S RECOMMENDED TO CHARGE THE BATTERY AT LEAST EVERY THREE MONTHS.
FCC Compliance Statement
NOTE! This equipment has been certified to comply with the limits for a Subpart B digital device under Part 15 of FCC Rules. This peripheral may only be attached to a computer certified to comply with the Class B limits. Operation with a non-certified computer is likely to result in interference to radio and TV reception. Any changes or modifications to this equipment not expressly approved by the manufacturer could void the user’s authority to operate this equipment.
BIS compliance declaration
These products are compliant with IS13252 (PART 1) / IEC 60950-1 under the license R-41187356.
RoHS Declaration
Based on the information provided by our suppliers this product meets the requirements of RoHS Directive 2015/863/EU.
The maximum concentration value of the prohibited six substances of “RoHS Directive” does not exceed the following:
- Cadmium and its compounds: 0.01% (100 ppm) by weight in homogeneous materials.
- Lead and its compounds, Mercury and its compounds, Hexavalent chromium and its compounds, Poly Brominated biphenyls (PBB), Poly Brominated diphenyl ethers (PBDE): 0.1% (1000 ppm) by weight in homogeneous materials.
WEEE Notice
The Directive on Waste Electrical and Electronic Equipment (WEEE) which entered into force as European law on 13th February 2003 resulted in a major change in the treatment of electrical equipment at end-of-life The purpose of this Directive is as a first priority the prevention of WEEE and in addition to promote the reuse recycling and other forms of recovery of such wastes so as to reduce disposal. The WEEE logo on the product or on its box indicates that this product must not be disposed of or dumped with your other household waste. You are liable to dispose of all your electronic or electrical waste equipment by relocating over to the specified collection point for the recycling of such hazardous waste. Isolated collection and proper recovery of BIS compliance declaration of your electronic and electrical waste equipment at the time of disposal will allow us to help conserve natural resources. Moreover, proper recycling of electronic and electrical waste equipment will ensure the safety of human health and the environment. For more information about electronic and electrical waste equipment disposal recovery and collection points please contact your local city center household waste disposal service shop from where you purchased the equipment or the manufacturer of the equipment.
© Copyright C-PEN, READERPEN, EXAMREADER, LINGOPEN, and READERPEN SECURE are the registered trademark or trademarks of Virrata AB and partners.
C-Pen ExamReader is distributed by ScanningPens Ltd.
Official website: www.cpen.com
Support: [email protected]



















