C-PEN C610S ReaderPen Secure Device

Content of box
- ReaderPen Secure, carry case, USB cable, earphones, this guide, battery maintenance leaflet.

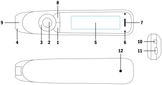
- Power On/Off & Back button: Press 3 seconds to power device on or off. Press briefly to use as cancel function in the user interface
- OK button: When a dialog box or options list pops up, press this button to confirm the operation. The OK button is also used to trigger reading text out loud in Text Reader mode.
- 4-way Nav button: Press buttons to move focus up, down, left, right
- Scan Trigger: Is automatically activated when the pen is in contact with the paper. It triggers scanning and turns on scan light.
- Screen: The device’s display screen.
- —
- Speaker: Used when text is read out loud. Muted when headphones are connected.
- Menu button: Press this button to display context menu (like right mouse click on PC).
- Scanning window: Frames the text to be scanned.
- Headphone jack: A standard 3.5 mm headphone jack. Speaker is muted when headphones are connected.
- Micro USB connector: Used for charging. To charge, connect to USB charger or computer USB port.
- Reset button: Pressing this button resets the device. It is recommended to use this button only when the device cannot be turned off properly.
ReaderPen Secure functions
Unless otherwise stated, ReaderPen Secure is a standalone and self-contained product and works without being connected to any other device.
Please check out video guides (youtube.cpen. com) for more detailed description.
Talking menu is an audio navigation function.
When set to on, all menu items are read out loud to support e.g. visually impaired users.
The setting for this function is found under Settings in the main menu.
Text Reader
Text Reader is an assistive reading function.
Scan a word, text line or paragraph and have the text read out loud to you. ReaderPen Secure can be set to read text automatically when scanned, or only read text on screen when manually triggered (by pressing the OK button).
Listen through built-in speaker or earphones.
To use it, simply scan a few text lines, and listen to them being read out.
It is possible to re-read as many times as you like. Use the navigation buttons to select starting point and then press the OK button and listen.
When a specific word is selected, press and hold OK button to zoom in on it and have it read out. Look and listen.
The MENU button provides access to several options including clear screen, reading speed, volume, reading pauses, auto read, reading language and option to look up words in dictionary.
Definitions
ReaderPen Secure contains one or more monolingual dictionaries for the supported languages. Select this function and scan one or more words. Use navigation buttons to select the word you want to look up and the word’s definition. Subject to settings, accessible by pressing MENU button, definitions can be read out loud by the pen.
If you run into a difficult word when using Text Reader, it is also possible to look up this word in a dictionary without having to change working mode. Press MENU button and select Definition. Press MENU button to access other function specific settings.
USB connectivity
When ReaderPen Secure connects to a computer, a couple of additional functions are made available. When connected, user is prompted to select one out of three options.
U-Disk
In this mode ReaderPen Secure connects to computers as a portable disk.
ReaderPen Secure does not store any scanned information onto its internal memory and files copied from computer to ReaderPen Secure is not accessible in any ReaderPen Secure function.
Keyboard
In this mode ReaderPen Secure doubles as keyboard. When connected to a computer in Keyboard mode, anything you scan with ReaderPen Secure is directly and automatically input to any text field where the text cursor is positioned. It is thus possible to scan text directly to text editors, like MS Word, Google Doc and others, and spreadsheets. In this mode it is important that the computer system keyboard (e.g. MAC OSX and Windows) is set to same language as the ReaderPen Secure.
Press MENU button to access language settings.
Charge
When Charge is selected, ReaderPen Secure works in stand-alone mode just as if not connected to the computer at all.
This mode has no options or settings.
How to scan
Look at the front page of this guide for reference on how to hold the pen. For best scanning result the pen shall be held almost straight up.
Make sure no buttons except Scan Trigger is pressed during a scan.
The pen scans one (1) text line each time and this text line shall be centered in between the two white nibs in the front end. Scanning start and stop points are aligned with the edge of the transparent window.
When the Scan Trigger gets in touch with the paper, the scan light lits up. Start moving the pen straight along the text line at a steady pace, avoid stops, do not rotate the pen, and keep the text line in between the nibs.
Left/Right hand setting *must* be correct, but it is possible to scan both from left to right and from right to left at any time. Give it a try…
Scan this line from left to right.
Scan this line from right to left.
For more details check www.cpen.com or youtube.cpen.com.
Get started
- Press and hold the power button for about 3 seconds, then release it. Should the display not light up, then charge the battery for about 30 minute and then give it a second try.
- At first use, a guide will help you set up your preferences. This includes settings for
- Talking Menu (reads menu out loud)
- Menu language (user interface language)
- Scan language (language of text to scan)
- Voice (as some languages supports more than one accent)
- Preferred dictionary
- Left/Right handed (hand holding the pen)
It is possible to manually run this guide in case required. Go to Settings, scroll down to Run wizard and press OK button to confirm.
When preferences are set, select Text Reader at the top of the main menu and press OK button.
A blank screen appears. Now you are ready to scan and have text read out to you. Press OK button to have the text read out to you as many times as you want. Or press MENU button to access options which includes reading speed, volume, reading pauses, reading language and option to look up words in dictionary
Technical specification
Refer to www.cpen.com for information about supported languages, upgradability, battery, etc.
Safety Precautions for Battery Usage
THE LITHIUM BATTERY IS HAZARDOUS. ANY ATTEMPT TO DISASSEMBLE THE BATTERY IS NOT ALLOWED. IF YOU DISASSEMBLE OR REPLACE THE BATTERY, IT MAY EXPLODE. THROWING IT INTO A FIRE MAY ALSO CAUSE AN EXPLOSION. KEEP THE BATTERY AND THE DEVICE DRY, AND AWAY FROM WATER OR OTHER LIQUID TO AVOID SHORT-CIRCUIT.
MAKE SURE NOT TO USE THE BATTERY WHEN IT IS DAMAGED, DEFORMED, DISCOLORED OR OVERHEATED OR EMITS AN ODOR. THIS PRODUCT SHOULD BE USED WITH CARE IN TROPICAL REGIONS. IF YOU HAVE QUESTIONS ON HOW TO USE THE PEN, PLEASE CONTACT OUR TECHNICAL SUPPORT/SERVICE FOR HELP.
BATTERY maintenance and precautions
Battery capacity deteriorates over time. To optimize battery life time:
- Charge battery prior to becoming completely empty.
- Do not expose the battery to heat longer than necessary (above 30°C is considered hot).
- Disconnect charger as soon as possible after battery becoming fully charged.
- Especially do not leave battery flat as it may harm the battery.
- EVEN IF THE DEVICE IS NOT USED FOR A LONGER PERIOD IT’S RECOMMENDED TO CHARGE THE BATTERY AT LEAST EVERY THREE MONTHS
Declaration of Conformity
Virrata AB hereby declares that the products ExamReader, ReaderPen, LingoPen, ReaderPen Secure, all comply with requirements Electromagnetic Compatibility Directive 2014/30/EU and 93/68/EEC – CE Marking directive.
Warning – any changes or modifications not expressly approved by the party responsible for compliance could void the user’s authority to operate the equipment.
These devices comply with part 15 of the FCC Rules. Operation is subject to the following two conditions: (1) They may not cause harmful interference, and (2) they must accept any interference received, including interference that may cause undesired operation.
Note: These equipments has been tested and found to comply with the limits for a Class B digital device, persuant to part 15 of the FCC Rules.
These limits are designed to provide reasonable protection against harmful interference in a residential installation. These equipments generate, use, and can radiate radio frequency energy and, if not installed and used in accordance with the instructions, may cause harmful interference to radio communications. However, there is no guarantee that interference will not occur in a particular installation. If these equipments do cause harmful interference to radio or television reception, which can be determined by turning the equipment off and on, the user is encouraged to try to correct the interference by one or more of the following measures:
- Reorient or relocate the receiving antenna.
- Increase the separation between the equipment and receiver.
- Connect the equipment into an outlet on a circuit different from tha to which the receiver is connected.
- Consult the dealer or an experienced radio/TV technician for help.
FCC Radiation Exposure Statement:
These equipments comply with FCC radiation exposure limits set forth for an uncontrolled environment. This transmitter must not be co-located or operating in conjunction with any other antenna or transmitter. These equipments should be installed and operated with minimum distance 20cm between the radiator & your body
BIS compliance declaration
These products are compliant with IS13252 (PART 1) / IEC 60950-1 under the license R-41187356.
RoHS Declaration
Based on information provided by our suppliers these products meet the requirements of RoHS Directive 2015/863/EU. The maximum concentration value of the prohibited six substances of
“RoHS Directive” do not exceed the following:
- Cadmium and its compounds: 0.01% (100 ppm) by weight in homogeneous materials.
- Lead and its compounds, Mercury and its compounds, Hexavalent chromium and its compounds, Poly Brominated biphenyls (PBB), Poly Brominated diphenyl ethers (PBDE): 0.1% (1000 ppm) by weight in homogeneous materials.
WEEE Notice
The Directive on Waste Electrical and Electronic Equipment (WEEE) which entered into force as European law on 13th February 2003 resulted in a major change in the treatment of electrical equipment at end-of-life The purpose of this Directive is a first priority the prevention of WEEE and in addition to promote the reuse recycling and other forms of recovery of such wastes so as to reduce disposal. The WEEE logo on the product or on its box indicates that this product must not be disposed of or dumped with your other household waste. You are liable to dispose of all your electronic or electrical waste equipment by relocating over to the specified collection point for recycling of such hazardous waste. Isolated collection and proper recovery of your electronic and electrical waste equipment at the time of disposal will allow us to help conserving nature resources. Moreover, proper recycling of the electronic and electrical waste equipment will ensure the safety of human health and environment. For more information about electronic and electrical waste equipment disposal recovery and collection points please contact your local city center household waste disposal service shop from where you purchased the equipment or manufacturer of the equipment.



















