Zenner Usa ID2 IoT Indoor Gateway Instruction Manual

1. General information
1.1. Intended use
Operational safety is only guaranteed if the product is used as intended by the manufacturer. No liability is assumed for damage caused by other applications.
Any modifications are only permitted with approval from the manufacturer. Otherwise the manufacturer’s declaration is invalidated.
1.2. Safety instructions
If it is necessary to establish a new power connec- tion, the installation and commissioning must only be
performed by trained qualified specialists. Only trained qualified electricians may work on electrical systems. They must be able to assess the work assigned to them at all times, detect any potential sources of danger and adopt appropriate safety measures. The installation work must only be performed in a de-energised state. Valid specifications and standards are to be observed.
2. Product description
2.1. Intended use
The ZENNER IoT Gateways use high-performance Lo- RaWAN® technology, whose excellent building penetra- tion and long-range network coverage generally ensure the connectivity of IoT sensors even under challenging environmental and installation conditions.
The Indoor Gateway is ideally suited for LoRa network coverage within a building to receive the values of sensors, some of which are difficult to access, on several floors and in basements – without the need for additional repeaters. The device can be used across
various sectors for a variety of IoT applications and is an integral part of ZENNER IoT system solutions.
2.2. Scope of delivery
ZENNER IoT Indoor Gateway incl. integrated SIM
Mounting hardware (screws & dowels)
Installation and operating instructions Declaration of conformity
3. Installation location
In order to gain optimum LoRaWAN network coverage, an installation location which is as high as possible is recommended due to various technological advan- tages. For example, if an attic is available with potential installation space, this installation location should be preferred.
Note: In stairwells and hallways, the current building regulations should be checked. It is not permitted to install the product in the service room of the lift.
After selecting the preferred installation location, you should test the mobile radio connection in this location prior to attaching it.
4. Installation
4.1. Check whether cables are routed to the selected installation point.
4.2 Note the length of the power cable (range for socket / junction box).
4.3 Mark drilling holes on the wall according to the hole spacing and use a spirit level (drilling template attached) (ill. 1).
4.4 Drill drilling holes, fit dowels and screws in the holes (included in scope of delivery)
4.5 Attach wall mounting bracket to the wall.
Ensure that the correct side of the wall moun- ting bracket faces upwards. Pay attention to the following illustration (ill. 1).
Tip: In the case of uneven walls, use washers.
4.6 Snap the gateway into the wall mounting bracket. The electrical connection is then established.
5. Electrical connection
Gateway with plug-in power supply
This variant is operated with a plug-in power sup- ply. The electrical connection can be established by a laymen. Commissioning is performed by inserting the power supply unit.

Gateway with plug-in power supply
6. Commissioning
The gateway starts immediately after insertion / con- nection.
The gateway passes through several phases during the boot process, which are indicated by the LEDs. Please observe the following sequence of the four LEDs. LED No. 4 signals the connection to the backend.

Explanation of the stages:
- No power supply
- Hardware initialisation
- Hardware initialisation
- Mobile radio connection not active, no connection to LoRa network server (LNS)
- Mobile radio connection active, no connection to LNS
- Normal operation (6.2, 6.3)
7. Technical data and performance characteristics
- Suitable for LoRaWAN® IoT solutions from ZENNER
- Plug & Play – Simple integration into the ZENNER system landscape through pre-configured software* Compatible with the Gateway Management System (GMS) from ZENNER (remote configuration)*
- Security patches and software updates are distributed in an automated manner*



Dimensions of gateway with plug-in power supply
* ZENNER IoT Gateways (Indoor and Outdoor) are only compatible as standard with the ZENNER system landscape or ZE- NNER LoRa network server (LNS) by means of Plug’n’Play. The gateways are automatically detected in the backend and can subsequently be monitored and configured by the integrated Gateway Management System (GMS). Software updates and security patches are also distributed in an automated manner. Network operation is performed by Minol ZENNER Connect GmbH.
8. Dismantling
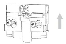
8.1. Use a narrow flat head screwdriver to gently lift the far right lug on the assembly plate (wall mounting bracket).
8.2 Carefully pull the gateway downwards with an appropriate level of strength
8.3 Remove the assembly plate from the wall and replace the gateway for a new one, if required.
Federal Communication Commission Interference Statement
This equipment has been tested and found to comply with the limits for a Class B digital device, pursuant to Part 15 of the FCC Rules. These limits are designed to provide reasonable protection against harmful interference in a residential installation. This equipment generates, uses and can radiate radio frequency energy and, if not installed and used in accordance with the instructions, may cause harmful interference to radio communications. However, there is no guarantee that interference will not occur in a particular installation. If this equipment does cause harmful interference to radio or television reception, which can be determined by turning the equipment off and on, the user is encouraged to try to correct the interference by one of the following measures:
– Reorient or relocate the receiving antenna.
– Increase the separation between the equipment and receiver.
– Connect the equipment into an outlet on a circuit different from that to which the receiver is connected.
– Consult the dealer or an experienced radio/TV technician for help.
FCC Caution: Any changes or modifications not expressly approved by the party responsible for compliance could void the user’s authority to operate this equipment.
This device complies with Part 15 of the FCC Rules. Operation is subject to the following two conditions: (1) This device may not cause harmful interference, and (2) this device must accept any interference received, including interference that may cause undesired operation.
IMPORTANT NOTE:
Radiation Exposure Statement:
This equipment complies with FCC radiation exposure limits set forth for an uncontrolled environment. This equipment should be installed and operated with minimum distance 20cm between the radiator & your body.
This transmitter must not be co-located or operating in conjunction with any other antenna or transmitter.
Country Code selection feature to be disabled for products marketed to the US/CANADA
Industry Canada statement:
This device contains licence-exempt transmitter(s)/receiver(s) that comply with Innovation, Science and Economic Development Canada’s licence-exempt RSS(s). Operation is subject to the following two conditions:
- This device may not cause interference
- This device must accept any interference, including interference that may cause undesired operation of the device






















