Miele PWM 920 EL-RH Commercial Washing Machine

Installation requirements
The washing machine must be installed and commissioned by a Miele Service technician or by an authorised dealer.
- The washing machine must be installed in accordance with applic-able regulations and standards. Local energy supplier and water au-thority regulations must also be observed.
- This washing machine must only be operated in a room that has sufficient ventilation and which is frost-free.
This machine should not be installed or operated in any area where there is a risk of explosion!
General operating conditions
This washing machine is intended only for use in a commercial envir-onment and must only be operated indoors.
- Ambient temperature: 0-40 °C
- Relative humidity: non-condensing
- Maximum height above sea level of location site: 2000 m
Depending on the nature of the installation site, sound emissions and vibration may occur.
Tip: Have the installation site inspected and seek the advice of a pro-fessional in instances where increased noise may cause a nuisance.
Installation
- The washing machine must be set up on a level and firm surface with the minimum stated load bearing capacity (see “Technical data”).
- The floor load created by the washing machine is concentrated and transferred to the installation footprint via the machine feet.
Tip: A concrete floor is the most suitable installation surface, being far less prone to vibration during the spin cycle than wooden floor-boards or a carpeted surface.
- The washing machine requires a gap of at least 50 mm at each side to allow for movement during operation. To ensure suitable access for further maintenance and service work, please ensure a minimum dis-tance of 400 mm is maintained between the back of the machine and the wall.
- Machines with an integrated suds test point must have a gap of at least 200 mm on the left hand side.
- The washing machine can be installed on a concrete plinth if desired.
- The concrete materials and the durability of the concrete plinth must be assessed in accordance with the floor load bearing capacity given in “Technical data”.
- To guarantee the stability of the washing machine, make sure that the concrete plinth is sufficiently stable on the floor and that it is capable of withstanding any burden or force from the washing ma-chine.
- The washing machine must be secured to the concrete plinth using the fixtures and fastenings supplied.
CAUTION: The washing machine must be secured to the plinth immedi-ately after installation!
There is a risk of the washing machine falling off a raised plinth dur-ing a spin cycle if it is not secured.
Levelling the machine
- Align the washing machine vertically and horizontally using the adjustable feet and a spirit level.
The washing machine must stand evenly and horizontally on all four feet to ensure trouble-free and energy-efficient operation. Otherwise the water and energy consumption increases and the washing ma-chine might move around. - After aligning the machine, tighten the lock nuts by turning them in an counterclockwise direction with a wrench. This will prevent the feet from adjusting themselves.
Securing the machine- The feet of the washing machine must be secured to the concrete plinth using the fixtures and fastenings supplied.
Fittings supplied are for installation on a concrete floor. For other types of flooring, please purchase suitable fastening materials sep-arately.
Electrical connection
The electrical connection must only be carried out by a qualified electrician who must ensure that all electrical work is carried out in accordance with applicable electrical regulations and standards
(BS 7671 in the UK).
- This washing machine must be connected to an electrical mains
supply that complies with local and national regulations. Please also observe your insurance and energy supplier’s regulations as well as any health and safety at work regulations. - The required voltage, connected load and fusing rating can be
found on the data plate on the washing machine. Before connecting the machine to the power supply, please ensure that the mains sup-ply voltage complies with the values given on the data plate.
Connection to a supply voltage other than the one quoted on the data plate can lead to functional faults and damage the washing machine!
If more than one voltage is quoted on the data plate, the washing machine can be converted for connection to the voltages stated.
- Conversion to a different voltage must only be carried out by a Miele Service engineer or by an authorised Service Dealer. The wiring instructions given on the wiring diagram must be followed.
Tip: We recommend connection to the power supply via a suitably rated plug and socket which must be easily accessible for servicing and maintenance work after the machine has been installed. An elec-trical safety test must be carried out after installation and after any service work.
The machine can either be hard-wired or connected using a plug-and-socket connection in accordance with IEC 60309-1. For a hard-wired connection an all-pole isolation device must be installed on site.
For hard-wired machines connection should be made via a suitable mains switch with all-pole isolation which, when in the off position, ensures a 3 mm gap between all open contacts. These include cir-cuit breakers, fuses and relays (IEC/EN 60947).
If the mains supply cannot be permanently disconnected, the isolator switch (including plug and socket) must be safeguarded against be-ing switched on either unintentionally or without authorisation.
- If it is necessary to install a residual current device (RCD) in ac- cordance with local regulations, a residual current device type B (sensitive to universal current) must be used.
- An existing type A residual current device (RCD) must be exchanged for a type B RCD.
- If necessary, equipotential bonding with good galvanic contact must be guaranteed in compliance with all applicable local and na-tional installation specifications.
Equipotential bonding must have an earth current rating > 10 mA Accessories for equipotential bonding are not supplied and need to be ordered separately.
Water connection
The flow pressure must amount to a minimum of 100 kPa and must not exceed 1000 kPa. If the flow pressure is higher than 1000 kPa, a pressure reducing valve must be used. The machine must be connected to the water supply using the inlet hoses provided.
- The connection points are subject to water supply pressure. Turn on the stopcock slowly and check for leaks. Correct the posi-tion of the seal and screw thread if appropriate.
Requirements for the UK, double check valves (supplied with the washing machine) must be installed downstream of the service valves before the connection of any supplied flexible hoses. Without the installation of these double check valves the installa-tion does not comply with the local regulations.
The use of rubber or plastic tubing as pressure connection piping between the installation location interior and the machine is only per-mitted if:
- in conjunction with connection fittings, it can withstand a minimum permanent pressure of 1500 kPa (15 bar),
- it is satisfactorily inspected during commissioning and
- after each use of the machine the water supply is reliably cut off be-fore the rubber and plastic piping and put out of service or cut off from the location interior.
For the cold water connection one stopcock each with a
3/4″ external thread is required. A connector (Y-piece) can be used if required to connect 2 water inlet hoses with a ¾” screw thread to a single stopcock with a 1″ male thread. The water inlet hose for cold water (blue stripes) is not intended to be used with a hot water connection.
To minimise energy consumption during operation with hot water, the washing machine should be connected to a suitable hot water ring circuit if present.So-called “transmission pipes” (single pipes to hot water generators) can result in cooling down of the water remaining in the pipes if not in constant use. More energy would then be consumed to heat the liquid up again.Use the inlet hose supplied (red stripes) for the hot water connection.The temperature of the water intake must not exceed 70 °C on ma-chines with electric heating (EL).If there is no hot water supply at the installation location for the wash-ing machine, the inlet hose for hot water must also be connected to the cold water supply. A Y-piece is required in this case. The cold wa-ter consumption increases accordingly to account for the missing hot water intake.
For functional and technical reasons it is not possible to operate the machine exclusively with a hot water connection.Even if a hot water connection is present, the washing machine must be connected to a cold water intake.
Drain valve
A motorised dump valve is used to drain the machine. An HT DN 70 angle connector can be used for draining the machine directly into the waste water system (without a siphon) or into an on-site gully (with odour trap).
A vented drainage system is vital for unimpeded drainage.If several machines are connected to a single drain pipe, this should be sufficiently large to allow all machines to drain simultan-eously.The appropriate Miele installation set mat. no.: 05 238 090 is avail-able to order from Miele for venting an HT DN 70 pipe.If the slope for drainage is extremely steep, the piping must be ven-ted to prevent formation of a vacuum in the machine’s drainage system.Slow or obstructed drainage or a backup of water in the drum as a result of undersized pipework can result in faults occurring during programmes, which will result in fault messages appearing in the dis-play.
caution:Risk of burning due to hot suds. Outflowing suds can be as hot as 95 °C. Avoid direct contact.
Dispenser pump connections
Up to 12 dispenser pumps can be connected to the washing ma-chine.

Dispenser pump connections on the back of the machine Connections 1 and 2 are provided for viscous agents can also be used for high pressure dispensing systems with water injection. The dispensing systems must be fitted with a separate drinking water safety mechanism in accordance with EN 61770 and EN 1717. The maximum flow rate is 1500 ml/min with a maximum flow pressure of 300 kPa. These connectors are sealed and need to be drilled open using a 8 mm drill bit before connecting.

Make sure that you only drill through the first panel (I) as there is a deflecting panel (II) 10 mm behind it.
Connections 3 to 12 are provided for liquid detergent. High pressure dispensing systems with water injection must not be connected to these connections. The connectors are sealed and must be cut to the diameter of the hose with a small saw before they are connected.If opened connectors are no longer required, they must be resealed using a suitable sealant (e.g. silicone).Connection terminals for five time-controlled dispenser pumps, which can be operated without a multifunction module, are located behind the cover adjacent to the electrical connection.Calibration of the dispenser pumps and regulation of dispensing quantities is carried out partly automatically for washing machines fitted with an optional multifunction module. Information regarding settings is given in the operating instructions.A flowmeter or flow sensors can also be connected for monitoring the dispensing quantity precisely.Connections for level monitoring are available for every agent dis-pensed.
Optional accessories
Only use genuine Miele spare parts and accessories with this ma-chine.Using spare parts or accessories from other manufacturers will in-validate the guarantee, and Miele cannot accept liability.
BSK = Payment system kit: The washing machine can be equipped with a payment system (e.g. for self-service operations) using the optional BSK payment system kit. This must be connected and programmed by a Miele Service technician. Payment systems with mechanical or electronic coin val-idator are available from Miele as optional accessories for individual target groups.The programming required for connecting a payment system must be carried out by Miele Service or an authorised Miele dealer only. A separate electrical connection is not required for a payment system.
BSS peak-load negotiation kit The washing machine can be connected to a peak-load shut-off or an energy management system using a BSS peak-load negotiation kit which is available as an optional accessory.The peak-load cut-out monitors the energy consumption of a sys-tem and deactivates individual pieces of equipment temporarily in order to ensure that certain total load limits are not exceeded. Monit-oring is externally controlled.The peak-load cut-out monitors the energy consumption of a sys-tem and deactivates individual pieces of equipment temporarily in order to ensure that certain total load limits are not exceeded. Monit-oring is externally controlled.

- a Output signal, start of machine operation
- b Output signal, machine heating request
- c Peak-load input signal, machine heating deactivated d Neutral conductor
When the peak-load function is activated the current programme is stopped and a message appears in the display on the washing ma-chine. At the end of the peak-load function the programme resumes automatically.
XKM RS232 com-munication mod-ule: The data interface provided via communication module XKM RS232 complies with SELV (Safety Extra Low Voltage) in ac-cordance with EN 60950. Appliances connected to this interface must also be SELV compli-ant.Communication module XKM RS 232 is supplied with a connection cable and a D-sub-connector. The hard water connection on the washing machine can be retrofitted with the optional hard water kit (APWM062).
Hard water kit (APWM062): The additional water connection allows hard water to be used and the programme running time will therefore be reduced. In addition, hard water is particularly suitable for the final rinse cycles.
Plinth (UO/UG): The machine can be installed on a plinth (open or box plinth, available as an optional Miele accessory).Elevating the washing machine gives a better ergonomic working position when loading or unloading. It also simplifies the installation of a waste water connection.
caution: The washing machine must be secured to the plinth immedi-ately after installation! The plinth must be secured to the floor.There is a risk of the washing machine falling off a raised plinth dur-ing a spin cycle if it is not secured.
Vapour and foam venting kit (BWS): If excessive suds form, foam may escape from the vapour vent. To re-move the foam, an optional vapour and foam venting kit (BWS) can be used.
Dimensions Standard

Dimensions quoted in millimetres
With plinth (UG/UO)

Dimensions quoted in millimetres
Installation Standard

Dimensions quoted in millimetres
- KW Cold water connection
- WW Hot water connection
- KWH Hard water connection (cold)
- KWF Cold water connection for liquid dispensing
- SLA Connection for peak-load negotiation
- EL Electrical connection
- AV Drain valve
- PA Connection for equipotential bonding
- B Drilled hole
With plinth (UG/UO)

Dimensions quoted in millimetres
- KW Cold water connection
- WW Hot water connection
- KWH Hard water connection (cold)
- KWF Cold water connection for liquid dispensing
- SLA Connection for peak-load negotiation
- EL Electrical connection
- AV Drain valve
- PA Connection for equipotential bonding
- B Drilled hole
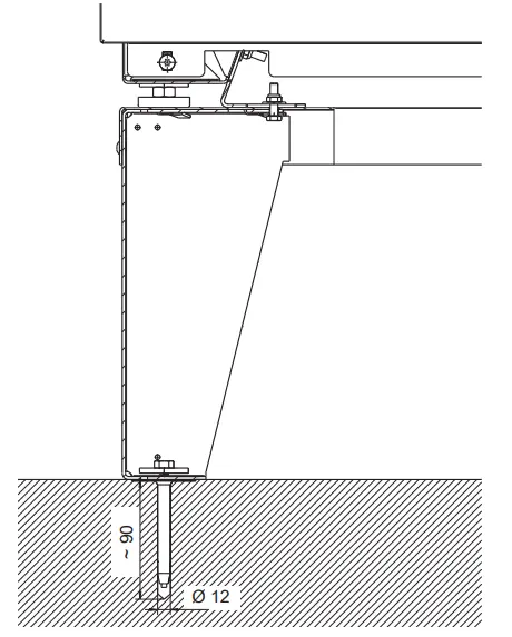
Floor anchoring

With plinth (UO/UG) / weighting base (WI)
Technical data | |
| Voltage versions and electrical data 3N AC 400 V, 50/60 Hz, EL A01Z | |
| Supply voltage | 3N AC 400V 50/60Hz |
| Frequency | 50/60 Hz |
| Required fuse rating (on site) | 35 A |
| Power rating | 19 kW |
| Connection cable, min. cross-section | 6 mm² |
| Cable gland | |
| 3 AC 230 V, 50/60 Hz, EL B04Z | |
| Supply voltage | 3 AC 230V 50/60Hz |
| Frequency | 50/60 Hz |
| Required fuse rating (on site) | 50 A |
| Power rating | 19 kW |
| Connection cable, min. cross-section | 10 mm² |
| Cable gland | |
| 3 AC 400 V, 50/60 Hz, EL B11Z | |
| Supply voltage | 3 AC 400V 50/60Hz |
| Frequency | 50/60 Hz |
| Required fuse rating (on site) | 35 A |
| Power rating | 19 kW |
| Connection cable, min. cross-section | 6 mm² |
| Cable gland | |
| 3 AC 440/480 V, 60 Hz, EL B14Z | |
| Supply voltage | 3 AC 440/480V 60Hz |
| Frequency | 60 Hz |
| Required fuse rating (on site) | 35 A |
| Power rating | 22,5 kW / 19,5 kW |
| Connection cable, min. cross-section | 6 mm² |
| Cable gland | |
| 3 AC 230 V, 50/60 Hz, EL F04ZY | |
| Supply voltage | 3 AC 230V 50/60Hz |
| Frequency | 50/60 Hz |
| Required fuse rating (on site) | 50 A |
| Power rating | 19 kW |
| Connection cable, min. cross-section | 10 mm² |
| Cable gland |
Plumbing
Models with detergent drawer (DD)

Drainage

Connection for equipotential bonding

Installation dimensions

Anchoring
Standard

Concrete plinth

Transport data, weight and floor load
Models with detergent drawer (DD)

Emissions data
- ADDRESS: Miele & Cie. KG Carl-Miele-Straße 29 33332 Gütersloh Germany
- Telefon: 05241 89-0
- Telefax: 05241 89-2090
- Internet: www.miele.com/professional

Securing the machine



















