
PLATFORM SCAFFOLD TOWER EN 1004
MODEL NO: SSCL1.V2
TOWER EXTENSION PACK 3 MODEL NO: SSCL3
TOWER EXTENSION PACK 4 MODEL NO: SSCL4
Thank you for purchasing a Sealey product. Manufactured to a high standard, this product will, if used according to these instructions, and properly maintained, give you years of trouble-free performance.
IMPORTANT: PLEASE READ THESE INSTRUCTIONS CAREFULLY. NOTE THE SAFE OPERATIONAL REQUIREMENTS, WARNINGS & CAUTIONS. USE THE PRODUCT CORRECTLY AND WITH CARE FOR THE PURPOSE FOR WHICH IT IS INTENDED. FAILURE TO DO SO MAY CAUSE DAMAGE AND/OR PERSONAL INJURY AND WILL INVALIDATE THE WARRANTY. KEEP THESE INSTRUCTIONS SAFE FOR FUTURE USE.
A MINIMUM OF TWO PEOPLE ARE REQUIRED TO BUILD THIS TOWER
SAFETY
- WARNING! Take care when using and moving scaffolding, extended ladders, and other such equipment in the vicinity of power cables – the risk of potentially fatal electric shock.
- WARNING! Ensure Health and Safety, local authority, and general workshop practice regulations are adhered to when using this equipment.
- Familiarise yourself with the application and limitations of the scaffold, as well as the potential hazards.
- Maintain the equipment in good condition.
- DO NOT use the equipment if any parts are damaged or missing as this may cause failure and/or personal injury.
- Replace or repair damaged parts. Use genuine parts only.
- Non-authorized parts may be dangerous and will invalidate the warranty.
- Keep the work area clean, and uncluttered and ensure there is adequate lighting.
- WARNING! Use scaffold on the level and solid ground and ensure the brakes are applied and/or that the scaffold is anchored and held firmly in place by some means.
- WARNING! DO NOT erect or use the scaffolding on sloping or unstable ground.
- WARNING! Never over-reach when on the scaffolding.
- Keep children and unauthorized persons away from the working area.
- DO NOT use the scaffolding for any purpose other than that for which it is designed.
- DO NOT allow children to climb the scaffolding.
- DO NOT use the equipment when you are tired, under the influence of alcohol, drugs or intoxicating medication.
- When not in use store in a safe, dry, childproof area.
- DO NOT use the equipment without side guardrails, knee rails, and toe boards fitted. Use all the components supplied.
- When used outside, mobile scaffold towers should, wherever possible, be secured to a building or other reliable structure.
- It is good practice to tie in all scaffold towers of any height, especially when left unattended or in exposed windy conditions. Use only the recommended wall anchors.
- Beware of strong wind conditions. DO NOT erect or use a free-standing tower if the wind is likely to exceed 7.7m/sec (17mph or
- Beaufort force 4).
- Take care when using mobile scaffold towers in hangers or uncovered buildings as wind force may be increased due to funneling effects.
- DO NOT climb a tower from the outside. Never climb on the horizontal or diagonal braces. You should only climb the tower on the
inside using the ladder end frames. - DO NOT lean ladders against the tower. Never use ladders or boxes to gain additional height.
- DO NOT bridge between the mobile scaffold tower and buildings.
- Stabilizers and ballast weights shall always be fitted where specified. Ballast is used at the base to stabilize towers from overturning.
- Ballast must be of solid material (i.e. NOT water or lose sand) and should be positioned so as not to overload individual legs.
- Ballast should be secured from accidental removal.
- Keep equipment clean and inspect before and after use for damage. Use serviceable equipment only. All working parts e.g. castors, adjustable legs; stabilizer clamps should be lubricated lightly with oil. Repairs should only be carried out by the supplier or other competent person approved by the supplier.
- Ensure that all personnel, tools, and materials are removed from the tower prior to moving it. Only move the scaffold tower manually on a firm level surface, which is free of any obstacles.
- Only move it longitudinally or diagonally. DO NOT exceed normal walking speed. Raise the stabilizers 12mm (½”) from the ground.
- After moving re-lock the castors, check that the tower is level, and ensure that the stabilizers are secure and have a firm footing.
- DO NOT exceed the safe working load of the platform. The maximum capacity of the working platform for an evenly distributed load is 1.5 kN/m² (according to HD1004 – scaffold tower Class 2).
- DO NOT jump on to or off the platforms.
- DO NOT use any lifting equipment on the mobile scaffold tower.
INTRODUCTION
SSCL1.V2: EN 1004 Approved Scaffold Tower System designed to meet the UK PASMA 3T standards. Robust aluminum frame unit with durable corrosion resistance. Heavy-duty platform with trap door for safe access to the platform. Can be used as a 3m or 3.8m working height platform by fitting the extension kit supplied with the unit. The unique design enables the unit to be quickly and easily folded down without tools for transportation or storage. 860mm Depth means the unit will pass through most doorways even when partly erected. Handrails for comfort and safety. Four large Ø125mm castors for easy mobility.
SSCL3: Extension kit for Model No. SSCL1 increases platform height to 3.5m and working height to 5.5m. Supplied with stability legs to secure the unit and extra trap door platform. Manufactured from robust aluminum with an anodized finish for durable corrosion resistance. SSCL4: Extension kit to be used with Model No. SSCL1 & SSCL3, further increases platform height to 5.15m and working height to 7.15m. Constructed from robust aluminum with an anodized finish for durable corrosion resistance.
SPECIFICATION
MODEL NO: ……………………………….SSCL1.V2 ……………………………………….SSCL3………………………………………………………..SSCL4
Depth: ……………………………………………. 860mm ……………………………………….830mm………………………………………………………..830mm
Description: ……….Base Pack (Pack 1 + Pack 2) ………………………… Extension Pack 3…………………………………………. Extension Pack 4
Maximum Capacity:………………………. 200kg/M2 …………………………………… 200kg/M2…………………………………………………….200kg/M2
Maximum Platform Height: ………………….. 1.66m ………………………………………. 3.41m*……………………………………………………….5.17m**
Maximum Working Height: ………………….. 3.66m ………………………………………. 5.41m*……………………………………………………….7.17m**
Width: …………………………………………… 1760mm ……………………………………..1760mm………………………………………………………1760mm
Width with Support Legs: …………………………………………………………………… 3450mm*……………………………………………………3450mm**
Note: ………………………………………………………………….. *Only when used with SSCL1…………. **Only when used with SSCL1 & SSCL3.
CONSTRUCTION OVERVIEW


ASSEMBLY SSCL1.V2
5.1. The scaffolding must be assembled according to this assembly and operating manual.
5.2. It is important to ensure that all the necessary pins and hooks are correctly positioned.
5.3. The SSCL range must only be assembled and dismantled by staff who have been trained to follow the assembly and operating instructions.
5.4. Damaged elements and alternative brands must not be used.
5.5. Reference should be made to the diagrams presented earlier in the manual for the assembly of elements.
5.6. PPE (Personal Protection Equipment) must be worn when assembling and dismantling scaffolding.
5.7. Elements required for raising the product higher are hoisted on the guardrail side, once this element has been put in place.
5.8. Tools or other elements needed for working on the unit must be hoisted via the trapdoors on the platforms.
5.9. Never stand on a platform without protection (brace) when assembling high elements (fig.6).
5.10. Remain seated on the platform when assembling the high elements (fig.7).
5.11. 2 people are required to assemble scaffolding.
5.12. It is important to block the base ladder wheels using their brakes before carrying out any operation (fig.8):
5.13. Unfold the folding base and lock it in position with the pin. Attach the platform to the 3rd rung (fig.9).
5.14. Mount the diagonal and then the brace following the instructions below (fig.10).
5.15. Check the horizontal position of the base in both directions before continuing with the assembly.
ASSEMBLY SSCL3
6.1. Start from the base as assembled and attach the brace to the 1st rung.
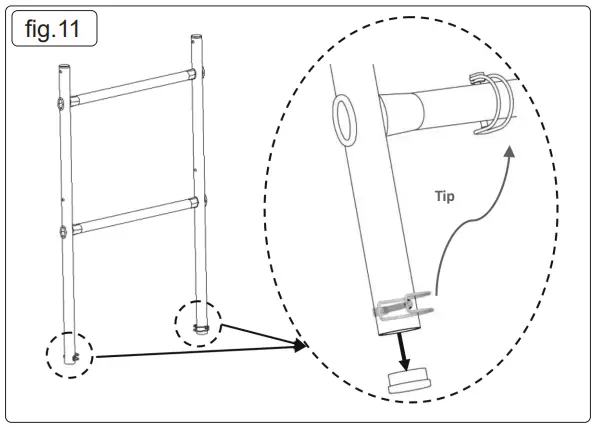
6.2. Remove the pins and stoppers from the bases of the ‘2 rung’ ladders.
NOTE: fix the pins around the bottom rung of the ladder to prevent it from being lost during handling (fig.11).

6.3. Assemble the 2 ladders on the base and attach the brace to the first rung (fig.12).
6.4. Replace the 4 pins
6.5. PLATFORM AND PROTECTION ASSEMBLY
6.5.1. Next attach the platform to the 6th rung. Sit on the platform and attach the 4 braces to the rungs on the inside of the uprights as shown in the diagram in (fig.13). 
6.5.2. Assemble the toeboards around this platform starting with the end ones (1) and then interlocking the side toeboards (2) (fig.14)..
ASSEMBLY OF SSCL4
7.1. Start from the base assembled and attach the brace to the 1st rung. Prepare the ‘2 rungs’ and ‘7 rungs’ ladders removing the pins and stoppers from their bases (fig.15).
NOTE: fix the pins around the bottom rung of the ladder (fig.15).
7.1.1. Place the ‘2-rung’ ladder onto the ‘7-rung’ ladder and pre-assemble the diagonals as shown in the diagrams below (fig.16).
7.1.2. Install the boosters on the base of the scaffolding and assemble the lower diagonal attachments. Replace the 4 pins on the bottom of the booster so that they can be locked into the base.
STABILIZER ASSEMBLY
8.1. Installation of stabilizers fastened to the uprights by means of two wing nut clamps (fig.17):
8.2. The stabilizer clamps must abut against the rung concerned.
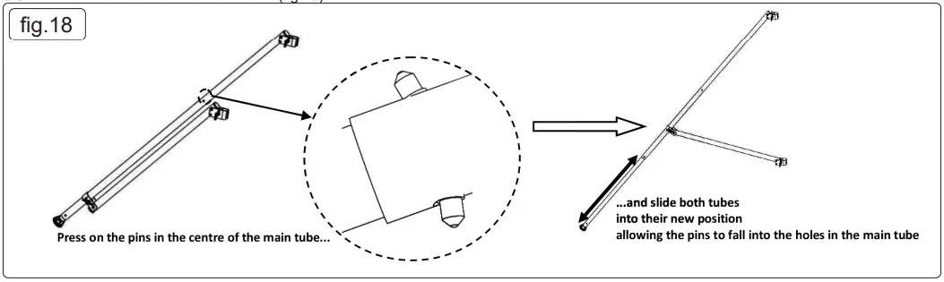
8.3. These stabilizers are extendible (fig.18):
8.4. Assemble the stabilizers on the uprights of the scaffolding observing the values and quantities in the diagram below (fig.19):
8.5. To tighten the stabilizers, unscrew the wing nut at the intersection between the two stabilizer sections and gently press the caliper to slide it downwards before tightening the nut again (fig.20).
PLATFORM PROTECTION
9.1. Install the 1st platform on the 5th rung, remaining seated on the latter, position the braces inside the uprights on the rungs as shown in the diagram (fig.21) and assemble the 2nd platform on the 13th rung (fig.22) and install the braces and toeboards around this platform.
9.2. Make sure that the hooks are properly locked into the base! 
9.3. Start from the base assembled and attach the brace to the 1st rung. Prepare the ‘2 rungs’ and ‘7 rungs’ ladders removing the pins and stoppers from their bases.
NOTE: fix the pins around the bottom rung of the ladder


PRIOR TO USE
10.1. The conformity of the assembly must be verified by the site safety manager appointed by the company director.
10.2. The following elements will be verified:
- The supports.
- The assembly.
- The environment.
- The brakes.
- Wedging systems (to make up for local leveling defects).
10.3. The information in the instructions affixed to the base MUST be adhered to.
OPERATION
11.1. These instructions do not replace the regulations in force that must be observed.
- It is important to respect the admissible loads on the bases and the structure.
- Horizontal forces must not exceed 30kg.
- Maximum wind with stabilisers = 45km/h.
11.2. Working area: - Keep away from bare current-carrying conductors.
- Ensure that access to equipment is prohibited in areas that are accessible to the public.
- Mark out the installation area if it is to be accessed by machinery, vehicles, etc.
- Make sure that there are no aerial obstacles in the maneuvering area.
- Provide a bearing race on soft terrain.
11.3. The following are prohibited: - Using a gibbet (manual included) positioned on the exterior of the scaffolding.
- Covering mobile scaffolding even partially.
- Increasing the height beyond the authorized level.
- Using components other than those provided and described in the parts list.
- Using the scaffolding without its stabilizers.

- Using scaffolding that has not been assembled vertically (tolerance: 1%).
- Using scaffolding that has not been assembled according to the instructions of this manual.
- Creating a bridge between the scaffolding and a building or between two pieces of scaffolding.
- Jumping on the bases.
- Accessing the work base from the outside.
- Using boards as a base.
- Leaning an access ladder against the scaffolding.
- Anchoring the product is prohibited. If winds are higher than 45km/h, the unit must be disassembled.
MOVING THE TOWER
- Mobile scaffolding must only be moved manually on a solid, level floor without any obstacles on the ground or in the air. The normal walking speed must not be exceeded during relocation.
- Mobile scaffolding must be moved on a floor with a maximum gradient of 1%.
- Mobile scaffolding must never be towed by a motor vehicle.
- Mobile scaffolding must never be moved in the presence of wind speeds in excess of 35 km/h.
- The stabilizers must remain attached to the mobile scaffolding during relocation (minimum play between the supporting plate and the floor).
- The floor on which the mobile scaffolding is moved must be capable of bearing lowered loads.
- A bearing race must be provided on soft terrain.
- Mobile scaffolding must not be moved if staff or equipment are still present.
- The scaffolding must not be lifted using the main crane or an overhead crane.
- The scaffolding should be “pushed” rather than “pulled”.

TRANSPORT AND DOORWAYS
13.1. The SSCL range can fit through doors with a width of 0.8m and a clear headroom of 1.9m.
13.2. Equipment and small tools may also be transported.
MAINTENANCE
14.1. VERIFICATION:
14.1.1. Inspect the parts prior to each assembly paying particular attention to:
- The wheel brakes.
- The safety equipment (pin, sleeve, lock, etc.).
- The hooks on the work base and their attachments.
- The plywood work bases.
- The stabilizer pipe clamps
14.1.2. All parts which show signs of: - Permanent deformation.
- Drill holes.
- Notches (caused by grinding for example).
- Significant oxidation. … must be discarded!
In case of doubt, replace the component.
14.2. MAINTENANCE
14.2.1. Keep parts clean and safety equipment in good working order.
14.2.2. Replace or clean all plates or stickers providing instructions for use and safety information.
14.3. VERIFICATION:
14.3.1. The statutory verifications (provided for in the order of 21 December 2004) are broken down as follows:
14.3.2. Verification prior to the service launch on each installation site:
– prior to initial use,
– in the event of dismantling followed by reassembly of the scaffolding,
– following a change to the usage, atmospheric or environmental conditions which could affect safety when using the scaffolding,
– following an interruption in usage for at least one month.
14.3.3. This verification includes an examination of suitability, assembly, and installation and an examination of the general condition of the facilities. The traceability of this verification will be recorded in the establishment’s safety register.
14.4. DAILY VERIFICATION
14.4.1. This consists of examining the general condition of the facilities.
14.4.2. The traceability of this verification is recorded in a sheet provided on the access hatch.
14.5. QUARTERLY VERIFICATION
14.5.1. Since the scope of this verification in the case of mobile scaffolding is comparable to that of the daily verification, a verification carried out at least once every 3 months is recorded in the establishment’s safety register.
NOTE: These verifications may only be carried out by members of staff in possession of a certificate of competency issued by the head of the establishment with the reference “Verifier and User”.
DISMANTLING & FOLDING
15.1. PRIOR TO DISMANTLING:
15.1.1. Ensure that the scaffolding is stable:
Brake wheels blocked.
Stabilizers correctly positioned, etc.
15.1.2. Use ropes to handle elements if necessary.
15.2. PRIOR TO HANDLING:
15.2.1. Replace the pins and stoppers on the elements concerned.
15.2.2. Isolate the damaged components to be replaced.
15.3. DURING DISMANTLING:
15.3.1. Follow the assembly procedure in reverse order.
15.3.2. Follow the instructions below for the folding base:

ENVIRONMENT PROTECTION
Recycle unwanted materials instead of disposing of them as waste. All tools, accessories, and packaging should be sorted, taken to a recycling center, and disposed of in a manner that is compatible with the environment. When the product becomes completely unserviceable and requires disposal, drain any fluids (if applicable) into approved containers and dispose of the product and fluids according to local regulations.
Note: It is our policy to continually improve products and as such we reserve the right to alter data, specifications, and component parts without prior notice. Please note that other versions of this product are available. If you require documentation for alternative versions, please email or call our technical team at [email protected] or 01284 757505.
Important: No Liability is accepted for incorrect use of this product.
Warranty: Guarantee is 12 months from purchase date, proof of which is required for any claim.
Sealey Group, Kempson Way, Suffolk Business Park, Bury St Edmunds, Suffolk. IP32 7AR
01284 757500
01284 703534
[email protected]
www.sealey.co.uk
© Jack Sealey Limited
Original Language Version
SSCL1.V2, SSCL3, SSCL4 Issue:5 (1) 26/11/21



















