SEALEY PH250.V4 Power Hoist

Product Information
- Product Name: 250KG / 400KG Power Hoist
- Model Number: PH250.V4/PH400.V3
- Manufacturer: Sealey
This product is manufactured to a high standard and is designed to provide years of trouble-free performance when used according to the instructions and properly maintained.
It is important to read and understand the instructions provided in this manual. Failure to follow the instructions may result in damage to the product, personal injury, and will invalidate the warranty.
Product Usage Instructions
Safety Precautions:
Wear protective gloves and safety footwear.
Electrical Safety:
Before using the hoist, it is the user’s responsibility to check the following:
- Inspect all electrical equipment, appliances, power supply leads, plugs, and connections for wear and damage.
- Sealey recommends using a Residual Current Device (RCD) with all electrical products.
- If used for business purposes, the hoist must be maintained in a safe condition and routinely Portable Appliance Test (PAT) tested.
- WARNING! It is the user’s responsibility to check the following:
- Check all electrical equipment and appliances to ensure that they are safe before using. Inspect power supply leads, plugs and all electrical connections for wear and damage. Sealey recommend that an RCD (Residual Current Device) is used with all electrical products. If used in the course of business duties, it must be maintained in a safe condition and routinely PAT (Portable Appliance Test) tested. Electrical safety information, it is important that the following information is read and understood.
- Ensure that the insulation on all cables and on the appliance is safe before connecting it to the power supply.
- regularly inspect power supply cables and plugs for wear or damage and check all connections to ensure that they are secure.
- Ensure that the voltage rating on the appliance suits the power supply to be used and that the plug is fitted with the correct fuse – see fuse rating in these instructions.
- DO NOT pull or carry the appliance by the power cable.
- DO NOT pull the plug from the socket by the cable.
- DO NOT use worn or damaged cables, plugs or connectors. Ensure that any faulty item is repaired or replaced immediately by a qualified electrician.
- This product is fitted with a BS1363/A 3 pin plug. If the cable or plug is damaged during use, switch off the electricity supply and remove from use. Ensure that repairs are carried out by a qualified electrician. Replace a damaged plug with a BS1363/A 3 pin plug. If in doubt contact a qualified electrician.
- Connect the GREEN/YELLOW earth wire to the earth terminal ‘E’.
- Connect the BROWN live wire to the live terminal ‘L’.
- Connect the BLUE neutral wire to the neutral terminal ‘N’.
- Ensure that the cable outer sheath extends inside the cable restraint and that the restraint is tight. Sealey recommend that repairs are carried out by a qualified electrician.
Recommended fuse rating
- PH250 .V4 – 10 Amp
- PH400.V3 – 13 Amp
Important Electrical Safety Information
- Ensure that the insulation on all cables and on the appliance is safe before connecting it to the power supply.
- Regularly inspect power supply cables and plugs for wear or damage and check all connections to ensure they are secure.
- Ensure that the voltage rating on the appliance matches the power supply being used and that the plug is fitted with the correct fuse (refer to fuse rating in the instructions).
- Do not pull or carry the hoist by the power cable.
- Do not pull the plug from the socket by the cable.
- Do not use worn or damaged cables, plugs, or connectors. Immediately repair or replace any faulty item with the help of a qualified electrician.
- If the cable or plug is damaged during use, switch off the electricity supply and remove from use. Repairs should be carried out by a qualified electrician.
- When connecting the hoist to the power supply, follow the wiring instructions:
- Connect the GREEN/YELLOW earth wire to the earth terminal ‘E’.
- Connect the BROWN live wire to the live terminal ‘L’.
- Connect the BLUE neutral wire to the neutral terminal ‘N’.
- Ensure that the cable outer sheath extends inside the cable restraint and that the restraint is tight.
- Sealey recommends that repairs are carried out by a qualified electrician.
General Safety
- Ensure compliance with Health & Safety, local authority, and general workshop practice regulations when using this equipment.
- Familiarize yourself with the application, limitations, and potential hazards of the hoist.
- Disconnect the hoist from the mains power before changing accessories, servicing, or performing any maintenance.
- Maintain the hoist in good condition by using an authorized service agent.
- Replace or repair damaged parts using genuine parts only. Unauthorized parts may be dangerous and will invalidate the warranty.
- WARNING! Ensure Health & Safety, local authority, and general workshop practice regulations are adhered to when using this equipment.
- Familiarise yourself with the application, limitations and potential hazards of the hoist.
- WARNING! Disconnect the hoist from the mains power before changing accessories, servicing or performing any maintenance.
- Maintain the hoist in good condition (use an authorised service agent).
- Replace or repair damaged parts. Use genuine parts only. Unauthorised parts may be dangerous and will invalidate the warranty.
- Locate hoist in a suitable work area, keep area clean and tidy and free from unrelated materials. Ensure that there is adequate lighting.
- WARNING! Ensure that the mounting for the hoist is capable of supporting the rated capacity of the hoist (plus the weight of the hoist) without failure and that the hoist is mounted horizontally.
- Keep the hoist clean for best and safest performance and check moving parts alignment regularly.
- Remove ill fitting clothing. Remove ties, watches, rings and other loose jewellery and contain and/or tie back long hair.
- Keep children and unauthorised persons away from the work area.
- Ensure the load is correctly secured before operating the hoist.
- Keep hands away from the cable reel when winding the hoist in.
- DO NOT use the hoist for any purpose other than that for which it is designed.
- DO NOT operate the hoist if any parts are damaged or missing as this may cause failure and/or possible personal injury.
- DO NOT exceed the rated capacity of the hoist.
- DO NOT adjust or tamper with the maximum lift cut-out mechanism.
- DO NOT use the hoist out of doors.
- DO NOT get the hoist wet or use in damp or wet locations or areas where there is condensation.
- DO NOT allow untrained persons to operate the hoist.
- DO NOT operate the hoist when you are tired or under the influence of alcohol, drugs or intoxicating medication.
- DO NOT use the hoist where there are flammable liquids, solids or gases such as paint solvents, etc.
- DO NOT attempt to lift angled loads or to drag loads with the hoist. The centre of gravity of the load must always be directly below the hoist.
- DO NOT allow the load to swing beneath the hoist.
- DO NOT allow a raised and supported load to fall and thus shock load the mounting, hoist, cable and hook.
- DO NOT use more than one hoist to lift a load.
- DO NOT leave the hoist unattended with a suspended load.
- DO NOT wrap the hoist cable around the load.
- DO NOT use the hoist to lift dangerous materials.
- DO NOT use the hoist to lift people.
- Use a qualified person to lubricate and maintain the hoist.
- When not in use and before carrying out repairs/maintenance isolate the hoist from the power supply.
- DANGER! Ensure that personnel are prevented from passing beneath the hoist and load.
Thank you for purchasing a Sealey product. Manufactured to a high standard, this product will, if used according to these instructions, and properly maintained, give you years of trouble free performance.
IMPORTANT: PLEASE READ THESE INSTRUCTIONS CAREFULLY. NOTE THE SAFE OPERATIONAL REQUIREMENTS, WARNINGS & CAUTIONS. USE THE PRODUCT CORRECTLY AND WITH CARE FOR THE PURPOSE FOR WHICH IT IS INTENDED. FAILURE TO DO SO MAY CAUSE DAMAGE AND/OR PERSONAL INJURY AND WILL INVALIDATE THE WARRANTY. KEEP THESE INSTRUCTIONS SAFE FOR FUTURE USE.
INTRODUCTION
Approved to EU and UK Lifting Gear Regulations. These hoists are intended for use where a suitable support facility exists. Support brackets are included with the equipment.
The support bar is not included.
SPECIFICATION
- Model no…………………………………………PH250.V4/PH400.V3
- Capacity double cable…………………………………..250kg/400kg
- Capacity single cable……………………………………125kg/200kg
- Current……………………………………………………………2.2A/3.3A
- Group of mechanisms………………………………………………..M1
- Lift height double cable………………………………………………6m
- Lift height single cable……………………………………………..12m
- Lift speed (max)………………………………………………….8m/min
- Minimum rope tensile strength……….1870N/mm²/1770N/mm²
- Motor power…………………………………………………500W/750W
- Power Supply Cable Length:…………………………………….1.3m
- Rope diameter…………………………………………….3mm/3.8mm
- Voltage………………………………………………………..230V~50Hz
- Work rate………………………………………………………………….S3
MOUNTING
Unpack the hoist and check contents against the items listed below.
Should there be any damaged or missing parts contact your supplier immediately.
Contents
- Hoist assembly.
- Double line pulley and hook (loosely assembled).
- Four each of: bolts, spring washers and washers.
- Two mounting brackets.
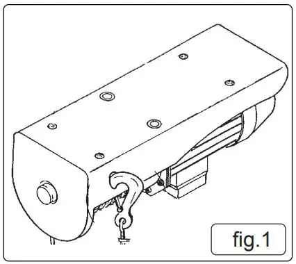
Ensure that the selected hoist support is sufficiently strong and will also hold the hoist in a horizontal position. If alternative mounting brackets are fabricated, ensure that these are at least as strong as those provided, and align with the mounting holes (fig.1.A) in the hoist.
OPERATION
- WARNING! Before using the hoist ensure that you have read, understood and apply the safety instructions in Section 1.
- IMPORTANT: In an emergency press the emergency stop button to halt the hoist (fig.2.7), to release the emergency stop button, turn it clockwise.
- Ensure that the load to be lifted is directly below the hoist and that any lifting straps, ropes or chains being used are capable of supporting the weight.
- With mains power switched on, operate control switch (fig.2.1) to bring hook to load height. Press lower half of switch to lower hook and upper half to raise hook. Release switch to stop hoist.
- Attach hoist hook (fig.2.2) to load, ensuring that safety bar (fig.2.3) is fully closed. Use control switch (fig.2.1) to raise or lower the load to the required height.
- To carry out a double line lift, first hook the single line hook in aperture in hoist frame (fig.3.1). Then take double line pulley and hook (fig.3.2), remove ‘R’ pin, shaft and washers and undo nyloc nuts and remove small bolts (fig.3.3). Place pulley on cable loop between hoist drum and single line hook. Replace hook and refit shaft,washers and ‘R’ pin, then refit small bolts and tighten the nyloc nuts on them. Ensure that pulley is free to rotate. Proceed as above in 5.1. to 5.4.
- Notes:
- It is important not to completely empty the cable drum, it is designed so that if the cable is run out to it’s end, the cable will engage with the safety bar (fig.2.6) and cut the motor out, and there will still be sufficient windings on the drum. If however the cable is being pulled out of the hoist at an angle, it
may not engage with the safety bar, so caution is needed in this situation. - In order to prevent the motor/gearbox from overheating, the hoist should not be operated for longer than four minutes at any one time. Any period of use should be followed by a similar period with the hoist at rest.
- Do not wind loose cable onto drum – ensure that cable is always under tension.
- It is important not to completely empty the cable drum, it is designed so that if the cable is run out to it’s end, the cable will engage with the safety bar (fig.2.6) and cut the motor out, and there will still be sufficient windings on the drum. If however the cable is being pulled out of the hoist at an angle, it



MAINTENANCE
- The hoist should be thoroughly checked over at regular intervals to ensure that it is undamaged and is functioning correctly.
- Isolate from the power supply and inspect the following for any signs of damage, wear or looseness, as appropriate:
- Lifting cable
- Electrical cables/connections
- Control switch
- Mounting brackets/bolts
- Support structure
- Rectify any faults that are found, before using the hoist again.
- Reconnect to power supply and check for correct operation of the control switch and the maximum lift cut-out switch – the hoist should stop when the counterweight (fig.2.4) lifts the cut-out arm (fig.2.5).
WEEE REGULATIONS
Dispose of this product at the end of its working life in compliance with the EU Directive on Waste Electrical and Electronic Equipment (WEEE). When the product is no longer required, it must be disposed of in an environmentally protective way. Contact your local solid waste authority for recycling information.
ENVIRONMENT PROTECTION
Recycle unwanted materials instead of disposing of them as waste. All tools, accessories and packaging should be sorted, taken to a recycling centre and disposed of in a manner which is compatible with the environment. When the product becomes completely unserviceable and requires disposal, drain any fluids (if applicable) into approved containers and dispose of the product and fluids according to local regulations.
Note: It is our policy to continually improve products and as such we reserve the right to alter data, specifications and component parts without prior notice. Please note that other versions of this product are available. If you require documentation for alternative versions, please email or call our technical team on [email protected] or 01284 757505.
Important: No Liability is accepted for incorrect use of this product.
Warranty: Guarantee is 12 months from purchase date, proof of which is required for any claim.
Sealey Group, Kempson Way, Suffolk Business Park, Bury St Edmunds, Suffolk. IP32 7AR
- 01284 757500
- [email protected]
- www.sealey.co.uk


















