SEALEY LH251 Mini Lever Hoist 250KG

Thank you for purchasing a Sealey product. Manufactured to a high standard, this product will, if used according to these instructions, and properly maintained, give you years of trouble-free performance.
IMPORTANT: PLEASE READ THESE INSTRUCTIONS CAREFULLY. NOTE THE SAFE OPERATIONAL REQUIREMENTS, WARNINGS & CAUTIONS. USE THE PRODUCT CORRECTLY AND WITH CARE FOR THE PURPOSE FOR WHICH IT IS INTENDED. FAILURE TO DO SO MAY CAUSE DAMAGE AND/OR PERSONAL INJURY AND WILL INVALIDATE THE WARRANTY. KEEP THESE INSTRUCTIONS SAFE FOR FUTURE USE.
GENERAL
Identification Supplier: Sealey Power Products,
Kempson Way, Suffolk Business Park, Bury St Edmunds, Suffolk, IP32 7AR. Model No: LH251
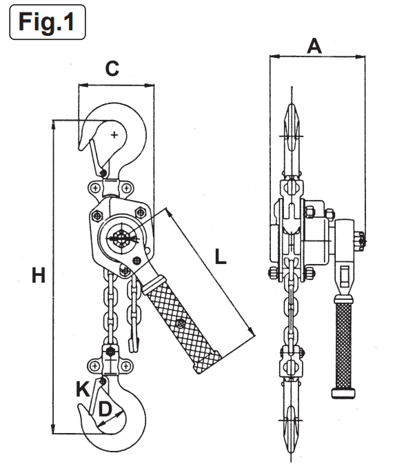
Technical Data (A, C, D, K, and L refer to fig.1)
- Model No:………………………………………………………………LH251
- Capacity:………………………………………………………………..250kg
- Test Load:……………………………………………………………….375kg
- Load Chain Ø:.………………………………………………………….4mm
- Pulling Effort to Lift Full Load:..…………………………………..25kgf
- Head Room:.…………………………………………………………220mm
- Chain Falls:.…………………………………………………………………..1
- Chain Length:..………………………………………………………….1.2m
- Lever Length (L):..………………………………………………….160mm
- Overall Width (C):…………………………………………………….85mm
- Overall Depth (A):.……………………………………………………92mm
- Operating Clearance:……………………………………………….60mm
- Hook Aperture (K):……………………………………………………20mm
- Maximum Hook Capacity Ø (D):…………………………………30mm
- Weight:..…………………………………………………………………….2kg
- a) Design Capability: Test Load 50% overload.
- b) For applications – see Section 3.
- c) For information on parts and materials requiring specialised repair techniques – see Section 4.
- d) Ambient operating temperature is between -10°C and +50°C
safety
- Ensure that the lever hoist is in a good working order and condition. Follow the inspection requirements as described in Section 6.
- Maintenance. Take immediate action to repair or replace damaged parts by contacting your supplier. Ensure that all accessory lifting devices are suitably certified. If lever hoist is damaged, remove from service immediately.
- Use recommended parts only. The use of unauthorised parts may be dangerous and will invalidate the warranty.
WARNING! Failure to heed safety and warning instructions may result in damage and/or personal injury and will invalidate the warranty.
- This lever hoist is designed for lifting within a garage or workshop environment.
- Ensure the support for the lever hoist is capable of withstanding a load of at least 1½ times the lever hoist safe working load.
- Keep the lever hoist clean for the best and safest performance.
- Locate the lever hoist in a suitable, well lit work area.
- Keep work area clean and tidy and free from unrelated materials.
- Ensure all non-essential persons keep a safe distance whilst the lever hoist is in use.
- Keep children and unauthorised persons away from the working area.
- Do avoid injury, be fully aware of your own and other people’s locations, in relation to the lifting, and lowering, of the load.
- Keep a sound footing and balance, and ensure the floor is not slippery
- Ensure load sling(s) are fully engaged in load hook and that hook safety bar is in the closed position.
- Raise and lower in a smooth, controlled manner and DO NOT shock load the lever hoist by allowing the attached load to fall freely, even for very short distances. Lower load with care, ensuring that you are fully aware of the condition of the surface onto which the load is to be placed.
- Check the brake operation by stopping when the load has been raised a short distance (100mm) and ensuring that it is held with no
downward creep. - Use a qualified person to lubricate and maintain the lever hoist.
- DANGER: Use the lever hoist for lifting only, NOT for supporting the lifted load.
- DO NOT use the lever hoist in an explosive or corrosive atmosphere.
- DO NOT operate the lever hoist if damaged.
- DO NOT allow untrained persons to operate the lever hoist.
- DO NOT exceed the rated capacity (safe working load) of the lever hoist.
- DO NOT attempt to lift a load if the lever hoist is kinked or knotted.
- DO NOT try to raise a load with two, or more, lever hoists – use a single block of adequate capacity.
- DO NOT use the lever hoist to drag the load across the floor. Always position the load directly below the hoist.
- DO NOT wrap the lever hoist around the load – always use separate and suitable slings/chains/ropes of the correct capacity.
- DO NOT allow anyone to stand or pass beneath the raised load.
- DO NOT use the lever hoist for purposes other than that for which it is designed.
- DO NOT use whilst under the influence of drugs, alcohol, or intoxicating medication.
- When not in use, store in a safe, dry, childproof location
OPERATION
NOTE: ENSURE THAT YOU HAVE READ AND UNDERSTOOD THE SAFETY INSTRUCTIONS AT THE BEGINNING OF THIS SECTION BEFORE YOU OPERATE THE LEVER HOIST.
- (Refer to Section 6 regarding inspection before each and every use).
- A risk assessment must be carried out before undertaking any operations with the lever hoist.
- Ensure that the lever hoist is suspended from a structure capable of supporting at least 1½ times the safe working load of the hoist and that the hoist hook is fully engaged, with the safety bar closed.
- Confirm that the load does not exceed the Safe Working Load of the hoist.
- Ensure that slings/chains/ropes around the load are adequate and in good condition and that the load is directly below block.
- Attach slings/chains/ropes to hoist load hook and ensure safety bar is closed.
- Select ‘UP’and smoothly use ratchet handle until load chain is taut, confirm that it is vertical (i.e. not pulling at an angle).
- Start to raise load and check that it is level, with no possibility of the load tilting and/or slipping from its restraints. If necessary lower load and readjust slings to obtain a safe, level lift. Stop lifting at approximately 100mm to check that brake will hold load.
- Continue to raise load to required height in a slow and controlled manner
- DO NOT raise so far that load hook comes into contact with the hoist.
- To lower the load, select ‘DOWN’ and use the ratchet handle. Lower smoothly and slowly, do not lower so far as to completely extend the full length of the load chain.
- If, at any time, the lever hoist will not move in either direction DO NOT attempt to force it but, after arranging safe support for any suspended load, have the block inspected by an Authorised Service Agent.
MAINTENANCE
LUBRICATION
Lubricate the load chain and both hook shanks regularly
INSPECTION/EXAMINATION
- INSPECTION AND EXAMINATION OF LEVER HOIST BEFORE USE
- Before each use of the lever hoist, an inspection must be performed for damage, loose or missing parts.
- The lever hoist must be examined immediately if it has been subject to an abnormal load or shock. It is recommended that such an examination is made by an authorized service agent.
- The owner and/or operator must be aware that repair of this equipment will require specialized knowledge and facilities.
- It is recommended that an annual examination of the lever hoist is made by an authorized service agent.
- Unauthorized parts may be dangerous and will invalidate the warranty.
- Note! Please see the Definition of ‘inspection’ and ‘examination’ below.
- Inspection:
- Looking at the lever hoist for defects and checking the operation of the hooks, the load chain, the brake device, and the lubrication of the block without loading it. This is much more than a check but does not normally require any part of the lever hoist to be dismantled, other than the removal or opening of covers or housings.
- Examination:
- Verification that the lever hoist can safely continue in service including a functional test of all safety devices i.e. the brake device etc to verify that they operate within the required tolerances. An examination is more thorough than an inspection.
- ASSEMBLY
- The lever hoist is delivered assembled. Unpack the product and check contents against the parts list in these instructions. Should there be any damaged or missing parts, contact your supplier immediately. It is recommended that two people lift the heavier models from their boxes and hook them onto the support to be used.
STORAGE
Store in a safe, dry childproof location.
- RESPONSIBILITIES:
- OWNER’S AND OPERATOR’S RESPONSIBILITIES
- The owner and/or operator shall study these instructions and retain them for future use.
- Understanding instructions and warnings.
- The owner and/or operator shall understand the operating instructions and warnings before operating the lever hoist.
- Warning information must be emphasized and understood.
- If the operator is not fluent in English, the product instructions and warnings must be read to, and discussed with, the operator in the operator’s native language by the owner, making sure the operator understands the contents.
- Damaged Lever hoists.
- Any lever hoist which appears to be damaged, badly worn, or operates abnormally, MUST BE REMOVED FROM SERVICE!
- It is recommended that necessary repairs be made by an authorized service agent.
- End of service.
- Through years of normal wear, the lever hoist will eventually become unserviceable. When this happens ensure that it is disposed
of in accordance with local authority regulations.
UK environment PROTECTION
- Recycle unwanted materials instead of disposing of them as waste. All tools, accessories and packaging should be sorted, taken to a recycling centre and disposed of in a manner that is compatible with the environment. When the product becomes completely unserviceable and requires disposal, drain any fluids (if applicable) into approved containers and dispose of the product and fluids according to local regulations.
- Note: It is our policy to continually improve products and as such we reserve the right to alter data, specifications and component parts without prior notice.
- Important: No Liability is accepted for incorrect use of this product.
- Warranty: The guarantee is 12 months from the purchase date, proof of which is required for any claim.
- Sealey Group, Kempson Way, Suffolk Business Park, Bury St Edmunds, Suffolk. IP32 7AR 01284 757500 01284 703534 [email protected] www.sealey.co.uk
- UK description and Function:
- .Model/Type……………………………………………………………………………………………………………………………………………………………………………………………………………………………………………………….
- Manufacturing Date/Serial Number where applicable:…………………………………………………………………………………………………………………………………………………………………………………………………………………………………This declaration of conformity is issued under the sole responsibility of the manufacturer: Sealey EU Ltd, Farney Street, Carrickmacross, Co. Monaghan, A81 PK68 IrelandTechnical file compiled by: Sealey EU LtdBeing the responsible person appointed by the manufacturer. Signed ……………….
………………………………….. Date ……………………………………………………….Name ……………………………………………………..Position …………………………………………………Place: Carrickmacross28/07/2021Steve Buckle.Marketing Director.References to harmonised standard(s)EN 13157+A1:2009 …………………………………………………………………………………………………………………………………………………………………………………………………………………………………………………………………………………………………………………………………………………………………………………………………………………………………………………………………………………………………………………………………………………………………………………………………………………………………………………………………………………………………………………………………………………………………………………………………………………………………………………………………………………………………………………………………………………………………………………………………………………………………… - Sealey EU Ltd, Farney Street, Carrickmacross, Co. Monaghan, A81 PK68 Ireland [email protected] www.sealey.ieEC

………………………………….. Date ……………………………………………………….Name ……………………………………………………..Position …………………………………………………Place: Carrickmacross28/07/2021Steve Buckle.Marketing Director.References to harmonised standard(s)EN 13157+A1:2009 ……………………………………………………………………………………………………………………………………………………………………………………………………………………………………………………………………………………………………………………………………………………………………………………………………………………………………………………………………………………………………………………………………………………………………………………………………………………………………………………………………………………………………………………………………………………………………………………………………………………………………………………………………………………………………………………………………………………………………………………………………………………………………
















