Lighting 06840 LED Converter
Instruction Manual
Important Information
We recommend that luminaires are installed by a qualified electrician ensuring the installation complies with current IEE wiring regulations BS7671:2018 & local building control.
- All tests should be carried out in accordance to EN 50172:2004.
- BELL will not accept responsibility for any claims arising from a poor installation.
- Operating Temperature 0°C to +35°C.
- Do not cover with any insulation.
This product may contain substances that can be hazardous to the environment if not disposed of properly. Electrical and electronic equipment should never be disposed of with general household waste but must be separated for its correct treatment and recovery.
Where possible recycle your packaging.

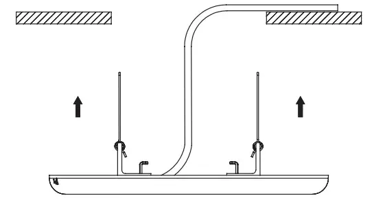
Surface Mounted Installation
Step 1
Take out the lamp and accessory pack from box.
Step 2

Slide the spring to the edge and remove them.
Step 3
Knock-in the plastic anchor into ceiling, fix bracket with screw.
Step 4

Choose preferred CCT or power by slide switch. (Ignore this step if without the function)
Step 5
Connect wires with L,N, and do insulation treatment.
Step 6
Aim the groove at the installation bracket, rotate the lamp clockwise unit it is firmly fixed turn on.
Recessed into ceiling
Step 1
Open a hole with size 65mm~205mm
Step 2
Rotate the bracket clockwise until it fix tightly with lamp groove.
Step 3

Adjust snap to a proper cutout size;
Choose preferred CCT or power by slide switch. (Ignore this step if without the function)
Step 4
Connect wires with L,N, and do insulation treatment.
Step 5

Step 6

Make sure the lamp fixed tightly, turn on.
Technical Helpline +44 (0)1924 893380
www.belllighting.co.uk
British Electric Lamps Ltd
Unit A Foxbridge Way, Normanton Industrial Estate
Normanton, West Yorkshire. WF6 1TN
T: +44 (0)1924 893380 F: +44 (0)1924 894320 E: [email protected]
www.belllighting.co.uk

















