THE SHARPER IMAGE 202111-01 Outdoor Table Lamp User Manual
INSTRUCTIONS PERTAINING TO THE RISK OF INJURY TO PERSONS:、
To reduce the risk of INJURY TO PERSONS:
- Do not look directly at lighted bulb.
- Keep lamp away from materials that may burn.
- Do not remain in light if skin feels warm.
- This lamp is operated by Lithium in the base. Please note:
a. DO NOT disassemble this lamp base.
b. DO NOT use this lamp near a fire or flame.
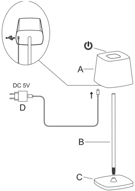
ASSEMBLY INSTRUCTIONS:
- Lay out all parts on a smooth surface as shown in the illustration.
- Screw the tube (B) into the base (C) and tighten.
- Screw the shade (A) into the tube(B) and tighten.
- Touch the top of the lamp shade to turn on/off. Touch and hold to adjust the brightness.

CHARGING LAMP:
- USB cable is included. Charge using any USB charging port. Power input: DC 5V 1000mA (adapter block not included).
- Charge time approximately 6-7 hours. Lasting time approximately 10-12 hours.
- The LED indicator light in the shade is red while lamp is charging.
- The LED indicator light in the shade is blue when lamp is fully charged.
MAINTENANCE
- To clean, use a soft cloth.
- Do not use any chemical or abrasive cleaners.
CAUTIONS:
- Do not over charge this lamp. It may damage the battery.
- When the light is low, it is best to turn light off and charge. Do not use while charging a low battery. This helps protect the life of the battery.
- Be sure lamp receives a charge at least once per month to keep lithium battery active.
- The battery of this lamp is not replaceable.
NOTE:
This lamp uses specially formulated LEDs that simulate the characteristics of the sun. The light will appear brighter and whiter compared to a normal incandescent bulb and will provide many of the benefits of natural sunlight. In addition, these LEDs are energy efficient and eco-friendly. They are not replaceable.
SAVE THESE INSTRUCTIONS Manufacturer Info: [email protected]/
Tel: 978-494-6324















