Paulmann 954.58 URail LED Pendant Capsule II 6W

What In The Box

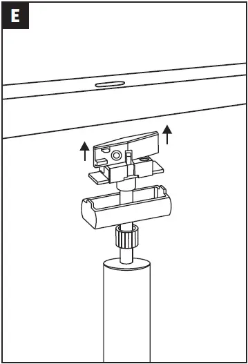
Tools

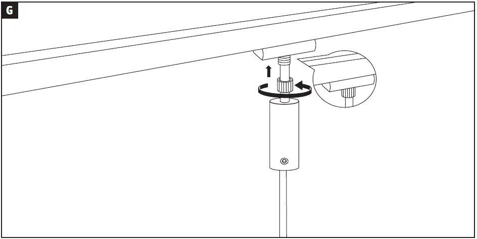
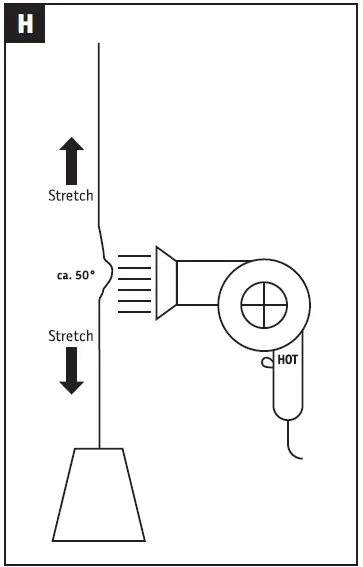
Installation








This product contains a light source with energy efficiency class <see above>
Replaceability: (1) Light source or (4) operating device can be replaced by end users without permanent damage to the luminaire. (2) Light source or (5) operating device can be replaced by a qualified electrician without permanently damaging the luminaire. (3) Light source or (6) operating device is not replaceable, the luminaire must be replaced.
















