HOBO RXW-RPTR-900 RXW Repeater

Adding a Repeater to the HOBO net® Wireless Sensor Network
Important: Keep the repeater near the station while completing these steps.
If you are setting up a new station, follow the instructions in the station quick start guide before setting up this repeater (go to www.onsetcomp.com/manuals/24500-rx2105-and-rx2106-manual for RX2105 and RX2106 stations or www.onsetcomp.com/manuals/rx3000-qsg for RX3000 stations).
- Press the Select button on the station to switch to the module with the manager (module 2 on RX2105 or RX2106 stations).

- Press the Search button. The magnifying glass icon blinks while the station is in search mode waiting for repeaters to join the network.

- Open the repeater door and install the rechargeable batteries. Press this button on the repeater for 3 seconds.

- Watch the repeater LCD while it joins the network:
- This signal strength icon blinks while searching for a network.

- Once a network is found, the icon stops blinking and the bars cycle from left to right.

- The network connection “x” icon blinks while the repeater completes the registration process, which may take up to five minutes.

- Once the repeater has finished joining the network, the “x” icon is no longer displayed and the channel count on the station LCD increases by one for the repeater battery.

- This signal strength icon blinks while searching for a network.
- Press the Search button on the station again to stop the search for repeaters.

- Go to www.hobolink.com to monitor repeater status and health. See the HOBO link Help for details.
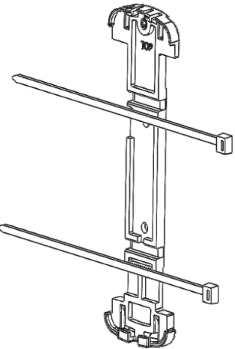
Installing the Bracket and Repeater
- Orient the bracket so the text TOP is facing upwards.

- To install the bracket onto a wall, use the two long screws included in the package. Screw the bracket to a wall using the two holes on the mid-section of the bracket.

- To install the bracket onto a pole, slip a cable tie through each of the channels on the bracket and fasten the tie around the pole.

- Insert the bottom of the repeater into the retaining clips on the bottom of the bracket then press the top of the repeater into the clips at the top of the bracket.

- Use the short screw included in the package to fasten the repeater to the bracket.

- Close the repeater and use a padlock to keep it secure. Note: Ensure that the seal is clean from foreign debris.
Mounting and Positioning the Repeater
- Position the repeater towards the sun, making sure the solar panel is oriented so that it receives optimal sunlight throughout each season. It may be necessary to periodically adjust the repeater position as the path of the sunlight changes throughout the year or if tree and leaf growth alters the amount of sunlight reaching the solar panel.
- Make sure the repeater is mounted a minimum of 1.8 m (6 feet) from the ground or vegetation to help maximize distance and signal strength.
- Consider using plastic poles such as PVC to mount the repeater as certain types of metal could decrease the signal strength.
- Repeaters cannot transmit data to each other if there is an obstruction between them, such as a hill or mountain in the example diagram on the left. If there is an obstruction in the path of two repeaters or between a repeater and the manager, then use a repeater mounted on the obstruction between the two as shown in the diagram on the right.

- For specifications, complete mounting guidelines, and other details about this repeater, refer to the full product manual. Scan the code at left or go to www.onsetcomp.com/support/manuals/22249-rxw-rptr-manual.
1-508-759-9500 (U.S. and International)
1-800-LOGGERS (564-4377) (U.S. only)
www.onsetcomp.com/support/contact

































