Aruba 370 Series Outdoor Access Points
Installation Guide
![]()
The Aruba 370 Series outdoor wireless access points (AP-374, AP-375 and AP-377) support IEEE 802.11ac Wave 2 standard, delivering high performance with the MU-MIMO (Multi-User Multiple-Input, Multiple-Output) technology, while also supporting 802.11a/b/g/n wireless services.
The 370 Series outdoor wireless access points provide the following capabilities:
- IEEE802.11a/b/g/n/ac operation as a wireless access point
- IEEE802.11a/b/g/n/ac operation as a wireless air monitor
- IEEE802.11a/b/g/n/ac spectrum monitor
- Compatibility with IEEE 802.3at PoE
Guide Overview
- “Hardware Overview” on page 2 provides a detailed hardware overview of the 370 Series access points.
- “Before You Begin” on page 6 provides key questions to ask and items to consider when deploying an outdoor wireless network.
- “Installing the Access Point” on page 8 describes the multi-step process for a successful installation and deployment of the 370 Series access points.
- “Safety and Regulatory Compliance” on page 13 provides an overview of safety and regulatory compliance information.
Package Contents
- 370 Series access point
- Ethernet cable gland x1
- USB console cable x1
- Copper lug x1
- M4x6 screw x1
- Startup guide
- Simplified Declaration of Conformity
Tools Required
- Phillips screwdriver (#2 for M4x6 screw)
- Flat blade screwdriver (Ethernet cable gland covers)
- 8mm allen or hex key (USB console cover)
The weatherproof caps for Ethernet, Console, and power interfaces are connected to the access point, not loose in the package.
Mounting kits for use with the 370 Series access points are sold separately. Contact your Aruba sales representative for details.
Inform your supplier if there are any incorrect, missing, or damaged parts. If possible, retain the carton, including the original packing materials. Use these materials to repack and return the unit to the supplier if needed.
Rev 07 | February 2020
Hardware Overview
Figure 1 AP-374 Front View (with Aesthetic Cover)

- System LED
The antenna connectors of AP-374 are covered by an aesthetic cover. The aesthetic cover can be removed when necessary.
Figure 2 AP-375 Front View

- System LED
Figure 3 AP-377 Front View

LED
The 370 Series access point is equipped with one LED that indicates the system status of the access point.
Table 1 370 Series LED Meanings during Boot Up
| LED | Color/State | Meaning |
| System LED | Off | No power to AP |
| Red | Initial power-up | |
| Green – Flashing | AP booting | |
| Green – Steady | AP ready and 1000Mbps Ethernet link established. The LED turns off after 1200 seconds | |
| Green – Yellow, 6 seconds period | AP ready and 10/100Mbps Ethernet link established. The LED turns off after 1200 seconds |
Table 2 370 Series LED Meanings during Operation
| LED | Color/State | Meaning |
| System LED | Solid Red | General fault |
| One blink off every 3 seconds | Radio 0 fault (5 GHz) | |
| Two quick blink off 0.5 seconds apart cycled every 3 seconds | Radio 1 fault (2.4GHz) |
Figure 4 AP-374 Rear View

- Grounding Point
- AC Power Interface
- E1/SFP
- USB Console Port and Reset button
- E0/POE
Figure 5 AP-375 Rear View

- Grounding Point
- AC Power Interface
- E1/SFP
- USB Console Port and Reset button
- E0/POE
Figure 6 AP-377 Rear View

- Grounding Point
- AC Power Interface
- E1/SFP
- USB Console Port, Reset button & LED
- E0/POE
E0/POE
The 370 Series access point is equipped with one 10/100/1000 Base-T auto-sensing MDI/MDX Ethernet port. This port supports wired-network connectivity, in addition to Power over Ethernet (PoE) from IEEE 802.3at compliant power sources.
This access point accepts 56V DC (802.3at) nominal as a standard powered device (PD) from a Power Sourcing Equipment (PSE) such as a PoE midspan injector, or network infrastructure that supports PoE. This port has an RJ-45 female connector with the pin-outs shown in Figure 7.
E1/SFP Port
The 370 Series access point is equipped with one 1000 Base-X small form-factor pluggable (SFP) port for fiber-optic network connections. The applicable SFP modules includes:
- Aruba SFP-LX-EXT SFP module (part number: Q8N52A)
- Aruba SFP-SX-EXT SFP module (part number Q8N53A)
The applicable SFP cable gland is Aruba CKIT-OD-SFP SFP cable gland (part number: Q8N54A). The SFP module and cable gland are sold separately. Contact your Aruba sales representative for details.
Figure 7 Gigabit Ethernet Port Pin-Out
1000Base-T Gigabit Ethernet Port RJ-45 Female Pin-Out

Signal Name Function
BI_DA+ Bi-directional pair +A, POE Negative
BI_DA- Bi-directional pair -A, POE Negative
BI_DB+ Bi-directional pair +B, POE Positive
BI_DC+ Bi-directional pair +C, POE Positive
BI_DC- Bi-directional pair -C, POE Positive
BI_DB- Bi-directional pair -B, POE Positive
BI_DD+ Bi-directional pair +D, POE Negative
BI_DD- Bi-directional pair -D, POE Negative
Grounding Point
Always remember to protect the access point by installing grounding lines. The ground connection must be complete before connecting power to the access point enclosure.
USB Console Port
The USB Micro-B console port allows you to connect the access point to a laptop or serial console for direct management. Use the included USB console cable to connect the access point. You can download the necessary driver for USB-UART adapter from support.arubanetworks.com under the Tools & Resources tab.
You need a proper 8mm allen or hex key to open the cover of the USB Console port.
Use the following setting to access the terminal:
Table 3 Console Settings
| Baud Rate | Data Bits | Parity | Stop Bits | Flow Control |
| 9600 | 8 | None | 1 | None |
The reset button can be used to return the access point to factory default settings. To reset the access point:
- Power off the AP.
- Press and hold the reset button using a small, narrow object, such as a paperclip.
- Power-on the AP without releasing the reset button. The system LED will flash within 5 seconds.
- Release the reset button.
The system LED will flash again within 15 seconds indicating that the reset is completed. The AP will now continue to boot with the factory default settings.
AC Power Interface
The 370 Series access point is capable of AC power in the range of 100 – 240 VAC. The power cord or power connector kit is sold separately.
External Antenna Connectors
The AP-374 access point is equipped with six external antenna connectors. The connectors are labeled 2G0, 2G1, 5G0, 5G1, 5G2, and 5G3.
External antennas for this device must be installed by an Aruba Certified Mobility Professional (ACMP) or other Aruba-certified technician, using manufacturer-approved antennas only.
The Equivalent Isotropically Radiated Power (EIRP) levels for all external antenna devices must not exceed the regulatory limit set by the host country/domain.
Installers are required to record the antenna gain for this device in the system management software.
Figure 8 AP-374 Bottom View (without Aesthetic Cover)

Before You Begin
FCC Statement: Improper termination of access points installed in the United States configured to non-US model controllers will be in violation of the FCC grant of equipment authorization. Any such willful or intentional violation may result in a requirement by the FCC for immediate termination of operation and may be subject to forfeiture (47 CFR 1.80).
Pre-Installation Network Requirements
The instructions in this section are applicable to the 370 Series access points running ArubaOS only.
After WLAN planning is complete and the appropriate products and their placement have been determined, the Aruba controller(s) must be installed and initial setup performed before the Aruba access points are deployed. For initial setup of the controller, refer to the ArubaOS Quick Start Guide for the software version installed on your controller.
Pre-Installation Checklist
Before installing your 370 Series access point, be sure that you have the following:
- CAT5E UTP cable or better
- IEEE 802.3at compliant PoE source or AC power source
For 370 Series access point running ArubaOS only:
- Aruba controller provisioned on the network
- Layer 2/3 network connectivity to your access point
- One of the following network services:
- Aruba Discovery Protocol (ADP)
- DNS server with an “A” record
- DHCP Server with vendor specific options
Aruba in compliance with governmental requirements, has designed the 370 Series access points so that only authorized network administrators can change configuration settings. For more information about AP configuration, refer to the ArubaOS Quick Start Guide and ArubaOS/Instant User Guide.
Access points are radio transmission devices and as such are subject to governmental regulation. Network administrators responsible for the configuration and operation of access points must comply with local broadcast regulations. Specifically, access points must use channel assignments appropriate to the location in which the access point will be used.
Verifying Pre-Installation Connectivity
The instructions in this section are applicable to the 370 Series access points running ArubaOS only.
Before you install access points in a network environment, make sure that the access points will be able to locate and connect to the controller when they are powered on. Specifically, you must verify the following conditions:
- When connected to the network, each access point is assigned a valid IP address.
- Access points are able to locate the controller.
Refer to the ArubaOS Quick Start Guide for instructions on locating and connecting to the controller.
Outdoor Planning and Deployment Considerations
Prior to deploying an outdoor wireless network, the environment must be evaluated to plan for a successful WLAN deployment. Successfully evaluating the environment enables the proper selection of routers and antennas and assists in the determination of their placement for optimal RF coverage. This process is considered WLAN or RF planning and Aruba’s system engineers can assist in the outdoor planning process.
The rules for the 5600-5650 MHz band vary by region.
Identifying Specific Installation Locations
You can mount the 370 Series access point on a wall or pole. Use the AP placement map generated by Aruba’s RF Plan software application to determine the proper installation location(s). Each location should be as close as possible to the center of the intended coverage area and should be free from obstructions or obvious sources of interference. These RF absorbers/reflectors/interference sources will impact RF propagation and should have been accounted for during the planning phase and adjusted for in RF plan.
Identifying Known RF Absorbers/Reflectors/Interference Sources
Identifying known RF absorbers, reflectors, and interference sources while in the field during the installation phase is critical. Make sure that these sources are taken into consideration when you attach an AP to its fixed location. Examples of sources that degrade RF performance include:
- Cement and brick
- Objects that contain water
- Metal
- Microwave ovens
- Wireless phones and headsets
Installing the Access Point
Service to all Aruba products should be performed by trained service personnel only.
Using Mount Kits
The 370 Series access point can be installed on a wall or attached to a pole by using mount kits:
Table 4 Applicable Mount Kits for 370 Series Access Point
| Part Number | Description |
| JW052A | AP-270-MNT-V1 long mount kit for wall and vertical pole mounting, 300 mm from vertical mounting asset. |
| JW053A | AP-270-MNT-V2 short mount kit for wall and vertical pole mounting, 75 mm from vertical mounting asset. |
| JW054A | AP-270-MNT-H1 mount kit for hanging from inclined or horizontal structure. |
| JW055A | AP-270-MNT-H2 flush mount kit for wall and ceiling mounting. |
The 370 Series access point does not ship with any mount kits. These mount kits are available as accessories and must be ordered separately.
For installation instructions on AP-270-MNT-V1, AP-270-MNT-V2, AP-270-MNT-H1 and AP-270-MNT-H2 mount kit, please refer to the AP-270-MNT-V1 Installation Guide, AP-270-MNT-V2 Installation Guide, AP-270-MNT-H1 Installation Guide and AP-270-MNT-H2 Installation Guide respectively.
Mounting instructions for the antennas for the AP-374 access points are provided with the antennas. The mounting must be consistent with the instructions provided to ensure compliance with US and Canadian regulatory requirements when used outdoors.
This equipment is intended for installation in a RESTRICTED ACCESS LOCATION attached to a pole or installed on a wall. Installers should disconnect power before working with or near the AP-377 access point.
Grounding the Access Point
The grounding must be completed before powering up the access point. The grounding wire should be #8 AWG.
- Peel the cover of one end of the grounding wire and place the bare grounding wire into the included copper lug, and press firmly with the crimping pliers.
- Fasten the copper lug to the grounding hole on the access point with the included M4 x6 screw.
Connecting the Ethernet Cable
To connect the Ethernet cable to the access point, perform the following steps using the Ethernet cable glands that ships with your access point.
Failure to use the included Ethernet cable glands can lead to connectivity and POE issues.
The cable is not included and must be purchased separately. Purchase a suitable UV-resistant, outdoor rated, CAT 5E or better RJ45 cable for use with the access point.
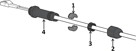
Figure 9 Installing the Ethernet Cable Gland

- Split Grommet
- Clip
- Sealing Nut
- Gland Body
- Remove the dust cap from the Ethernet port
- Slide the sealing nut, clip, split grommet and gland body over the cable.
- Insert the RJ45 connector to the Ethernet port.
- Screw the gland body onto the Ethernet port.
- Combine the two split parts of the grommet over the cable, and move it towards the gland body until it locates at the recess of the gland body.
- Move the clip towards the gland body, passing over the grommet, until the wavy end of the clip properly fits into the wavy end of the gland body.
- Screw the sealing nut onto the gland body.
Two grommets are provided in the package for use with the Ethernet cables. One is applicable for cables with 4-6 mm diameter, and another is applicable for cables with 6-10 mm diameter.
Connecting the Power Cable
Installation and service of Aruba products should be performed by Professional Installers in a manner that is consistent with the electrical code in force in the jurisdiction of deployment. In many countries this will require a licensed electrician to perform this operation. In Japan, this is a Certified Electrician by Ministry of Economy, Trade, and Industry.
The 370 Series access point does not ship with any power cables. These are available as accessories and should be ordered separately.
The 370 Series product offers two ways to connect the unit to AC power. Two power cord variants are offered and a connector kit that allows the customer to assemble their own cable if the standard offering does not meet deployment needs.
The applicable SKUs for these options are:
Table 5 SKUs for Powering Options
| Part Number | Description |
| JW081A | PC-OD-AC-P-NA weatherproof AC power cable(5m), North America version |
| JW080A | PC-OD-AC-P-INT weatherproof AC power cable(5m), International (EU) version |
| JW079A | CKIT-OD-AC-P weatherproof connector kit for AC power interface |
The difference between the NA and INTL part variants is the color coding of the conductors.
- The North American cable uses Black (Hot), White (Neutral), and Green (Ground).
- The INTL part follows the international schema of Brown (Hot), Blue (Neutral) and Yellow/Green (Ground)
Please only use included or Aruba specified cables, power cords, AC power supplies and batteries. The power cord should not be used with other electric equipment than what is specified by Aruba.
Best Practice for Outdoor Connection to AC Mains
In all circumstances and with any outdoor infrastructure the recommended practice is to connect to AC mains in an order grade weather protected junction box. This needs to be implemented by a qualified resource in a manner that is consistent with the electrical code in force in the jurisdiction of deployment. In many countries this will require a licensed electrician to perform this operation.
In Japan, this would is a Certified Electrician by Ministry of Economy, Trade and Industry.
The use of plugs with infrastructure equipment is suitable only for temporary installs where nuisance tripping of GFI plugs is considered tolerable. Should it be desired to attach a plug to the cable assemblies then the installer is expected to follow all directions provided with the plug end in a fashion consistent with local electrical code.
Use of the CKIT-OD-AC-P
Assembly instructions for this part are shipped with the part. All instructions must be followed to ensure proper assembly of the connector onto the cable. The required specifications for third party cable used with the CKIT solution are as follows:
- AC power cable specifications (when using AC connector kit and custom cable): minimum voltage/current rating 250V/1A, diameter 6-12mm, rated for outdoor use and UV exposure
AC Power Cable Connector PIN OUT
Figure 10 AC power cable connector

- Hot
- Ground
- Neutral
Connecting the Power Cable
- Remove the weatherproof cap on the power interface.
- Insert the power cable connector into the power interface and hand-fasten the locknut.
Connecting the Fiber-optic Cable
The fiber-optic cable is not included in the package and must be purchased separately. Purchase a suitable diameter 6-12 mm, UV-resistant, outdoor rated cable for use with the access point.
When the fiber-optic cable (with the cable gland) is connected to the access point, the AP-270-MNT-V2 mount kit is not applicable for mounting the access point.
When using the AP-270-MNT-H1 mount kit, the access point with the fiber-optic cable (with the cable gland) connected can only tilt down 30 degree in maximum.
To connect the fiber-optic cable to the access point, perform the following steps.
1. Remove the dust cap from the SFP port.
2. Insert the SFP module into the SFP port, and ensure it in place.
3. Slide the sealing nut, clip, split grommet and gland body over the cable.
Figure 11 Sliding the Fiber-optic Cable Gland Components over the Cable

- Split Grommet
- Sealing Nut
- Clip
- Gland Body
4. Insert the optic fiber connector of the cable into the SFP module.
5. Screw the gland body onto the SFP port
Figure 12 Screwing the Gland Body onto the SFP Port

6. Combine the two split parts of the grommet over the cable, and move it towards the gland body until it locates at the recess of the gland body.
7. Move the clip towards the gland body, passing over the grommet, until the wavy end of the clip properly fits into the wavy end of the gland body.
Figure 13 Installing the Fiber-optic Cable Gland


8. Screw the sealing nut onto the gland body.
Figure 14 Completed Installation

Disconnecting the Fiber-optic Cable
To disconnect the fiber-optic cable from the access point, perform the following steps.
- Turn counterclockwise to loosen the sealing nut.
- Pull the clip and seal out simultaneously.
- Unscrew the gland body from the SFP port
- Depress to release the latch on the cable and simultaneously pull the cable out of the port.
Verifying Post-Installation Connectivity
The integrated LEDs on the access point can be used to verify that the access point is receiving power and initializing successfully (see Table 1 and Table 2). For instructions on initial setup and software configuration, refer to the AP Software Quick Start Guide.
Electrical and Environmental Specifications
Electrical
- Ethernet
- One 10/100/1000Base-T auto-sensing Ethernet RJ-45 Interfaces
- Power over Ethernet (IEEE 802.3at compliant)
- Power
- AC input voltage and current: 100VAC to 240VAC, 0.5A
- Connect only to IEC 60950-1 or IEC60601-1 3rd edition products and power sources
Environmental
- Operating
- Temperature: -40ºC to 65ºC (-40ºF to 149ºF)
- Storage
- Temperature: -40ºC to 70ºC (-40ºF to 158ºF)
- Humidity: 5% to 93% non-condensing
For additional specifications on this product, please refer to the data sheet at www.arubanetworks.com.
Regulatory Model Name
The following regulatory model names apply to the 370 Series:
- AP-374: APEX0374
- AP-375: APEX0375
- AP-377: APEX0377
Safety and Regulatory Compliance
FCC
To view the FCC ID for controller-managed access points:
- Log into the controller WebUI
- Navigate to Maintenance > Controller > About
To view the FCC ID for Instant access points:
- Log into the virtual controller WebUI
- Navigate to Maintenance > About
RF Radiation Exposure Statement: This equipment complies with RF radiation exposure limits. This equipment should be installed and operated with a minimum distance of 13.78 inches (35cm) between the radiator and your body for 2.4 GHz and 5 GHz operations. This transmitter must not be co-located or operating in conjunction with any other antenna or transmitter.
The device could automatically discontinue transmission in case of absence of information to transmit, or operational failure. Note that this is not intended to prohibit transmission of control or signaling information or the use of repetitive codes where required by the technology.
Changes or modifications to this unit not expressly approved by the party responsible for compliance could void the user’s authority to operate this equipment.
FCC Class B Part 15
This equipment has been tested and found to comply with the limits for a Class B digital device, pursuant to Part 15 of the FCC Rules. These limits are designed to provide reasonable protection against harmful interference in a residential installation. This equipment generates, uses and can radiate radio frequency energy and, if not installed and used in accordance with the manufacturer’s instructions, may cause harmful interference to radio communications.
However, there is no guarantee that interference will not occur in a particular installation. If this equipment does cause harmful interference to radio or television reception, which can be determined by turning the equipment off and on, the user is encouraged to try to correct the interference by one or more of the following measures:
- Reorient or relocate the receiving antenna.
- Increase the separation between the equipment and receiver.
- Connect the equipment to an outlet on a circuit different from that to which the receiver is connected.
- Consult the dealer or an experienced radio or TV technician for help.
Canada
Under Industry Canada regulations, this radio transmitter may only operate using an antenna of a type and maximum (or lesser) gain approved for the transmitter by Industry Canada. To reduce potential radio interference to other users, the antenna type and its gain should be so chosen that the equivalent isotropically radiated power (e.i.r.p.) is not more than that necessary for successful communication.
This device complies with Industry Canada license-exempt RSS standard(s).
Operation is subject to the following two conditions: (1) this device may not cause interference, and (2) this device must accept any interference, including interference that may cause undesired operation of the device.
When operated in the 5.15 to 5.25 GHz frequency range, this device is restricted to indoor use to reduce the potential for harmful interference with co-channel Mobile Satellite Systems.
Canadian Caution
This radio transmitter model APEX0374/APEX0375/APEX0377 has been approved by Industry Canada to operate with the antenna types listed in the table in the online ordering guide (link provided below) with the maximum permissible gain indicated. Antenna types not included in this list, having a gain greater than the maximum gain indicated for that type, are strictly prohibited for use with this device.
http://www.arubanetworks.com/assets/og/OG_AP-370Series.pdf
EU Regulatory Conformance
Aruba hereby declares that the 370 Series wireless access points are in compliance with directives listed below:
- Radio Equipment Directive 2014/53/EU
- REACH Regulation (EC) No.: 1907/2006
- RoHS Directive 2011
- WEEE Directive 2012
The Declaration of Conformity made under Radio Equipment Directive 2014/53/EU is available for viewing at: www.hpe.com/eu/certificates. Select the document that corresponds to your device’s model number as it is indicated on the product label
Medical
- Equipment not suitable for use in the presence of flammable mixtures.
- Connect to only IEC 60950-1 or IEC 60601-1 certified products and power sources. The end user is responsible for the resulting medical system complies with the requirements of IEC 60601-1.
- Wipe with a dry cloth, no additional maintenance required.
- No serviceable parts, the unit must be sent back to the manufacturer for repair.
- No modifications are allowed without Aruba approval.
This device intended to be installed outdoors.
This device has no IEC/EN60601-1-2 essential performance.
Use of this equipment adjacent to or stacked with other equipment should be avoided because it could result in improper operation. If such use is necessary, this equipment and the other equipment should be observed to verify that they are operating normally.
Compliance is based on the use of Aruba approved accessories. Refer to the ordering guide for this access point at www.arubanetworks.com.
Use of accessories, transducers and cables other than those specified or provided by the manufacturer of this equipment could result in increased electromagnetic emissions or decreased electromagnetic immunity of this equipment and result in improper operation.
Portable RF communications equipment (including peripherals such as antenna cables and external antennas) should be used no closer than 30 cm (12 inches) to any part of the access point. Otherwise, degradation of the performance of this equipment could result.
The emissions characteristics of this equipment make it suitable for use in industrial areas and hospitals (CISPR 11 class A). If it is used in a residential environment (for which CISPR 11 class B is normally required) this equipment might not offer adequate protection to radio-frequency communication services. The user might need to take mitigation measures, such as relocating or re-orienting the equipment.
| Radio Type | Frequency Range | Power (EIRP) | Modulation |
| BLE | 2400-2483.5MHz | <10dBm | GFSK |
| 802.11 | 2400-2483.5MHz | 20dBm | CCK, OFDM |
| 802.11 | 5150-5250MHz | 23dBm | OFDM |
| 802.11 | 5250-5350MHz | 23dBm | OFDM |
| 802.11 | 5500-5700MHz | 30dBm | OFDM |
| 802.11 | 5725-5850MHz | 36dBm | OFDM |
Actual output power values will depend on national restrictions and the antennas used.
| Complies with: | Emissions – CISPR11/EN55011, Group 1, Class B |
| Immunity: | |
| Electrostatic discharge: | +/-8kV contact/ +/-15kV air |
| Radiated RF EM fields: | 80MHz – 2.7GHz, 3V/m |
| Proximity fields from RF wireless communication equipment: | per Table 9 of the IEC/EN 606010-1-2 |
| RATED power frequency magnetic fields: | 30A/m |
| Electrical Fast Transients: | +/-2kV |
| Surges (line-to-line): | +/- 0.5, 1.0 |
| Surges (line-to-ground): | +/- 0.5, 1.0, 2kV |
| Conducted disturbances induced by RF fields: | 0.15MHz-80MHz, 3Vrms |
| Voltage Dips: | 0%, 0.5 cycles, 0%, 1 cycle, 70% 25/30 cycles |
| Voltage Interruptions: | 0% 250/300 cycles |
Oman
AP-374:
OMAN – TRA |
AP-375:
OMAN – TRA |
AP-377:
OMAN – TRA |
Philippines
AP-374:

Type-Approval No.
ESD-1816941C
AP-375:

Type-Approval No.
ESD-1816942C
AP-377:

Type-Approval No.
ESD-1816940C
Singapore
Complies with IDA Standards |
Contacting Support
Table 6 Contact Information
| Main Site | arubanetworks.com |
| Support Site | support.arubanetworks.com |
| Airheads Social Forums and Knowledge Base | community.arubanetworks.com |
| North American Telephone | 1-800-943-4526 (Toll Free) 1-408-754-1200 |
| International Telephones | arubanetworks.com/support-services/contact-support/ |
| Software Licensing Site | hpe.com/networking/support |
| End of Support information | arubanetworks.com/support-services/end-of-life-products/end-of-life-policy/ |
| Security Incident Response Team (SIRT) | Site: arubanetworks.com/support-services/security-bulletins/ Email: [email protected] |
Copyright
© Copyright 2020 Hewlett Packard Enterprise Development LP
Open Source Code
This product includes code licensed under the GNU General Public License, the GNU Lesser General Public License, and/or certain other open source licenses. A complete machine-readable copy of the source code corresponding to such code is available upon request. This offer is valid to anyone in receipt of this information and shall expire three years following the date of the final distribution of this product version by Hewlett Packard Enterprise Company. To obtain such source code, send a check or money order in the amount of US $10.00 to:
Hewlett Packard Enterprise Company
Attn: General Counsel
3000 Hanover Street
Palo Alto, CA 94304
USA
Warranty
This hardware product is protected by an Aruba warranty. For more details visit www.hpe.com/us/en/support.html
Aruba 370 Series Outdoor Access Points | Installation Guide
References
Aruba | Enterprise Networking and Security Solutions
Contact Support | Aruba
End of life | Aruba
Security Advisories | Aruba
Home - Airheads Community
My Networking | HPE® Official Site
Home
Aruba | Enterprise Networking and Security Solutions
Contact Support | Aruba
End of Life Policy | Aruba
Security Advisories | Aruba
Regulations certificates | Hewlett Packard Enterprise
Home



















