
Aruba Instant On AP15 Access Point
Installation Guide
The Aruba Instant On AP15 dual-radio access point supports IEEE 802.11ac Wave 2, delivering high performance with 4×4 MU-MIMO (Multi-User Multiple-input, Multiple- output), while also supporting 802.11a/b/g/n wireless services. The AP15 access point is designed for ceiling and wall mount.
Package Contents
The following materials are included with this product:
- 1 x AP15 access point
- 1 x Ceiling mount bracket (suspended ceiling rail)
- 1 x Wall mount bracket (solid surface)
- 1 x Ethernet cable
Inform your supplier if there are any incorrect, missing, or damaged parts. If possible, retain the carton, including the original packing materials. Use these materials to repack and return the unit to the supplier if needed.
Hardware Overview
The following sections outline the hardware components of the AP15 access point.
Figure 1 Aruba AP15 (front view)
LEDs
The AP15 access point has two LEDs that indicate the system and radio status of the device.
Table 1 AP15 Access Point LEDs Status
| LED | Color/State | Meaning |
| System | No Lights | The device has no power |
| Blinking Green | Device is starting | |
| Alternating Green/Amber | The device is ready for setup | |
| Solid Green | Device is ready | |
| Solid Amber | The device has detected a problem | |
| Solid Red | The device has an issue- immediate action required | |
| Radio | No Lights | Wi-Fi is not ready, wireless clients cannot connect |
| Solid Green | Wi-Fi is ready, wireless clients can connect |
Figure 2 AP15 (rear view)
Kensington Lock Slot
The AP15 is equipped with a Kensington lock slot for added security.
Ethernet Ports
The AP15 is equipped with a 10/100/1000Base-T auto-sensing MDI/MDX Ethernet port. This port supports wired network connectivity, in addition to Power over Ethernet (PoE) from IEEE 802.3af and 802.3at compliant power sources. This device accepts 56V DC (802.3at), or 48V DC (802.3af) nominal as a standard powered device (PD) from power sourcing equipment, including PoE midspan injector or a PoE-sourcing network infrastructure.
The reset button located on the bottom of the device can be used to reset the access point to factory default settings or turn off/on the LED display.
There are two ways to reset the access point to factory default settings:
Reset the AP during normal operation
Press and hold down the reset button using a small, narrow object such as a paper clip for more than 10 seconds during normal operation.
Reset the AP while powering up
- Press and hold down the reset button using a small, narrow object such as a paper clip while the access point is not powered on (either via DC power or PoE).
- Connect the power supply (DC or PoE) to the access point while the reset button is being held down.
- Release the reset button on the access point after 15 seconds.
To turn off/on the LED display, press and release the reset button using a small, narrow object, such as a paperclip for less than 10 seconds during normal operation of the access point.
Power
If PoE is not available, a proprietary Aruba 12V/30W power adapter can be used to power the AP15 access point.
Additionally, a locally-sourced AC-to-DC adapter (or any DC source) can be used to power this device, as long as it complies with all applicable local regulatory requirements and the DC interface meets the following specifications:
- 12 Vdc (+/- 5%) and at least 18W
- Center-positive 2.1/5.5 mm circular plug, 9.5 mm length
When both 802.3at and DC power sources are available, the DC power source takes precedence. The access point simultaneously draws a minimal current from the PoE source. In the event that the DC source fails, the access point switches to the 802.3at source.
Before You Begin
Refer to the sections below before beginning the installation process.
Identifying Specific Installation Locations
The AP15 access point is designed in compliance with governmental requirements so that only authorized network administrators can change the settings.
Each location should be as close as possible to the center of the intended coverage area and should be free from obstructions or obvious sources of interference. These RF absorbers/reflectors/interference sources will impact RF propagation and should be accounted for during the planning phase and adjusted.
Use of this equipment adjacent to or stacked with other equipment should be avoided because it could result in improper operation. If such use is necessary, this equipment and the other equipment should be observed to verify that they are operating normally.
Identifying Known RF Absorbers/Reflectors/Interference Sources
Identifying known RF absorbers, reflectors, and interference sources while in the field during the installation phase is critical. Make sure that these sources are taken into consideration when you attach an access point to its fixed location.
RF absorbers include:
- Cement/concrete—Old concrete has high levels of water dissipation, which dries out the concrete, allowing for potential RF propagation. New concrete has high levels of water concentration in the concrete, blocking RF signals.
- Natural Items—Fish tanks, water fountains, ponds, and trees
- Brick
RF reflectors include:
- Metal Objects—Metal pans between floors, rebar, fire doors, air conditioning/heating ducts, mesh windows,
blinds, chain link fences (depending on aperture size), refrigerators, racks, shelves, and filing cabinets. - Do not place an access point between two air conditioning/heating ducts. Make sure that access points are placed below ducts to avoid RF disturbances.
RF interference sources include:
- Microwave ovens and other 2.4 or 5 GHz objects (such as cordless phones)
- Cordless headsets such as those used in call centers or lunchrooms
Access Point Installation
The APIS access point ships with the following two mount brackets. You can choose one of them to install the AP:
- A ceiling mount bracket (see figure 3) to attach the AP to a 9/16″ or 15/16″ flat T-bar drop-tile ceiling.
- A wall mount bracket (see Figure 7)to attach the AP to a solid, flat surface, such as a wall.
The following sections provide instructions on how to use these mount brackets.
Using the Ceiling Mount Bracket
Figure 3 Ceiling Mount Bracket
- Pull the necessary cables through a prepared hole in the ceiling tile near where the access point will be
- Place the mount bracket against the back of the access point with the mount bracket at an angle of approximately 30 degrees to the tabs (see Figure 4).
- Twist the mount bracket clockwise until it snaps into place in the tabs (see 0gure 4).
Figure 4 Attaching the Ceiling Mount Bracket to the AP
- Hold the access point next to the ceiling tile rail with the ceiling tile rail mounting slots at approximately a 30- degree angle to the ceiling tile rail (see Figure 5 and Figure 6). Make sure that any cable slack is above the ceiling tile.
- Pushing toward the ceiling tile, rotate the access point clockwise until the device clicks into place on the ceiling tile rail.
Figure 5 Mounting the AP to a 15/16″ Ceiling Rail
Figure 6 Mounting the AP to a 9/16” Ceiling Rail
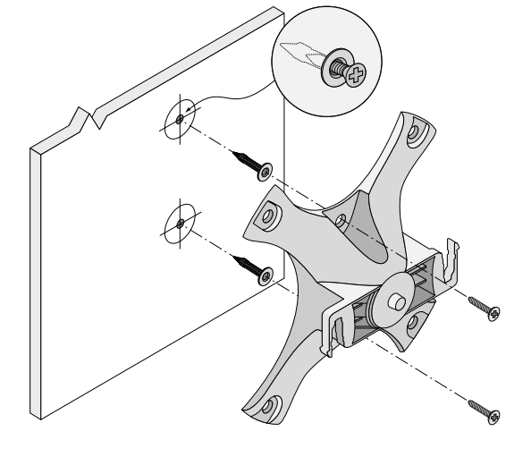
Using the Wall Mount Bracket
- Attach the wall mount bracket to the wall as shown in Figure 7 and Figure 8.
a. Install any necessary wall anchors. Wall anchors are not included in the package.
b. Align the screw holes in the mount bracket with the previously installed anchors or demarcated screw points.
c. Insert the screws to secure the mount bracket. Screws are not included in the package.
Figure 7 Attaching the Bracket to a Wal
Figure 8 Attaching the Bracket to a Wall (Alternate)
- Attach necessary cables to the AP
- Attach the AP to the secured mount bracket as shown in Figure 9.
a. Align the AP with the mount bracket, placing the AP so that its mounting tabs are at an angle of approximately 30 degrees to the mount bracket.
Pushing towards the solid surface, rotate the AP clockwise until it clicks into place (see Figure 10).
Figure 9 Attaching the AP to the Mount Bracket
Figure 10 Completed Installation
Access points are radio transmission devices and are subject to governmental regulation. Network administrators responsible for the configuration and operation of access points must comply with local broadcast regulations. Specifically, access points must use channel assignments appropriate to the location in which the access point is used.
Verifying Post-Installation Connectivity
The integrated LED on the access point can be used to verify that the access point is receiving power and initializing successfully (see Table 1).
Mobile Application Installation
Search for the “Aruba Instant On” app within the Apple App Store or Google Play to download and install the Aruba Instant On mobile app to your phone. Launch the app and follow the instructions to complete the setup. For more details, please refer to the User Guide.
Log in to Instant-On Portal
Alternately, you can set up the Aruba Instant On-access point from a web browser. Open a web browser and enter https://portal.ArubaInstantOn.com in the address bar to access the Aruba Instant On portal login screen.
In the login screen, enter your Instant On account credentials to access your site.
Figure 11 Instant On Portal Login Screen
![]()
![]()
Electrical and Environmental Specifications
Electrical
- Ethernet:
- One 100/1000 Base-T auto-sensing Ethernet RJ45 interface
- Power over Ethernet IEEE 802.3at 56VDC (nominal) and 802.3af 48VDC (nominal).
- Power:
- Direct DC source: 12Vdc nominal, +/- 5%
- Power over Ethernet (PoE): 802.3at and 802.3af compliant source
If a power adapter other than the Aruba-approved adapter is used in the US or Canada, it should be NI, listed, with an output rated 12Vdc, minimum 2A, marked “LPS” and “Class 2”, and suitable for plugging into a standard power receptacle in the US and Canada.
Environmental
- Operating:
- Temperature: 0°C to +50°C (+32°F to +122°F)
- Humidity: 5% to 93% non-condensing
- Storage and transport:
- Temperature: -40°C to +70°C (-40°F to +158°F)
- Humidity: 5% to 93% non-condensing
For indoor use only. The access point, AC adapter, and all connected cables are not designed for outdoor use.
Regulatory Model Number
- AP15 RMN: APINO315
RF Radiation Exposure Statement:
This equipment complies with RF radiation exposure limits. This equiprnent should b installed and operated with a miniature distance of 13.78 inches (35cm) between the radiator and your body for 2.4 GHz and 5 GHz operations. This transmitter must not be co-located or operating in conjunction with any other antenna or transmitter.
Changes or modifications to this unit not expressly approved by the party responsible for regulatory compliance could void the user’s authority to operate this equipment.
Toute modification effectuee sur cet equipement sans l’autorisation expresse de la partie responsable de la conformite est susceptible d’annuler son droit d’utilisation.
Federal Communication Commission
This device complies with Part 15 of the FCC Rules. Operation is subject to the following two conditions: (1)this device may not cause harmful interference, and (2) this device must accept any interference received, including interference that may cause undesired operation.
This equipment has been tested and found to comply with the limits for Class B digital devices, pursuant to Part 15 of the FCC Rules. These limits are designed to provide reasonable protection against harmful interference in a residential installation. This equipment generates, uses, and can radiate radio frequency energy and, if not installed and used in accordance with the instructions, may cause harmful interference to radio communications. However, there is no guarantee that interference will not occur in a particular installation. If this equipment does cause harmful interference to radio or television reception, which can be determined by turning the equipment off and on, the user is encouraged to try to correct the interference by one or more of the following measures:
- Reorient or relocate the receiving antenna.
- Increase the separation between the equipment and receiver.
- Connect the equipment into an outlet on a circuit that is different from that to which the receiver is
- Consult the dealer or an experienced radio or television technician for help.
Improper termination of access points installed in the United States configured to a non-US model controller is a violation of the FCC grant of equipment authorization. Any such willful or intentional violation may result in a requirement by the FCC for immediate termination of operation and may be subject to forfeiture (47 CFR 1.80). The network administrator(s) is/are responsible for ensuring that this device operates in accordance with local/ regional laws of the host domain.
Industry Canada
This Class B digital apparatus meets all of the requirements of the Canadian Interference-Causing Equipment Regulations.
In accordance with Industry Canada regulations, this radio transmitter and receiver may only be used with an antenna, the maximum type and gain of which must be approved by Industry Canada. To reduce potential radio interference, the type of antenna and its gain shall be chosen so that the equivalent isotropic radiated power (EIRP) does not exceed the values necessary for effective communication.
This device complies with Industry Canada’s license-exempt RSS regulations. Operation of this device is subject to the following two conditions: (1) this device may not cause interference, and (2) this device must accept any interference, including interference that may cause undesired operation.
When operated in the 5.15 to 5.25 GHz frequency range, this device is restricted to indoor use to reduce the potential for harmful interference with co-channel Mobile Satellite Systems.
European Union Regulatory Conformance
The Declaration of Conformity made under Radio Equipment Directive 2014/53/EU is available for viewing at:
www.hpe.com/eu/certificates. Select the document that corresponds to your device’s model number as it is indicated on the product label.
Wireless Channel Restrictions
5150-5350MHz band is limited to indoor-only in the following countries; Austria (AT), Belgium (BE), Bulgaria (BG), Croatia (HR), Cyprus (CY), Czech Republic (CZ), Denmark (DK), Estonia (EE), Finland (FI), France (FR), Germany (DE), Greece (GR), Hungary (HU), Iceland (IS), Ireland (IE), Italy (IT), Latvia (LV), Liechtenstein (LI), Lithuania (LT), Luxembourg (LU), Malta (MT), Netherlands (NL), Norway (NO), Poland (PL), Portugal (PT), Romania (RO), Slovakia (SK), Slovenia (SL), Spain (ES), Sweden (SE), Switzerland (CH), Turkey (TR), United Kingdom (UK).
| Frequency Range MHz | Max EIRP |
| 2402-2480 | 9 dBm |
| 2412-2472 | 20 dBm |
| 5150-5250 | 23 dBm |
| 5250-5350 | 23 dBm |
| 5470-5725 | 30 dBm |
| 5725-5850 | 14 dBm |
Medical
- Equipment not suitable for use in the presence of flammable
- Connect to only IEC 60950-1 or IEC 60601-1 certified product and power The end-user is responsible for the resulting medical system that complies with the requirements of IEC 60601-1.
- Wipe with a dry cloth, no additional maintenance
- No serviceable parts, the unit must be sent back to the manufacturer for
- No modifications are allowed without Aruba
This device is intended for indoor use in professional healthcare facilities.
This device has no IEC/EN60601-1-2 essential performance.
Use of this equipment adjacent to or stacked with other equipment should be avoided because it could result in improper operation. If such use is necessary, this equipment and the other equipment should be observed to verify that they are operating normally.
Compliance is based on the use of Aruba-approved accessories.
Use of accessories, transducers, and cables other than those specified or provided by the manufacturer of this equipment could result in increased electromagnetic emissions or decreased electromagnetic immunity of this equipment and result in improper operation.
Contact Aruba
| Main Site | https://www.ArubaInstantOn.com |
| Support Site | https://support.ArubaInstantOn.com |
| Aruba Instant On Community | https://community.ArubaInstantOn.com |
| North America Telephone | 1-800-943-4526 1-408-754-1200 |
| International Telephone | https://support.ArubaInstantOn.com |
Copyright
© Copyright 2019 Hewlett Packard Enterprise Development LP
Open Source Code
This product includes code licensed under the GNU General Public License, the GNU Lesser General Public License, and/or certain other open-source licenses. A complete machine-readable copy of the source code corresponding to such code is available upon request. This offer is valid to anyone in receipt of this information and shall expire three years following the date of the final distribution of this product version by Hewlett Packard Enterprise Company. To obtain such source code, send a check or money order in the amount of US $10.00 to:
Hewlett Packard Enterprise Company
Attn: General Counsel
6280 America Center Drive
San Jose, CA 95002
USA
Warranty
This hardware product is protected by an Aruba warranty. For details, visit https://support.ArubaInstantOn.com.
Figure 8 Attaching the Bracket to a Wall (Alternate)



















