
GPCK-MB1000B Recessed Ceiling Motorized Projector Lift
Instruction Manual
Instruction Manual
Recessed Ceiling Motorized Projector Lift Applicable
Model : GPCK-MB1000B
GPCK-MB1000B Recessed Ceiling Motorized Projector Lift
Please read being installation : Thank you for purchasing this product. Please read through this manual and make sure the projector lift is fit for your projector before installation.
Cautious
This product should only be installed by a qualified technician.
Warmings Please review the manual carefully to ensure it is properly installation and to avoid injury. The ceiling used must have a minimum load bearing of 12KG.
Caution For projector lift assembly only
Do not take apart Please do not take apart the accessories of mounting bracket
WARNING: Important safety instructions. It is important for the safety of persons to follow these instructions. Save these instructions.
It is important for the safety of persons to follow these instructions
– for models with fixed control, do not allow children to play with fixed controls. Keep remote controls away from children;
– Frequently examine the installation for imbalance and signs of wear or damage to cables and springs. Do not use if repair or adjustment is necessary;
– Do not stand below the product when it is working;
WARNING: Important safety instructions. Follow all instructions, since incorrect installation can lead to severe injury.
– Before installing the drive, remove any unnecessary cords and disable any equipment not needed for powered operation;
– For models with wall switch fixed control, the actuating member of a biased-off switch is to be located within direct sight of the driven part but away from moving parts. It is to be installed at a minimum height of 1,5 m; – when projector lift completely opened, the moving part at least 2.5 m above floor level or other access level.
Caution
Warnings: Please prevent projector lift from wet place to avoid electric or fire dangerous.
- Please read carefully with this instructions before installation to avoid damage to product causing by inappropriate installation or operation.
- Please keep the projector lift away from hot sources such as radiator, heating machine, fireplace, loudspeaker or other relative device.
- Only Plug with ground wire is acceptable.
- Only accessories from authorized supplier is acceptable.
- Please unplug the power wire when lighting and raining or not use with a long time.
- Please handle the repair work to the professional agent.
- Please prevent screen from water as well as putting stuff with water (such as vase) on the screen.
- As soon as the plug of the screen is connected to the power source, the screen is connecting with electricity.
- Please use the approved power line (three-core power line)/ device interface/power plug.
- Please use the rating (voltage, amps) power line (three-core power line) / device interface/power plug. If have any questions about power line/ device interface/power plug, please contact the professional people.
- After installation, please locate a power device in order to disconnect power or connect the power plug to electrical socket. This electrical socket should be installed to a convenient position. If the accident occurs during operation, please disconnect power or take out the power plug.
- The ceiling or wall used for fixture installation must be secure enough; load-bearing requirement must be 4 times of the projector lift to prevent the projector lift from falling.
Warnings ![]()
To prevent from electric dangerous. please don’t remove the cover . There is no need for users to check the parts inside, please handle the problems to professional repairman.
Please notice the nonincubated voltage of the spare parts to prevent from electric dangerous.
Please operate according to the instruction manual
Cleaning Please clean the projector and projector lift at the same time.
Accessories

Optional Accessories
Wall Switch 1pec
![]()
Construction for Projector Lift

Specifications
Product Specifications
| Model | Size(unit:mm) | Maximum projector sieturtitmm) | ||||||||
| A | B | C | D | E | F | 6 | W | H | D | |
| GPCK–MB1000B | 541.6 | 541.6 | 342 | 0-1000 | 494 | 494 | 225.7 | 365 | 150 | 425 |

Ceiling hole size
The ceiling opening size is 15mm A size, B size +15 that is for projector lift model GPCK-MB1000B. ceiling opening size is 556.6mm in A direction (541.6+15), B direction 556.6mm (541.6+15). Among them, the size of the ceiling decoration frame is: 605x605mm
Installation
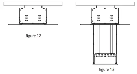
This projector lift needs to be recessed into the ceiling, and this instruction shows us the grille-ceiling as the example. Please install the projector lift according to different application. The projector lift needs to be recessed at the best viewing angle in order to improve the image. Take out all the parts from the packaging and follow the accessories guideline to ensure you have all parts.
* For the convenience and safety, please read this instruction manual carefully and choose a installation according to your requirement.

Grille—Ceiling Mount
- Choose a position according to the required space, and then take apart the ceiling (figure 1). Please measure the distance H between roof and ceiling surface correctly (figure 2)

- Ensure the security distance M, N according to the figure 3 and the model of table. Install the brackets to the roof via the screws, figure 4. (note: Due to product updates, sizes and specifications are subject to change at any time)

Drill the mounting hole first before put in the tapping screw
- First remove the bottom plate and decorative frame before installation, and then tighten the nut, as shown in Figure 5

- After flattening the projector lift, cut the elongated screw flat (cut to a Sum more than the nut, and the length cannot be longer than the square tube of the bottom frame of the projector lift), as shown in Figure 6, and then install back the decorative frame and bottom plate .

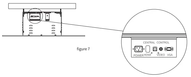
- Figure 8, connect the power cord and signal cord (Circuit wiring diagram 9)


- Cut the ceiling board(Step 1)to a suitable size, which can maintain the gap after retracting of the projector lift

- Please read the <Remote Electric Positioning) for controlling the projector lift. After the adjustment, ensure the height of projector lift can satisfy your requirement after extending. And then, ensure the bottom of projector lift must align to the ceiling afar retracting. Note: the operating must be controlled by processional people.
Electricity
Voltage: IN AC 220V 50Hz
Power:170W Current:0.77A
Instruction
1.Remote controller instruction
Button instruction for controller
1. Press ‘UP’ . projector goes up
2. Press ‘STOP’ . projector stops
3. Press ‘DOWN’ . projector goes down
Remote controller guideline:
1. Work temperature: -20° to 70°
2. Batteries: 1.5V x 2pcs, model: AAA.
3. Take out batteries if the controller will not be used for a long time.
4. Please change the batteries when signal is weak.
Installation for controller batteries Please replace the batteries when the signal of controller is weak
1. Push out the battery cover on the back of controller
2. Install the batteries as guide arrow
3. Reinstall the battery cover
Caution Install the batteries correctly
Wall-Switch Function Please follow the signs and symbols on the wall-switch

Central Control Instruction
Emitter Function
| 1 | Common Line | 5 | Switch for Retracting |
| 2 | 6 | Stop | |
| 3 | 7 | RS232 Input B | |
| 4 | Switch for Extending | 8 | RS232 Input A |
Central Control Format Agreement
1) Communications Agreement Setting : data bits: 8 bits, start bits : 1 bit, stop bit: 1 bit, baud ratio: 2400![]()
21 Directive for retracting : Of Oxeye Oxeye Oxeye OxC9
- Directive for stopping : Of Oxeye Oxeye Oxeye Orc
- Directive for extending : Of Oxeye Oxeye Oxeye OxE9 232 setting: 2400, n, 8, 1 a continuous data sends two times, each time interval of 200ms.

Grandview Projector Lift RS485 Setting Address
- RS-485, RS-232 input
A continuous data sends two times. each time interval of 200ms 3 bytes of studying address directive are custom setting address directive Central Control Format Agreement 1Communication Agreement Setting
Data Bits: 8 bits
Start Bits: 1 bit
Stop Bits: 1 bit
Baud Ratio: 2400
Common directives are in chip of projector lift and can not be changed
2) Directive for retracting : OxFF OxEE OxEE OxEE OxC9
3) Directive for stopping : OxFF OxEE OxEE OxEE OxCC
4) Directive for extending : OxFF OxEE OxEE OxEE OxE9
5) Studying address directive: OxFF OxXX OxXX OxXX OxAA - Directive Composing Instruction:
oxFF is only bit; ox stands for hexadecimal system; FF is effective bit; a directive is composed by 5 bits. Studying directive oxFF oxXX oxXX oxXX oxAA
oxFF and oxAA can not be changed, but oxXX oxXX oxXX can be changed to any 16 hex data, which stand for address bit The changed working directive
1) Directive for retracting: OxFF OxXX OxXX OxXX OxC9
2) Directive for stopping: OxFFOxXX OxXX OxXX OxCC
3) Directive for extending: Of OxXX OxXX Oxxx OxE9
4) Studying address directive: OxFF OxXX OxXX OxXX OxAA |
Example: The studying directive is oxFF ox10 ox11 ox12 oxAA which can be changed to:
5) Directive for retracting:OxFF Ox10 Ox110x12 OxC9
6) Directive for stopping: OxFF 0x10 Ox110x12
7) Directive for extending: OxCC OxFF Ox100x11 Ox12 OxE9
8) Studying address directive: OxFF Ox100x11 Ox12 OxAA - Studying Directive and Operation After connecting power, studying status will operate within the first 10 seconds. The studying directive is oxFF oxXX oxXX oxXX oxAA. The screen can be used normally after study completed, but the projector lift can not be used normally after the address bit changed, so that one port can be used to control many projector lifts.
Example: There are projector lift A and B with RS-485 port, if need to control these two projector lifts synchronously that the directive oxFF oxEE oxEE oxEE oxDD will be sent out from the port. If need to control these two projector lifts in different movement, such as projector lift A goes down and projector lift B goes up, common directive can not be used and separated by address bit at this time.
Connect the power for projector lift A, and send out directive oxFF ox10 ox11 ox12 oxAA. At the same time, the address of projector lift A is ox10 ox11 ox12. Entering the operating address of projector lift A can control this projector lift.
Directive for retracting: OxFF Ox10 Ox11 0x12 OxC9
Directive for stopping: OxFF Ox10 Ox11 Ox12 OxCC
Directive for extending: OxFF Ox10 Ox11 0x12 OxE9
Completed the studying in projector lift A, and then disconnect the power for projector lift A. Please operate the projector lift B in the same way and change the address to oxAA oxAA oxAA. Entering the operating address of projector B can control this projector lift.
Directive for retracting: OxFF OxAA0xAA OxAA OxC9
Directive for stopping: OxFFOxAAOxAA OxAA OxCC
Directive for extending: OxFFOxAAOxAA OxAA OxE9
This studying is one address bit for a long time untril next address bit change to update. After studying address bit, the common directive is still effectivr, so the address bit can not be oxEE oxEE oxEE.
Attachment 1
Compare 16 hexadecimal system and 10 hexadecimal system16 hexadecimal system 1 2 3 4 5 6 7 8 9 A B C D E F 10 hexadecimal system 1 2 3 4 5 6 7 8 9 10 12 13 14 15 16 - Remote Controller Instruction
There is matching function between controller and projector lift and then the controller needs to be
programmed before using.
1) The projector lift is at situation of load. After connecting the power within 5 seconds, please press UP button and stop button simultaneously for 5 second then release
2) Press DOWN button to ensure whether the programming works
3) If the programming fails,please repeat step 2 and 3
Projector Lift Positioning Function
There are 2 solutions to position the projector lift, which are upper/lower limitation and remote localizer
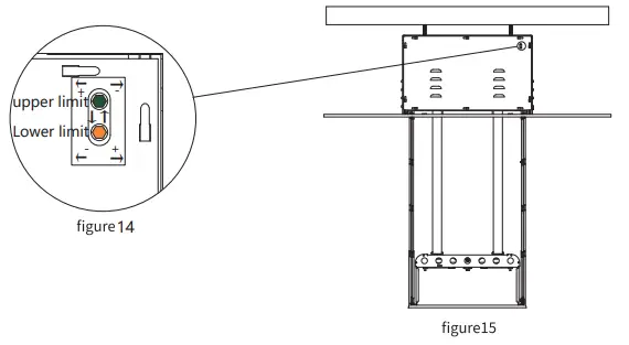
- Upper/Lower Limitation Adjustment for Sling Wires
Upper limitation and lower limitation are preset in factory, the upper limitation should be a little higher than ceiling, lower limitation is showed as numerical value D in the specification table (the upper/lower limitation for sling wire have to be regulated by professional people or dealers. Improper regulation will cause the risk of dangers)
The following operation must be controlled by professional people
a. For upper limitation adjustment, take off the knob from the hole and use the provided alien key to adjust. A clockwise adjustment will extend the projector lift (the distance of installation position of casing will increase) and a counter-clockwise adjustment will retract the projector lift (the distance of installation position of casing will decrease)
b.efore lower limitation adjustment, take off the knob from the hole and use the provided allen key to adjust. A clockwise adjustment will retract the projector lift (the distance of installation position of casing will decrease) and a counter-clockwise adjustment will extend the projector lift (the distance of installation position of casing will increase)
Kindly Reminder: Do not change the factory pre-settings for any urgency,pls operate according to the following instructions if necessary - Remote Localizer
a. When the projector lift is at loading situation, you can adjust the upper/lower limitation via the remote controller.
b. To press the localizer hole at the back of the remote controller with one small pin or equivalence for about 3 seconds and the release, then press UP button for strap to the desired position and stop, the projector lift is already reset for its retract limit.
c.To press the localier-hole at the back of the remote controller with one small pin or equivalence for about 3 seconds and release, then press DOWN button for strap to the desired position and stop, the projector lift is already reset for its retract limit.
Note: For ensuring the security of positioning function, the effective setting period of electric positioning should be 60 seconds, after 60 seconds will return to normal situation. If the setting fails within 60 seconds, please repeat as following step; to press the setting button; then LED light will turn off; press the setting button again, then LED light will turn on. In this movement, the resetting function will begin.
Motor Positioning Do not roll and retract the projector lift continuously over 4 minutes in a time to avoid overheating. If the motor overheats, keep 30 minutes for heat elimination. No lubrication needed for the motor, the drop and retract limit of the projector lift has been prepositioned to an optimal configuration before delivery. In order to avoid motor damage, please ask the local dealer or professional for consultation when a new position setting is needed
Use the M4 allen-key for adjusting the upper and lower limitation of projector lift, but the distance can not be over than the value Din specification table
CAUTIONS
Please comply the following contents for installation and use
MAINTAIN
- Please clean the projector lift with dilute detergent slightly, and then dry up the lift. Use the soft hairbrush to clean the gap

Cautions for Location
- Please keep away from hot resources dirty high temperature and high humidity.
- Do not use the projector off the large wind.

Cautions for Repairing
Please do not take apart the screws of the projector lift; if this product needs to be repaired please contact our company or dealers.
Questions & Answers
Grandview projector lift can be used for years, most problems are cost by simple incidents. If problem occurs, please find the list below for some common solutions. If problems keep on, please contact authorized agent of Grandview or call service number: (8620)84899499
| Projector Lift responds nothing to any operation | Reason | Solution |
| Battery mis-installed or powerless | Please check about the batteries with refering instruction manual. | |
| Power line disconnection | Please connect the power line with refering instruction manual. |
Three years warranty
Grandview provides three years warranty for projector lift. Contents of warranty include replacement of spare parts while problems occur with correct operation. Not include inappropriately operating projector lift or uninstall the product by self. You should reserve in advance for the repair with Grandview or appointed service center.
Imported and distribu ted in Australia by![]()
1800 251 367
[email protected]
ambertech.com.au










Kindly Reminder: Do not change the factory pre-settings for any urgency,pls operate according to the following instructions if necessary
c.To press the localier-hole at the back of the remote controller with one small pin or equivalence for about 3 seconds and release, then press DOWN button for strap to the desired position and stop, the projector lift is already reset for its retract limit.
Note: For ensuring the security of positioning function, the effective setting period of electric positioning should be 60 seconds, after 60 seconds will return to normal situation. If the setting fails within 60 seconds, please repeat as following step; to press the setting button; then LED light will turn off; press the setting button again, then LED light will turn on. In this movement, the resetting function will begin.
MAINTAIN


















