BaseAire 555 Pro Ion Generator

Tel: 1-888-641-8862
Web: www.baseaire.com
E-mail: [email protected]
Precautions in the Manual
This operating manual contains all the important information needed for the safe commissioning and use of the 555 Pro Ion Generator.
It provides you with support for operating equipment and remediation of possible problems, as well as information on disposal and customer service.
Please read this manual carefully before using the 555 Pro Ion Generator for the first time.
Please keep this operation manual in a place within reach for reference when necessary.
Please observe all safety instructions and information on use and maintenance in this manual.
If the device is available for use by others, this manual should be attached to the device.
Behind this symbol is a hazard warning, which contains instructions that, if not followed, may cause serious injury/death/property damage.
The message is preceded by a signal word, which is designated as a certain level of danger.
Danger: Dangerous serious or fatal injury
Warning : Risk of serious injury
Warning : Risk of property damage
General Safety Instructions
- Please observe the following safety instructional
- Any behavior that does not follow these instructions may cause property damage, endanger human health and damage the environment.
- This manual is part of the 555 Pro Ion Generator. Read this manual carefully before using this equipment for the first time. Please use it only in accordance with the instructions for use of this device and keep it within your reach for easy reference during use.
- If you have any unanswered questions about the use and operation of the 555 Pro Ion Generator, please do not operate the equipment. In this case, please contact Baseaire customer service or a certified expert seminar to clarify any existing ambiguities.
- There is a risk of electric shock and injury!
- Before opening the 555 Pro Ion Generator housing, make sure to disconnect the power cord.
- The product must be grounded!
- Do not connect the device to an exposed power source!
- The equipment must not be exposed to any type of liquid (rain, splashing water). If water enters the interior of the 555 Pro Ion Generator, please tum off the device and contact customer service for inspection.
- The device must not be operated in a room where there is a risk of explosion.
- Do not use any damaged equipment or components! These are repaired with special accessories.
- There is a risk of injury and damage to the equipment!
- If the cover is not completely closed, it is forbidden to put the equipment into operation!
- Do not cover the device during operation! Do not insert any objects into the device.
- Please keep the intake and exhaust ports open at all timesl
Device Description
The 555 Pro Ion Generator is used to neutralize the smell in a closed room. The fan draws air from the surrounding air, guides it through the electrodes, and then blows it out of the socket gap and returns to the room for treatment.
In this process, through the corona discharge that occurs between the electrodes, the oxygen in the indoor air is converted into singlet oxygen (0,), and then the odor molecules are oxidized and degraded. The 555 Pro Ion Generator, which in addition to singlet oxygen also produces a very small amount of ozone (O.)(max.0.05ppm/m’). These amounts amount of ozone (0,) are not harmful to health.
The odor neutralizer can effectively remove odors such as kitchen or musty odor, smoke odor, or residual odor after fire.
Technical Data
| Parameter | Value |
| Power | 11 OV – 220V I 50 – 60Hz, 0.8A |
| Airflow | 100 CFM I 170 CMH |
| Ion generator concentration | 2,000,000 Positive Ions I Sec 30,000,000 Negative Ions I Sec |
| Operating temperature | 14°F – 95°F |
| Sound Pressure Level | < 65db |
| Dimensions (LxWxH) | 9.8 x 6.5 x 8.7in |
Transportation and Storage
Warning!
- Equipment damage due to vibration
- Strong vibration will damage the electrode.
- During transportation, the safety of the 555 Pro Ion Generator must be ensured to prevent vibration and sliding.
Store
Store the 555 Pro Ion Generator in a dry place to prevent bad weather from affecting the performance of the machine.
Choose a dust-free storage location.
When not using the device, be sure to disconnect the power supply.
Installation and Commissioning
The following requirements must be mat when installing a 555 Pro Ion Generator:
- Only use the 555 Pro Ion Generator according to the parameters provided in the “Technical Data” chapter.
- Ensure that there are no obstructions at the air inlet and outlet.
- Please place the device in the center of the room as much as possible to ensure the best air circulation.
- Do not install this machine near flammable substances or gases.
- Make sure to place the device on a dry and vibration-free surface.
- Ensure that the equipment is protected from splash water.
Operations and Functions

Set Up Equipment
- By default, the power on is OFF. When the power is ON, the indicator light is on, and the Ion generator and fan are always running.
- Rotate the arrow of the knob to the corresponding position, and set the running time as the corresponding working time between 00:00 and 03:00.
- During the operation, the indicator light is on, the Ion generator sterilizer and the fan keep running, and the knob arrow returns to OFF to shut down.
Overall Workflow
When performing odor neutralization and cleaning cycles, follow the steps below:
- Place the 555 Pro Ion Generator in the center of the room.
- Make sure that the equipment and connecting cables are not damaged.
- Connect the power cable and connect the device to the power source. Observe the technical parameters.
- Set the timer to the required run time.
- Then tum on the device. The display panel will light up. The cleaning cycle will begin immediately. Once the preset time has passed, the 555 Pro Ion Generator will automatically shut down.
Warning!
The risk of ozone(03) causing harm to the human body! Although the ozone(03) produced is only a trace amount, please pay attention! During use, if you smell ozone outside the work area, stop the machine immediately. Ventilate the room thoroughly. If you no longer smell any unpleasant odors in the next 1-2 days, you do not need to tum on the 555 Pro Ion Generator to purify the air.
The treatment time required for the operating parameters depends on many factors. Aspects to consider include:
Type/strength of harmful gas.
Room size.
Temperature.
Gas source material composition.
The time the room is exposed to the source of odor.
The source of odor affects the depth of the material.
The perception of smell is subjective. Therefore, it is impossible to specify a linear reference value based on room size or temperature.
Please Eliminate the Smell As Follows:
- Before the first use, ventilate thoroughly.
- Start the 555 Pro Ion Generator. The larger the room, the longer the equipment will run.
- At the end of the treatment, there should be a noticeable decrease in odor intensity and/or a slight ozone odor.
- Note: Each time you change the setting, wait for the specified duration before making another adjustment.
After a certain period of time, before any parameter setting, thoroughly ventilate the room!
For a successful machine, in addition to the correct settings, raising the temperature of the environment is also very important. Heat increases the speed at which the odorant diffuses from the substance. Once the odor enters the air, it will be bound by oxygen.
If in winter, the indoor temperature is too low (below 12″C), the smell may come back suddenly in summer. In the cold season, additional heating helps release odor particles that have not yet spread. Therefore, the correct temperature for effective purification must be tested repeatedly to obtain the perception and evaluation of odor.
Due to this personal opinion, it is not feasible to make comprehensive recommendations on dosage and usage. Whether it’s the musty smell in the basement, the fuel smell in the garage or the musty smell of wood, everyone feels different.
Please Remember:
This device is an air purifier, not an odor modifier. Just because the neutralization and chemical combination of odors produced by electro-oxidation does not mean that fragrances will be emitted in the purified air.
Release
The device is designed such that once the set time is exceeded, it will automatically shut down.
Corresponding functions are integrated in the form of a timer (see above). After the working cycle is over, the power is automatically cut off to end the work of the machine.
Maintenance Service
In order to ensure the normal operation and trouble-free operation of the equipment, it must be cleaned and maintained regularly.
The frequency and type of maintenance work basically depend on the operating environment, and how and how long the 555 Pro Ion Generator is used. Over time, dust and moisture accumulate on the components, which may damage the function and performance of the device.
In rooms with high levels of dust and pollution or recovery after a fire (high humidity), you should check for maintenance after several uses.
In a dry environment, such as a hotel or within the permitted maintenance range, the maintenance interval may be as long as several months.
Criteria for determining the maintenance Interval
- The device is in operation
- Uninterrupted operation for several hours
- Many days per month
- In a heavily polluted room
- In a humid room
Regardless of the conditions of use described, the following signs indicate that the equipment should be maintained:
- The noise level of the fan is higher than normal.
- The electrode is damaged (typical sign: the hissing sound when singlet oxygen is transmitted is almost inaudible).
Clean
In order to ensure the normal and trouble-free operation of the equipment, the equipment must be cleaned and maintained regularly.
In the framework of regular maintenance work, it is not only necessary to check the normal condition of the equipment and its accessories, but also to perform a thorough cleaning of the equipment and its components.
Cleaning Fan
- Loosen the screws on the boot shell.
- Disassemble the shell.
- Disassemble and clean the fan. Always check whether the fan is working properly. If it is only slightly polluted, you can use a vacuum cleaner or a water tap to clean it. If it is heavily contaminated, clean the reaction generator with a soap solution. After cleaning, the fan can only be inserted after it is completely dry
Cleaning Electrode
The electrode can be cleaned in its built-in state. Before cleaning the electrode, check it for cracks or cracks. Do not use damaged parts! Use a dry {lint-free) or damp cloth to clean the components. Make sure that there are no fibers (fluff) left on the electrode after cleaning. Make sure not to use the device until the electrodes are completely dry.

Warning: Loss of electrodes causes equipment damagel Operate only with inserted electrodes!
Before contacting our customer service to solve an existing technical problem, please try to eliminate the error by following the instructions described in the “Troubleshooting” chapter.
If you have any questions about the function and operation of the 555 Pro Ion Generator, or if you want more information on claims or guarantees, please feel free to contact us.
Address: 2048 East Francis st. Ontario, CA 91761
Tel: 1-888-641-8862
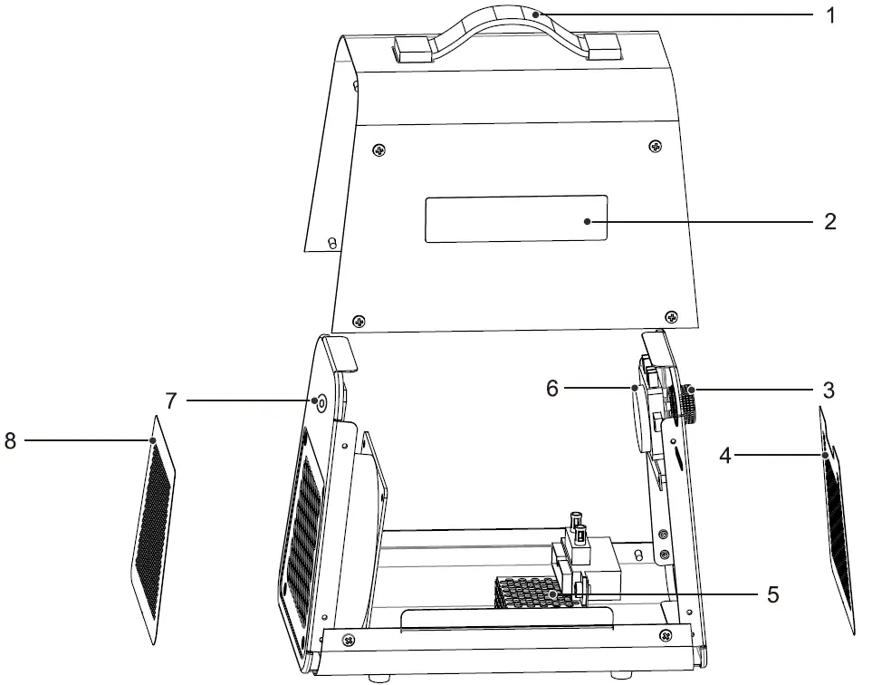
Accessories

| No. | Designation | Quantity |
| 1 | Leather handle | 1 |
| 2 | Stickers | 1 |
| 3 | Knob | 1 |
| 4 | Soft tile 1 | 1 |
| 5 | Ion generator | 1 |
| 6 | Timer | 1 |
| 7 | Power hole | 1 |
| 8 | Soft tile 2 | 1 |
Troubleshooting
| Problem | Cause | Solution |
| Device does not work. | Power supply is not connected. | Plug the plug into the socket. |
| The connection parameters do not match the technical specifications. | Check the connection to the main line. Connection parameters: 110V – 220V / 50 – 60HZ, O.BA. | |
| The fuse is blown. | Replace the damaged fuse and/or reopen the fuse. Be careful! The fuse does not need to be repaired, but it must be replaced at any time. In most cases, the fuse is triggered by a serious technical failure. Please authorized service personnel to replace each fuse! | |
| The power plug is damaged. | Disconnect the power supply of the device and check whether the power plug and connecting cable are damaged. | |
| Loud noise. | This device is placed in an uneven place. Damage to the fan and/or its bearings. | Place the device on a flat, solid, dry surface. Let certified personnel inspect the equipment. |
| Even if the cleaning process has been completed, the odor pollution still persists with the same intensity. | Reactor damage | Send the equipment to a certified professional workshop for repair. |
Electrical Wiring Diagram

Limited Warranty
All warranty benefits apply to the original owner only. Warranty cannot be transferred or assigned.
Warranty Period
Warranty becomes effective since the date of original purchase and will last for two (2} years.
Who’s Covered?
This limited warranty is only effective for the original purchaser. It is NOT transferable.
Who’s Not Covered?
This limited warranty is only effective for the original purchaser. It is NOT transferable.
- Damage caused by the owner when attempting to fix or alter the product by himself or herself.
- Damage caused by misuse, abuse, neglect, alterations or unauthorized repair.
- Natural depreciation.
How to Request Warranty Services?
To obtain the benefit of this warranty, please leave your message online (www.baseaire.com), or send an email to [email protected].
Our customer service will address your issue in 24 hours.
BaseAire Warranty Steps:
- Once receive the goods, customers must log in www.baseaire.com to fill out the warranty Registration form and submit to BaseAire company. We will receive your purchasing and installation information and save It. If no warranty registration is sent to us, warranty period will begin the day the shipment left the warehouse. Please be sure to record serial# and date of installation. You will need this information to receive the RA number.
- If warranty service is necessary, customers must contact BaseAire Tech Support by [email protected] or local technical service phone to receive a Return Authorization (RA number}. Once an RA has been issued, customers should bring the unit lo a certified repair center. BaseAire will arrange the shipping to bring the unit back lo the BaseAire warehouse (al the expen se of the customers} if customers are not available.
- After the unit has been received by BaseAire (whether at a repair center or the warehouse), BaseAire will have an initial inspection If it is determined to be invalid warranty claim (see exclusions below}, customers have to pay for all associated repair costs and shipping costs for units repair.
- Customers can pick up the unit after repair atthelr own expense for shipping. Units will have a rigorous testing before sending it back to customers.
- If the unit can no longer be fixed, end it is in the warranty period and determined to be valid claim, we will ship the customer a new unit within the same year warranty from the date of replacement.
- After parts are repaired or replaced by BaseAire, the original warranty period continues to applies until meet its deadline. No extensions to the original warranty period.
Limited Warranty Exclusions
EXCLUSIONS: DAMAGE DUE TO THE FOLLOWING IS NOT COVERED UNDER WARRANTY
- ACTS OF NATURE· INCLUDING BUT NOT LIMITED TO:
- Flooding
- Fire
- Water Damage
- Hurricane Storm Damage
- IMPROPER USAGE-INCLUDING BUT NOT LIMITED TO:
- Pool/spa/tub Applications
- Misuse, Abuse Or Tampering Whether Intentional Or Accidental
- Improper Installation Or Design
- M proper Voltage
- Lack Of Normal Care
- Failure To Follow Instructions
- CORROSION
- FREEZING
- ANY ADDITIONAL COSTS DUE TO CHANGES IN LAWS OR BUILDING CODES
- FREIGHT CHARGES
- ANY COSTS DUE TO LOST PROFIT OR DELAY
- DAMAGE TO PROPERTY
- CAUSE BEYOND CONTROL
- DIRECT, INDIRECT, COLLATERAL OR INCONSEQUENTIAL DAMAGES OF ANY KIND
THE WARRANTIES AND LIABILITIES SET FORTH ARE IN LIEU OF ALL OTHER WARRANTIES EXPRESSED OR IMPLIED IN LAW OR IN FACT, INCLUDING IMPLIED WARRANTIES OF MERCHANTABILITY AND FITNESS FOR PARTICULAR PURPOSE. BaseAire’s total liability, regardless of nature of claim shall not exceed original purchase exceed original purchase price of the product, if a product or component is replaced while under warranty, the applicable warranty period shall not be extended beyond the original warranty time period.
The foregoing shall constitute the total liability of seller in the case of defective performance of all or any of the equipment or services provided to buyer. Buyer agrees to accept and hereby accepts the foregoing as the sole and exclusive remedy for any breach or alleged breach of warranty by seller.
Any dishonesty or fraud in connection with BaseAire warranty thoroughly voids all warranty policies. BaseAire expressly reserves the right to pursue legal action in the event of dishonesty, fraud, or attempted fraud.



















