
Brosnan LED Pendant Fitting
INSTRUCTION MANUAL
Safety Warnings
• This product is only suitable for connection to a 240V~50Hz supply in accordance with current IEE wiring regulations and should be installed in accordance with local Building Regulations. They are for domestic, indoor ceiling use only, and are not suitable for a Bathroom location.
• The light fitting should be connected to a lighting circuit protected by a 5 amp fuse (or a 6 amp miniature circuit breaker).
• Before installing your light fitting always switch off the mains supply, and remove the appropriate fuse or switch off the appropriate circuit breaker before commencing installation. Ensure that no one else has access that would enable the supply to be inadvertently reconnected.
• This is a Class II, double insulated, product, and must NOT be Earthed. The terminal blocks are supplied according to the requirements of the fitting.
• This product contains non-replaceable LEDs.
• If any modification is made it will invalidate the warranty and may render the product unsafe.
Care Information
Allow 10 minutes to cool before adjusting or cleaning. Clean with a dry cloth only. Do not use liquid or abrasive cleaners on this product.
Assembly/ User Instructions
Before you start
Please read these instructions carefully before fitting and retain for reference. Check the packaging and make sure that you have all the required parts. Follow each assembly step in order to prevent incorrect assembly. Ensure that the product is fully assembled as illustrated before use. Please note – This instruction covers multiple fitting styles. While all the steps to assemble your fitting will be the same, your individual product may vary from the diagram shown below. The Light pack contains:
Light fitting.
Terminal connection block(s).
Fixing pack.
The following tools may be required:
Selection of cross and flat head screwdrivers.
Electric drill and assorted drill bits.
Wire strippers.
Electrical insulation tape.
Allen Keys
Personal protection equipment
These assembly diagrams are intended as a guide – if in doubt consult a qualified electrician.
1. Decide on the position of the light fitting / or remove existing light fitting. Take a note of the position of the electrical connections. Ensure there is a solid mounting surface, preferably a wooden joist or joist bridge to support the weight of the light fitting.
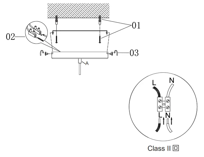
2. If you want to reduce the overall length of the fitting it is essential that this is done before the fitting is mounted to the ceiling and/ or connected to the mains supply. Undo the grub screw (A), then feed the cable up through the ceiling cup, and secure by re-tightening the grub screw. The cable must now be shortened and the excess cable cut and re-connected to the terminal block. NOTE: It is recommended the cable be no shorter than 10cm. If you are unsure about your ability to do this, we recommend you contact a qualified electrician.
3. Remove the two side screws (3) and retain the screws for re-use. Use the fixing bracket as a template to mark the screw holes. Mark the screw holes and secure to the ceiling with appropriate screw fixings (1), making sure the bracket is correctly aligned.
4. Support your fitting and connect the house wiring to the terminal block (2) – see expanded wiring details below. If there is a “Ring Circuit” and you do not understand the connections you must consult an electrician. Any loose terminal blocks – not secured to the ceiling cup – should always be covered with 2 layers of good quality insulation tape.
5. Secure the ceiling cup over the bracket by using the screws (3) removed in Point 2.
6. Turn on the power and test.

![]()

Endon Lighting, LS9 0SE
61299_61296-Brosnan-P 20180118














