CANDY CCC 60GH 1 Cooker Hood

INTRODUCTION
Thank you for choosing this cooker hood. This instruction manual is designed to provide you with all required instructions related to the installation, use and maintenance of the appliance. In order to operate the unit correctly and safety, please read this instruction manual carefully before installation and usage.
SAFETY PRECAUTION
- Important! Always switch off the electricity supply at the mains during installation and maintenance such as light bulb replacement.
- The cooker hood must be installed in accordance with the installation instructions and all measurements followed.
- All installation work must be carried out by a competent person or qualified electrician.
- Please dispose of the packing material carefully. Children are vulnerable to it.
- Pay attention to the sharp edges inside the cooker hood especially during installation and cleaning.
- When the range hood is located above a gas appliance, the minimum distance between the supporting surface for the cooking vessels on the hob and the lowest part of the range hood that distance must be:
Gas cookers: 70 cm
Electric cookers: 70 cm
Coal or oil cookers: 80 cm
- Make sure the ducting has no bends sharper than 90 degrees as this will reduce the efficiency of the cooker hood.
- Cooker hood is for domestic use only.
- Always put lids on pots and pans when cooking on a gas cooker.
- Do not try to use the cooker hood without the grease filters or if the filters are excessively greasy.
- When in extraction mode, air in the room is being removed by the cooker hood. Please make sure that proper ventilation measures are being observed. The cooker hood removes odours from room but not steam.
- There shall be adequate ventilation of the room when the range hood is used at the same time as appliances burning gas or other fuels.
- Do not install above a cooker with a high level grill.
- Do not leave frying pans unattended during use because overheated fats or oils might catch fire.
- Never leave naked flames under the cooker hood.
- If the cooker hood is damaged, do not attempt to use.
- If the supply cord is damaged, it must be replaced by the manufacturer, its service agent or similarly qualified persons in order to avoid a hazard.
- This appliance can be used by children aged from 8 years and above and persons with reduced physical, sensory or mental capabilities or lack of experience and knowledge if they have been given supervision or instruction concerning use of the appliance in a safe way and understand the hazards involved. Children shall not play with the appliance. Cleaning and user maintenance shall not be made by children without supervision.
- Caution: The appliance and its accessible parts can become hot during operation. Be careful to avoid touching the heating elements. Children younger than 8 years old should stay away unless they are under permanent supervision.
- There shall be adequate ventilation of the room when the range hood is used at the same time as appliances burning gas or other fuels.
- There is a fire risk if cleaning is not carried out in accordance with the instructions.
- Do not flambé under the cooker hood.
- CAUTION: Accessible parts may become hot when used with cooking appliances.
- The air must not be discharged into a flue that is used for exhausting fumes from appliances burning gas or other fuels.
- The minimum distance between the supporting surface for the cooking vessels on the hob and the lowest part of the range hood. (When the range hood is located above a gas appliance, this distance shall be at least
70 cm. - Regulations concerning the discharge of air have to be fulfilled.
- Clean your appliance periodically by following the method given in the chapter MAINTENANCE
- Warning: Failure to install the screws or fixing device in accordance with these instructions may result in electrical hazards.
- Regarding the instructions method of fixing for the fixed appliance and how the appliance is to be fixed to its support, thanks to refer to the section “INSTALLATION AND FIXING”.
- Regarding the instructions for the bulb changing, thanks to refer to the section “bulb changing”.
- ILCOS D code for this lamp is: DBS-2/65-H-120/33
PARTS SUPPLIED

INSTALLATION (VENT OUTSIDE)
- If you have an outlet to the outside, your cooker hood can be connected as below picture by means of an extraction duct (enamel, aluminum, flexible pipe or inflammable material with an interior diameter of 150mm).

- Before installation, turn the unit off and unplug it from the outlet.

- The cooker hood should be placed at a distance of 70~80cm above the cooking plane for best effect.

- Remove the metal grease filters.
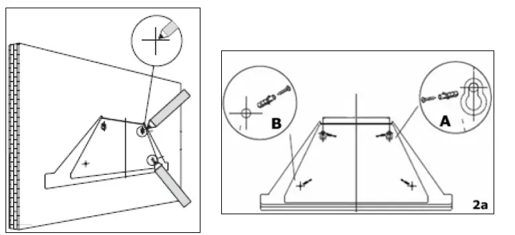
- Position the hood against the wall that you are intending to install it on and mark the position of the support holes that are to be drilled (as shown in the figure below).
- The support screw holes are indicated by figure A in this drawing and the anchoring screw holes are indicated by figure B.

- The support screw holes are indicated by figure A in this drawing and the anchoring screw holes are indicated by figure B.
- Using a drill bit with a 6 mm diameter, make holes in the wall on the positions that you have marked in step 2.

- Insert rawl plugs into all of the holes that you have drilled.
- Fasten the support screws halfway in, leaving them 10 mm out of the wall.

- Hang the hood onto the support screws.


- Fully tighten the support screws (A) and then screw the anchoring screws (B) through the relevant holes in the cooker hood. Fully tighten the anchoring screws into the wall.
- Plate I and II are used to fix the chimney on the wall. Put the inner chimney on the outer chimney. Then pull the inner chimney upwards. Install plate I on the chimney by two screws (4mm x 8mm).

Place the chimney on the cooker hood and determine the location of plate I and II. Drill holes to accommodate plate I & II.Fix plate II on the wall by two screws (4mm x 40mm) and wall plugs.
- Take out the chimney from the cooker hood Attach the exhaust pipe onto the one-way valve as shown below.

- Put the chimney back to the cooker hood. Before lifting the chimney on the desired height, fix plate I on the wall by two screws (4mm x 40mm) and wall plugs. Lift up the chimney to the desired height and fix the chimney on the plate II by 2 screws (4mm x 8mm)

Fix the lower chimney on the cooker hood by 2 screws (4x8mm)
- Before usage, read all the instructions and make sure that the power rating of the cooker hood matches the power rating of the supply.
INSTALLATION (OPTIONAL FOR VENT INSIDE)
If you do not have an outlet to the outside, the exhaust pipe is not required and the installation is similar to the one shown in the “INSTALLATION (VENT OUTSIDE)” section.
Carbon Filter
Activated carbon filter can be used to trap odors. In order to install the activated carbon filter, the metallic anti-grease filter should be detached first. Press the lock and pull it downward.
Put the activated carbon filter into the unit, fix it by turning it. Repeat the same on the other side. 
NOTE:
- Make sure the filter is securely locked. Otherwise, it could loosen and cause damage to the unit.
- When the activated carbon filter is attached, the suction power will be lowered.
OPERATION
- Switch off button for the motor
- Press this button to stop the motor operation.
- Low-Speed button
- Press this button to operate at low speed.
- Medium Speed button
- Press this button to operate at medium speed.
- High-Speed button
- Press this button to operate at high speed.
- Light button
- Press once, the LED light will illuminate. Pressing again will turn light off.
MAINTENANCE
Before cleaning, switch the unit off and pull out the plug.
- Regular Cleaning
Use a soft cloth moistened with hand-warm mildly soapy water or household cleaning detergent. Never use metal pads, chemical, abrasive material or stiff brush to clean the unit. - Monthly Cleaning for metallic anti-grease filter
ESSENTIAL: Clean the filter every month can prevent any risk of fire.
The filter collects grease, smoke and dust so the filter is directly affecting the efficiency of the cooker hood. If not cleaned, the grease residue (potential flammable) will saturate on the filter. Clean it with household cleaning detergent. - Annual Cleaning for Activated Carbon Filter
Apply SOLELY to unit that installed as a recirculation unit (not vented to the outside). This filter traps odours and must be replaced at least once a year depending on how frequent the cooker hood used.
BULB REPLACEMENT

Changing the light
- Before changing the lights, make sure that the appliance is plugged off.
- Use the screw driver loosen the ST4*8MM self tapping screw (2pcs) from the lighting panel, take out the lighting fixture. Open the terminal box that connected with the wire, disconnect the wire connector and replace the lamp.
- ILCOS D code for this lamp is: DBS-2/65-H-120/33
- LED modules –rectangle lamp
- Max wattage: 1*2 W
- Voltage range: AC 110-240V
- Dimensions:

TROUBLESHOOTING
| Fault | Cause | Solution |
| Light on, but fan does not work. | The fan blade is jammed. | Switch off the unit. Repair to carried out by qualified service personnel only. |
| The motor is damaged. | ||
| Both light and fan do not work. | LED light burn. | Replace the light with correct rating. |
ENVIRONMENTAL PROTECTION
This appliance is labelled in accordance with European Directive 2012/19/EU on Waste Electrical and Electronic Equipment Regulations 2013 regarding electric and electronic appliances (WEEE). The WEEE contain both polluting substances (that can have a negative effect on the environment) and base elements (that can be reused). It is important that the WEEE undergo specific treatments to correctly remove and dispose of the pollutants and recover all the materials. Individuals can play an important role in ensuring that the WEEE do not become an environmental problem; it is essential to follow a few basic rules:
- the WEEE should not be treated as domestic waste;
- the WEEE should be taken to dedicated collection areas managed by the town council or a registered company. ln many countries, domestic collections may be available for large WEEEs. When you buy a new appliance, the old one can be returned to the vendor who must accept it free of charge as a one-off, as long as the appliance is of an equivalent type and has the same functions as the purchased appliance.
Note
The following shows how to reduce total environmental impact (e.g. energy use) of the cooking process).
- Install the cooker hood in a proper place where there is efficient ventilation.
- Clean the cooker hood regularly so as not to block the airway.
- Remember to switch off the cooker hood light after cooking.
- Remember to switch off the cooker hood after cooking.
Information for dismantling
Do not dismantle the appliance in a way which is not shown in the user manual. The appliance could not be dismantled by user. At the end of life, the appliance should not be disposed of with household waste. Check with you Local Authority or retainer for recycling advice.

































