COOKOLOGY CGL600SS Cooker Hood

Notice
This appliance can be used by children aged 8 years and above and persons with reduced physical, sensory, or mental capabilities or lack of experience and knowledge if they have been given supervision or instruction concerning the use of the appliance in a safe way and understand the hazards involved. Children shall not play with the appliance. Cleaning and user maintenance shall not be made by children without supervision If the supply cord is damaged, it must be replaced by the manufacturer, its service agent, or similarly qualified persons in order to avoid a hazard.
The instructions shall state the substance of the following:
- there shall be adequate ventilation of the room when the range hood is used at the same time as appliances burning gas or other fuels (not applicable to appliances that only discharge the air back into the room);
- the details concerning the method and frequency of cleaning;
- there is a fire risk if cleaning is not carried out in accordance with the instructions;
- do not flambé under the range hood;
- CAUTION: Accessible parts may become hot when used with cooking appliances. The installation instructions shall include the substance of the following:
- the air must not be discharged into a flue that is used for exhausting fumes from appliances burning gas or other fuels (not applicable to appliances that only discharge the air back into the room);
- the minimum distance between the supporting surface for the cooking vessels on the hob and the lowest part of the range hood. (When the range hood is located above a gas appliance, this distance shall be at least 65 cm.
- regulations concerning the discharge of air have to be fulfilled. The installation instructions for range hoods with accessible metallic enclosures of class II construction shall include details that indicate the location and maximum permitted lengths for any fixing or mounting screw or other fixing device that penetrates into the range hood to attach an accessory such as a facia or duct fitting. Where fixing or mounting screws, or other fixing devices are used, that penetrate into the range hood with an accessible metallic enclosure of class II construction, to attach an accessory, the instructions shall indicate the required location of these screws or fixing devices and include the substance of the following warning.
Warning: Failure to install the screws or fixing the device in accordance with these instructions may result in electrical hazards
Feature
- The cooker hood uses high quality materials, and is made with a streamlined design.
- Equipped with a large power low noise electric motor and centrifugal leaf, it produces strong suction, low noise, non stick grease filter and easy to clean.
- Special wind tunnel construction and oil collector design, free dirt will be absorbed in a second.
Installation
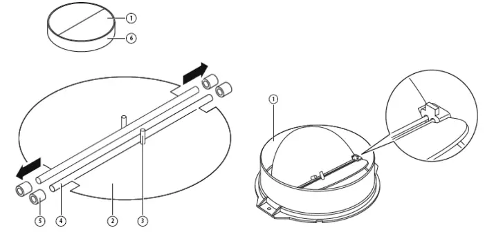
MOUNTING OF THE V-FLAP
If the cooker hood does not have an assembled V-flap 1, you should mount the half-parts to its body. The images only show an example of how to mount the V-flap,the outlet may be various according to different models and configuration. To mount the V-flap 1 you should:
- Mount two half-parts 2 into the body 6
- a pin 3 should be top oriented;
- the axis 4 should be inserted in the holes 5 on body;
- repeat all the operations for the 2nd half-part

INSTALLATION
If you have an outlet to the outside, your cooker hood can be connected as below picture by means of an extraction duct (enamel, aluminum, flexible pipe or non-flammable material with an interior diameter of 150mm)
- Before installation, turn the unit off and unplug it from the outlet.

- The cooker hood should be placed at a distance of 65~75cm above the cooking surface for best effect.

- Install the hook on a suitable place once the installation height is fixed, and keep it in line. The fixed position of the inside chimney bracket is the place of chimney. See pic 2.

- Attach the expansion pipe onto the one-way-valve as shown below,and fix the pipe on the valve by cable tie.And then put the cooker hood on the hook. See pic 3.

- Lead the expansion pipe outside of the room, then adjust the height of the inside chimney to the position of the inside chimney bracket and fix on it by screw , here should be sure the inside chimney can be flexed freely. See Pic 4.

- Put the two chimneys together onto the cooker hood body, meanwhile adjust the height of the inside chimney to the suitable height, and fix the inside chimney to the inside chimney bracket by screw. Finally, fix the body with safety screw. See Pic 5.
NOTE: The two safety vents are positioned on the back housing, with diameter of 6mm. After installation, make sure that the cooker hood is level to avoid grease collection at one end.
- Before usage, read all the instructions and make sure that the voltage (V) and the frequency (Hz) indicated on the identification plate (found inside the cooker hood) and all the data inside the appliance are exactly the same as the voltage and frequency in your home. Then plug the power lead into the power socket (unless you are hard-wiring in to the mains) and start the cooker hood.
Notice of installation
- Before installation, please ensure the area is clean to avoid suction of the remaining bits of broken wood and dust.
- It cannot share the same air ventilation tube with other appliance such as gas tube, warmer tube, and hot wind tube.
- The bending of ventilation tube should be≥120°, parallel or above the start point and should be connected to the external wall.
- After installation, make sure that the extractor is level to avoid grease collection at one end.
Safety Warning
In certain circumstances, electrical appliances may be a danger hazard.
- Keep electrical appliances out of reach of Children or infirm persons. Do not let them use the appliances without supervision.
- This appliance is not intended for use by persons (including children) with the reduced physical. Sensory or mental capabilities, or lack of experience and knowledge, unless they have been given supervision or instruction concerning the use of the appliance by a person responsible for their safety.
- Do not touch the light bulbs when/after appliance use.
- o not check the status of the filters while the cooker hood is operating
- Flame cooking is prohibited underneath the cooker hood
- Your cooker hood is for domestic use only, not suitable for barbecue, roast shop, and other commercial use.
- Any installation work must be carried out by a qualified electrician or competent person.
- Before cleaning, always ensure that you have switched your cooker hood off.
- Clean the cooker hood according to the instruction manual and keep the cooker hood from the danger of burning.
- No fire for drying your cooker hood.
- If there is any fault with your cooker hood, please call the service department appointed by agent for servicing.
- If the power cord is damaged, it must be replaced by the manufacturer or a qualified service engineer in order to avoid a hazard.
- Do not exhaust the gas from cooker hood through the same heated flue which is for the gas from gas hob and other kitchen appliances.
- Before installation and usage, read all the instructions and make sure that the voltage (V) and the frequency (Hz) indicated on your cooker hood are exactly the same as the voltage (V) and the frequency (Hz) in your home.
- Regulations concerning the discharge of air have to be fulfilled.
- CAUTION: Accessible parts may become hot when used with cooking appliances.
- Attention! Observe the warning in the instruction sheet concerning the operation of the appliance when air is discharged from the room.
- Regarding the instructions for the bulb changing, pls use the same bulb and ILCOS D code for this lamp is DBS-2/65-H-120/33.
Speed adjustment
Push button
- Push stop button, and the motor will stop.
- Push the low button, and the motor runs at low speed.
- Push the middle button, and the motor runs at mid speed.
- Push the high button, and the motor runs at high speed.
- Push the light button and the two lights will come on. Push it again and the light will turn off.

MAINTENANCE
- It is recommended to operate the appliance prior to cooking.
- It is recommended to leave the appliance in operation for 15 minutes after cooking is terminated in order to completely eliminate cooking vapors and odors.
- The proper function of the cooker hood is conditioned by the regularity of the maintenance operations, in particular, the active carbon filter.
- The anti-grease filters capture the grease particles suspended in the air, and are therefore subject to clogging according to the frequency of the use of the appliance.
- The cooker hood must regularly cleaned on both the inside and outside with hot water plus non corrosive detergent (AT LEAST ONCE A MONTH) to protect the main body from corrosion over a long period of time. Attention! Please do not use abrasive detergent or alcohol as it will damage the body. Attention! Keep the motor and other spare parts free from water, as this will cause damage to the appliance. Attention! Before cleaning the appliance please remember to cut off the power.
- Changing and cleaning the anti-grease filters

- Removing the filters as the instruction of picture.
You can clean the filter as below measure: Soak them for about 3 minute in hot water (40-50 degrees) with a grease-loosening detergent then brush it gently with a soft brush. Please do not apply too much pressure, avoid damaging it.
- Removing the filters as the instruction of picture.
Note: Please do not use abrasive detergent for it will damage the hood; Make sure that the hood is shut off before cleaning.
CARBON FILTER-not supplied
Activated carbon filter can be used to trap odors. Normally the activated carbon filter should be changed at three or six months according to your cooking habit. The installation procedure of activated carbon filter is as below.
It is necessary to install 2 carbon filters in your product.
- Remove the grease filters.
- To attach the carbon filter, place them on the connection channels on the motor and turn the left hand filter anticlockwise and the right hand filter clockwise.
- In order to remove filters, turn the left hand filter clockwise and the right hand filter anticlockwise.
- Replace all the grease filters to the main unit.
NOTE:
- Make sure the filter is securely locked. Otherwise, it could loosen and cause damage to unit.
- When the activated carbon filters are attached, the suction power will be lowered.
- Replacements are available from the stockist from whom you purchased the hood.
BULB REPLACEMENT
- The bulb must be replaced by a competent person.
- Always switch off the electricity supply before carrying out any operations on the appliance. When handling bulb, make sure it is completely cool down before any direct contact to hands.
- When handling globes hold with a cloth or gloves to ensure perspiration does not come in contact with the globe as this can reduce the life of the globe.
LED LIGHTS
- Switch off the appliance and make sure it’s disconnected from the mains supply.
- You should use a suitable screwdriver to prize up one end of the light and take it out for replacement.
- ILCOS D code for this lamp is: DBS-2/65-H-120/33
- LED modules –rectangle lamp
- Max wattage: 2 W
- Voltage range: AC 220-240V
- Dimensions:


Abnormity and Solution
| Fault | Cause | Solution | |
| Light on, but motor does not work | The leaf blocked | Get rid of the blocking | |
| The capacitor damaged | Replace capacitor | ||
| The motor jammed bearing damaged | Replace motor | ||
| The internal with of motor off or a bad smell from the motor | Replace motor | ||
| Light does not work, motor does not work | Beside the above mentioned, check the following: | ||
| Light damaged | Replace lights | ||
| Power cord looses | Connect the wires as per the electric diagram | ||
| Oil leakage | One way valve and the air ventilation entrance are not tightly sealed | Take down the one way valve and seal with glue | |
| Leakage from the connection of U-shaped section and cover | Take U-shaped section down and seal with soap or paint | ||
| Shake of the body | The leaf damaged and causes shaking | Replace the leaf | |
| The motor is not tightly hanged | Lock the motor tightly | |
| The body is not tightly hanged | Fixed the body tightly | |
| Insufficient suction | The distance between the body and the gas top too long | Readjust the distance |
| Too much ventilation from open doors or windows | Choose a new place and resemble the machine | |
| The machine inclines | The fixing screw not tight enough | Tighten the hanging screw and make it horizontal |
| The hanging screw not tight enough | Tighten the hanging screw and make it horizontal |
ENVIRONMENTAL PROTECTION
This product is marked with the symbol on the selective sorting of waste electronic equipment. This means that this product must not be disposed of with household waste but must be supported by a system of selective collection in accordance with Directive 2002/96/EC. It will then be recycled or dismantled to minimize impacts on the environment, electrical and electronic products are potentially dangerous for the environment and human health due to the presence of hazardous substances.
For more information, please contact your local or regional authorities.
Note:
- In order to reduce the environmental impact (e.g. energy use) of the cooking process, please be sure that your product is installed according to the user manual, keep the operation place ventilated, keep the extraction duct be direct and short as possible as it can be.
- For the product with manual operation mode, we suggest switch the motor off within 10 minutes after finishing the cooking process.
- Please be sure to dismantle related components according to the user manual when maintaining for non-destructive, protect the parts to make the re-installed work can be favoring and avoid damage.




























