
COOKER HOOD
INSTRUCT ON MANUAL

Read this manual carefully before operation
Pictures in this manual are for reference only, the product in kind prevails. 

RECOMMENDATIONS AND SUGGESTIONS
The instructions for Use apply to several versions of this appliance. Accordingly, you
may find descriptions of individual features that do not apply to your specific appliance.
INSTALLATION
- The manufacturer will not be held liable for any damages resulting from incorrect or improper installation.
- The minimum safety distance between the cooker top and the extractor hood is 650 mm (some models can be installed at a lower height, please refer to the paragraphs
on working dimensions and installation). - Check that the mains voltage corresponds to that indicated on the rating plate fixed to the inside of the hood.
- For Class I appliances, check that the domestic power supply guarantees adequate earthing.
- Connect the extractor to the exhaust flue through a pipe with a minimum diameter of 120mm. The route of the flue must be as short as possible.
- Do not connect the extractor hood to exhaust ducts carrying combustion fumes (boilers, fireplaces, etc.).
- If the extractor is used in conjunction with non-electrical appliances (e.g. gas burning appliances),a sufficient degree of aeration must be guaranteed in the room in order to
prevent the backflow of exhaust gas. The kitchen must have an opening communicating directly with the open air in order to guarantee the entry of clean air. - When the cooker hood is used in conjunction with appliances supplied with energy other than electricity, the negative pressure in the room must not exceed 0,04 mbar to
prevent fumes from being drawn back into the room by the cooker hood. - In the event of damage to the power cable, it must be replaced by the manufacturer or by the technical service department, in order to prevent any risks.
- If the instructions for installation for the gas hob specify a greater distance specified above, this has to be taken into account. Regulations concerning the discharge of air
have to be fulfilled.

USE
- The extractor hood has been designed exclusively for domestic use to eliminate kitchen smells.
- Never use the hood for purposes other than for which it has been designed.
- Never leave high naked flames under the hood when it is in operation.
- Adjust the flame intensity to direct it onto the bottom of the pan only, making sure that it does not engulf the sides.
- Deep fat fryers must be continuously monitored during use: overheated oil can burst into flames.
- Do not flame under the range hood; risk of fire.
- This appliance can be used by children aged from 8 years and above and persons with reduced physical, sensory or mental capabilities or lack of experience and knowledge if they have been given supervision or instruction concerning use of the appliance in a safe way and understand the hazards involved.
- Children should be supervised to ensure that they do not play with the appliance.
- Cleaning and user maintenance shall not be made by children without supervision.
- CAUTION: Accessible parts may become hot when used with cooking appliances”.

MAINTENANCE
- Switch off or unplug the appliance from the mains supply before carrying out any maintenance work.
- Clean and/or replace the Filters after the specified lime period (Fire hazard).
- Clean the hood using a damp cloth and a neutral liquid detergent.
- The appliance uses 4 hob elements at most.

The symbol
is packaging indicates that this product may not be treated as household waste. Instead, it shall be handed over to the applicable collection point for the recycling of electrical and electronic equipment. By ensuring this product is disposed of correctly, you will help prevent potential negative consequences for the environment nd human health, which could otherwise be caused by inappropriate waste handling of this product. For more detailed information about recycling of this product, please contact your local city office, your household waste disposal service or the shop where you purchased the product.
COMPONENTS
| Ref | Qty. | Product Components |
| 1 | 1 | Hood Body, complete with: Controls, Light, Blower, Filter. |
| 2 | 4 | Screws 5 x 50 |
| 3 | 4 | Wall Plugs |


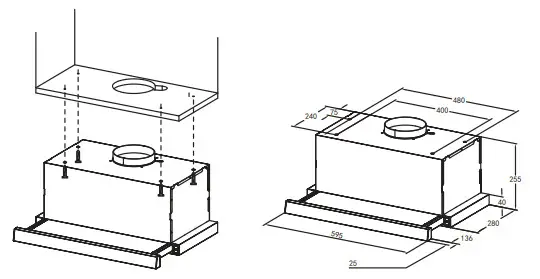
DIMENSIONS
INSTALLATION
METHOD 1
- According to the figure, make sure the position of the hood in the cabinet. The wood strips should be lined up with the 4 keyhole slots on the top of the range hood. On the cabinet, install 4 screws (supplied) according to the relative position of 4 keyholes on the bottom of the hood. The extent of screwing should be convenient to the next installation.
- Hang the hood and let its 4 keyholes aim at the screws, the 4 screws should be in the narrow parts of the keyholes. Screws should be fastened firmly, make sure that the installation between the hood and cabinet is enough fastened.
- Install screws in the security holes, in case of front and back moving of hood, so that the user is safer.
Information
When cutting or drilling into a wall or ceiling, do not damage electrical wiring or
other hidden utilities.
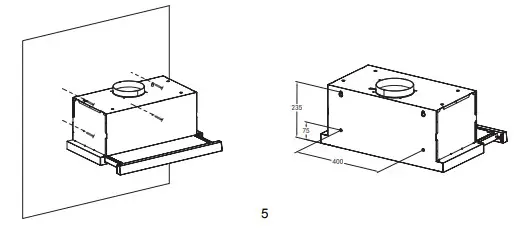
METHOD 2 
- In the installation surface in the cabinet don’t adapt to install the cooker hood, then as per fig, fix the position of the cooker hood on the wall.
- On the wall, install 2 screws ( supplied ) according to the relative position of 2 keyholes on the back of the hood.
- The extent of screwing should be convenient to the next installation.
- Also install screws in the security holes, in case of front and back moving of hood, so that the user is safer.
Installation of hoods built-in combi cabinets is the same as the previous method.
Information
Congratulations on the purchase of our cooker hood which is designed to include many superior features that permit you the fullest expression of your living. Before installing and/or using the cooker hood carefully read all the instructions.
Information
The cooker hood must not be installed and connected to flues where other appliances are installed and which run off other energy supplied different to electricity(water heater boiled cookers(range/agas)etc.).
CHOOSE A VENTING MODE
Here two venting modes, extraction-air mode, and recirculation mode, before installing should be select one of them. Extraction-air mode, the air is discharged out of the house y a pipe. In recirculation mode, the air is purified and discharged into the house.
Information
In recirculation mode, the cabinet needs an air vent.
In recirculation mode, always be with an activated carbon filter.
In recirculation mode, when the activated carbon filter is attached, the suction power will be lowered.
CONNECTIONS
DUCTED VERSION AIR EXHAUST SYSTEM
When installing the ducted version, connect the hood to the chimney using either a flexible or rigid pipe ɸ 150 or ɸ 120 mm, the choice of which is left to the installer.
- To install a ɸ 120 mm air exhaust connection, insert the reducer flange 3 on the hood body outlet.
- Fix pipe 4 in position using sufficient pipe clamps (not supplied).
- Remove possible charcoal filters.

USE
Operation
Check beforehand
Check the safe condition of the appliance:
- Check whether there are visible defects.
- Check that all parts of the appliance have been securely fitted.
Switching on/off
- In the right part of the cooker hood. (For some models)
- There are 2 speeds for the motor and an off switch of the lamp.
- Locker switch for operation.
Motor Operation
=Off
=Low Power Setting
=High Power Setting
Light Operation
=Off
=On
MAINTENANCE
GREASE FILTERS
CLEANING METAL SELF-SUPPORTING GREASE FILTERS
- The filters must be cleaned every 2 months of operation, or more frequently for particularly heavy usage, and can be washed in a dishwasher.
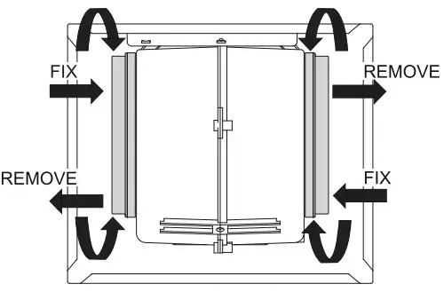
- Pull the comfort panels to open them.
- Remove the filters one by one pushing them towards the back side of the hood unit and simultaneously pulling downwards.
- Any kind of bending of the filters has to be avoided when washing them. Before fitting them again into the hood make sure that they are completely dry. (The color of the filter surface may change throughout time but this has no influence to the filter efficiency).
- When fitting the filters into the hood pay attention that they are mounted in the correct position the handle facing outwards.
- Close the comfort panel.

ACTIVATED CHARCOAL FILTER (RECIRCULATION VERSION)
REPLACING THE ACTIVATED CHARCOAL FILTER
These filters are not washable and cannot be regenerated, and must be replaced approximately
every 4 months of operation, or more frequently with heavy usage.
REPLACING THE ACTIVATED CHARCOAL FILTER
- Remove the metal grease filters
- Remove the saturated activated charcoal filter.
- Fit the new filters.
- Replace the metal grease filters.

LIGHTING
LIGHT REPLACEMENT
Changing the light
Lightning inside the appliance is provided by a 1.5W LED light.
To replace the LED light, proceed as follows:
- Disconnect the appliance from the mains or switch off the circuit breaker.
- Remove the metal filters (see Cleaning and Replacing Filters).
- Remove the light by levering its fitting from the hood body(this may require pressure or force to be applied) and disconnect the connector of the light.
- Replace the light with a new one of the same type, making sure that you connect the light with the light cable correctly.
- Install the metal filter back in place.

| Max power | Voltage | Picture | Lamp Cap | ILCOS D code | |
| Self-ballasted LED modules | 1.5W | 220-240V |
| / | BS-1.5H-33.2/120 |
DISPOSAL OF OLD ELECTRICAL APPLIANCES
The European directive 2012/19/EU on Waste Electrical and Electronic Equipment (WEEE), requires that old household electrical appliances must not be disposed of in the normal unsorted municipal waste stream. Old appliances must be collected separately in order to optimize the recovery and recycling of the materials they contain and reduce the impact on human health and the environment. The crossed-out “wheeled bin” symbol on the product reminds you of your obligation, that when you dispose of the appliance, it must be separately collected. Consumers should contact their local authority or retailer for information concerning the correct disposal of their old appliances.
TROUBLESHOOTING
| Fault | Cause | Solution |
| Right on, but the motor does not work | The blades are blocked. | |
| The capacitor is damaged. | Replace capacitor. | |
| The motor is damaged. | Replace motor. | |
| The internal wiring of the motor is cut off/ disconnected. An unpleasant smell may be produced. | Replace motor. | |
| Both light and motor do not work | Apart from the above-mentioned, check the following: | |
| Light damaged. | Replace lights. | |
| The power cord lose. | Connect the wires as per the electric diagram. | |
| Oil leakage | Outlet and the air ventilation entrance | Take down the outlet and seal it with glue. |
| are not tightly sealed. | ||
| Leakage from the connection of U-shaped section and cover. | Take the U-shaped section down and seal it with soap or paint. | |
| Vibration | The blade, if damaged, can cause vibrating. | Replace the blade. |
| The motor is not tightly fastened. | Fasten the motor tightly. | |
| The cooker hood is not tightly fixed. | Fixed the cooker hood tightly. | |
| Insufficient suction | The distance between the cooker hood and the cooker top is too large. | Readjust the distance. |
| Too much ventilation from open doors or windows. | Choose a new place to install the appliance or close some doors/windows. | |
| The machine inclines | The fixing screws are not tight enough. | Tighten the fixing screw and make it horizontal. |
| The hanging screws are not tight enough | Tighten the hanging screw and make it horizontal. | |
The manufacturer shall decline all responsibility if the foregoing recommendations and instructions regarding installation, maintenance, and use are not observed and respected when using the cooker hood

















