CANDY CBP612-4GR Cooker Hood

SAFETY INSTRUCTIONS
This manual explains the proper installation and use of your cooker hood, please read it carefully before using even if you are familiar with the product. The manual should be kept in a safe place for future reference. These instructions shall also be available in an alternative format, e.g. on a website or on request from the user in a format such as a DVD.
Never to do:
- Do not try to use the cooker hood without the grease filters or if the filters are excessively greasy!
- Do not install above a cooker with a high level grill.
- Do not leave frying pans unattended during use because overheated fats or oils might catch fire.
- Never leave naked flames under the cooker hood.
- If the cooker hood is damaged, do not attempt to use.
- Do not flambé under the cooker hood.

- CAUTION: Accessible parts may become hot when used with cooking appliances.
- The minimum distance between the supporting surface for the cooking vessels on the hob and the lowest part of the cooker hood. (When the cooker hood is located above a gas appliance, this distance shall be at least 65 cm)
- The air must not be discharged into a flue that is used for exhausting fumes from appliances burning gas or other fuels.

Always to do:
- Important! Always switch off the electricity supply at the mains during installation and maintenance such as light bulb replacement.
- The cooker hood must be installed in accordance with the installation instructions and all measurements followed.
- All installation work must be carried out by a competent person or qualified electrician.
- Please dispose of the packing material carefully. Children are vulnerable to it.
- Pay attention to the sharp edges inside the cooker hood especially during installation and cleaning.
- When the cooker hood is located above a gas appliance,the minimum distance between the supporting surface for the cooking vessels on the hob and the lowest part of the cooker hood that distance must be:
- Gas cookers: 75 cm
- Electric cookers: 65 cm
- Coal or oil cookers: 75 cm
- Make sure the ducting has no bends sharper than 90 degrees as this will reduce the efficiency of the cooker hood.
- Warning: Failure to install the screws or fixing device in accordance with these instructions may result in electrical hazards
- Warning: Before obtaining access to terminals, all supply circuits must be disconnected.
Always to do:
- Always put lids on pots and pans when cooking on a gas cooker.
- When in extraction mode, air in the room is being removed by the cooker hood. Please make sure that proper ventilation measures are being observed. The cooker hood removes odours from room but not steam.
- Cooker hood is for domestic use only.
- If the supply cord is damaged, it must be replaced by the manufacturer, its service agent or similarly qualified persons in order to avoid a hazard.
- This appliance can be used by children aged from 8 years and above and persons with reduced physical, sensory or mental capabilities or lack of experience and knowledge if they have been given supervision or instruction concerning use of the appliance in a safe way and understand the hazards involved. Children shall not play with the appliance. Cleaning and user maintenance shall not be made by children without supervision.

- Warning: Before obtaining access to terminals, all supply circuits must be disconnected.
- Caution: The appliance and its accessible parts can become hot during operation. Be careful to avoid touching the heating elements. Children younger than 8 years old should stay away unless they are under permanent supervision.
- There shall be adequate ventilation of the room when the cooker hood is used at the same time as appliances burning gas or other fuels.
- There is a fire risk if cleaning is not carried out in accordance with the instructions
- Regulations concerning the discharge of air have to be fulfilled.
- Clean your appliance periodically by following the method given in the chapter MAINTENANCE.
- For safety reason, please use only the same size of fixing or mounting screw which are recommended in this instruction manual.
- Regarding the details about the method and frequency of cleaning, please refer to maintenance and cleaning section in the instruction manual.
- Cleaning and user maintenance shall not be made by children without supervision.
- When the cooker hood and appliances supplied with energy other than electricity are simultaneously in operation, the negative pressure in the room must not exceed 4 Pa (4 x 10-5 bar).
- WARNING: Danger of fire: do not store items on the cooking surfaces.
- A steam cleaner is not to be used.
- NEVER try to extinguish a fire with water, but switch off the appliance and then cover flame e.g. with a lid or a fire blanket.
INSTALLATION (VENT OUTSIDE)
If you have an outlet to the outside, your cooker hood can be connected as below picture by means of an extraction duct (enamel, aluminum, flexible pipe or non-flammable material with an interior diameter of 120mm)

- Before installation, turn the unit off and unplug it from the outlet.

- The cooker hood should be placed at a height of 65-75cm above the cooking surface for best efficiency.

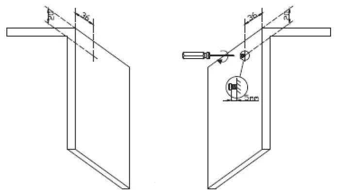
- Install the cooker hood between two cupboards. Drill and screw on the side boards of the cupboards (the holes ≤ 2mm).The distance between the head of the screw and the side board should be 5mm, and the distance between the screw and the cooking surface should no less than 1040mm. If there is notroom enough, you can place it higher or lower.

- Hang the cooker hood on the screws between the two cupboards.

- Push the fan-shaped door frames to the end, in order to make the outer edges of the door frames at the same vertical level as the outer edge of the cupboards.
- Mark the positions where you install the lower screws. Drill the upper hole and fix the screws. Make sure all four screws are well fixed.

- Install the outlet as followings: Align the 3 pcs side slots of the outlet with the 3 edges of the blower, insert the 3 edges into the outlet slot, See pic 1,then finish as pic 2 shown.

- Connect the air-outlet board and the air-outlet tube (Vent Hose) which will need to feed through to the outside of the building. Rigid kits, if preferred, can be obtained from either the retailer who supplied the hood, or DIY Stores and Builders Merchants.
- Door installation: The door should be no less than 16mm thick, 385-700mm high, and weigh no more than 7KG. Pull out the movable fan-shaped door frames by the plastic handle, and place the fan-shaped door frames one on left and one on right.

- Mark the installation position of the door and the size of the fixed screws. If the upper edge of the door is not as high as the upper edge of the cupboards, please adjust the size accordingly. Mark the positions of the screws on the door, and make sure the size is as accurate as 569±1.

- Take down the fan-shaped door frames,then fix the left and right fan-shaped door frames with the connected plate by 4pcs ST3.5*8mm countersunk self-tapping screws.See pic below.Fix the fan-shaped door frames on the door with screws. Make sure the frames are symmetrical. Install the door into the cooker hood, the two sides of the door can be pulled to the end and the door can be safely locked. If the door cannot be safely locked, you can release the plastic handle.

- The two screws on both sides of the cooker hood can adjust the sliding of the door, according to the weight of the door.

- Install the adjusting plate, in order to cover the gap between the wall and the bottom of the cooker hood.

WARNING:
- For safety reason, please use only the same size of fixing or mounting screw which are recommended in this instruction manual.
- Failure to install the screws or fixing device in accordance with these instructions may result in electrical hazards.
Start Using Your Cooker Hood
Toggle switch

To operate: pull up the front panel, turn on the cooker hood, and then choose the fan speed setting.
To turn the unit off, there are two options:
- Turn off the fan with the slide switch.
- Push down the front panel (with the fan still switched on). This will turn the hood off, and when the cooker hood is next opened, the fan speed will be the same as the last time it was operate.
- Whether the front panel is open or not, or the fan in use or not, the light can be operated independently.
How to use the control panel: (Diagram above)
There are 3 speeds for the motor and on off switch for the lamp. Slide the switches for operation.
Motor Operation
- 0- off
- 1- Low Power Setting
- 2- Mid Power Setting
- 3- High Power Setting
Light Operation
- 0- Off
- 1- On
TROUBLESHOOTING
| Fault | Possible Cause | Solution |
| Light on, but motor does not work | Fan switch turned off | Select a fan switch position. |
| Fan switch failed | Contact service center. | |
| Motor failed | Contact service center. | |
| Light does not work, motor does not work | House fuses blown | Reset/Replace fuses. |
| Power cord loose or disconnected | Refit cord to power outlet. Switch power outlet on. | |
| Oil leakage | One way valve and the outlet are not tightly sealed | Take down the one way valve and seal with sealant. |
| Leakage from the connection of chimney and cover | Take chimney down and seal. | |
| Lights not working | Broken/Faulty globes | Replace globes as per this instruction. |
| Insufficient suction | The distance between the cooker hood and the gas top is too far | Refit the cooker hood to the correct distance. |
| The Cooker hood inclines | The fixing screw not tight enough |
|
NOTE:
Any electrical repairs to this appliance must conform to your local, state and federal laws.Please contact the service centre if in any doubt before undertaking any of the above. Always disconnect the unit from the power source when opening the unit
MAINTENANCE AND CLEANING
Caution:
- Before maintenance or cleaning is carried out, the cooker hood should be disconnected from the main power supply. Ensure that the cooker hood is switched off at the wall socket and the plug removed.
- External surfaces are susceptible to scratches and abrasions, so please follow the cleaning instructions to ensure the best possible result is achieved without damage.
GENERAL
Cleaning and maintenance should be carried out with the appliance cold especially when cleaning.Avoid leaving alkaline or acid substances (lemon juice, vinegar etc.) on the surfaces
STAINLESS STEEL
The stainless steel must be cleaned regularly (e.g.weekly) to ensure long life expectancy.Dry with a clean soft cloth. A specialized stainless steel cleaning fluid may be used.
NOTE:
Ensure that wiping is done along with the grain of the stainless steel to prevent any unsightly crisscross scratching patterns from appearing.
CONTROL PANEL SURFACE
The inlay control panel can be cleaned using warm soapy water. Ensure the cloth is clean and well wrung before cleaning. Use a dry soft cloth to remove any excess moisture left after cleaning.
Important
Using neutral detergents and avoid using harsh cleaning chemicals, strong household detergents or products containing abrasives,as this will affect the appliance appearance and potentially remove any printing of artwork on the control panel and will void manufactures warrantee.
GREASE MESH FILTERS
The mesh filters can be cleaned by hand. Soak them for about 3 minute in water with a grease-loosening detergent then brush it gently with a soft brush. Please do not apply too much pressure, avoid to damage it . (Leave to dry naturally out of direct sun light) Filters should be washed separately to crockery and kitchen utensils. it is advisable not to use rinse aid. Remove the filter as shown in the diagrams below:

INSTALLING GREASE MESH FILTERS
- To install filters for the following four steps .
- Angle the filter into slots at the back of the hood.
- Push the button on handle of the filter.
- Release the handle once the filter fits into a resting position.
- Repeat to install all filters.
CARBON FILTER
Activated carbon filter can be used to trap odors. Normally the activated carbon filter should be changed at three or six months according to your cooking habit. The installation procedure of activated carbon filter is as below.
- The aluminum filter should be detached first as explained earlier.
- The carbon filters are attached to each end of the motor housing, rotating to lock/undo.

NOTE:
- Make sure the filter is securely locked. Otherwise, it would loosen and cause dangerous.
- When activated carbon filter attached, the suction power will be lowered.
BULB REPLACEMENT
- The bulb must be replaced by the manufacturer, its service agent or similarly qualified persons.
- Always switch off the electricity supply before carrying out any operations on the appliance. When handling bulb, make sure it is completely cool down before any direct contact to hands.
- When handling globes hold with a cloth or gloves to ensure perspiration does not come in contact with the globe as this can reduce the life of the globe
- Switch off the appliance and make sure it’s disconnected from the mains supply.
- You should use a suitable screwdriver to prize up one end of the light and take it out for replacement.
- ILCOS D code for this lamp is: DBS-2/65-H-120/33
- LED modules –rectangle lamp
- Max wattage: 2 W
- Voltage range: AC 0-240V
- Dimensions:

ENVIRONMENTAL PROTECTION
This appliance is labelled in accordance with European Directive 2012/19/EU on Waste Electrical and Electronic Equipment Regulations 2013 regarding electric and electronic appliances (WEEE). The WEEE contain both polluting substances (that can have a negative effect on the environment) and base elements (that can be reused). It is important that the WEEE undergo specific treatments to correctly remove and dispose of the pollutants and recover all the materials. Individuals can play an important role in ensuring that the WEEE do not become an environmental problem; it is essential to follow a few basic rules: – the WEEE should not be treated as domestic waste; – the WEEE should be taken to dedicated collection areas managed by the town council or a registered company. ln many countries, domestic collections may be available for large WEEEs. When you buy a new appliance, the old one can be returned to the vendor who must accept it free of charge as a one-off, as long as the appliance is of an equivalent type and has the same functions as the purchased appliance.
NOTE:
The following shows how to reduce total environmental impact (e.g. energy use) of the cooking process).
- Install the cooker hood in a proper place where there is efficient ventilation.
- Clean the cooker hood regularly so as not to block the airway.
- Remember to switch off the cooker hood light after cooking.
- Remember to switch off the cooker hood after cooking.
INFORMATION FOR DISMANTLING
Do not dismantle the appliance in a way which is not shown in the user manual. The appliance could not be dismantled by user. At the end of life, the appliance should not be disposed of with household waste. Check with you Local Authority or retainer for recycling advice.































