REDLION PM-50 Setpoint Output Quad Relay Module

- Up to 250 VAC or 30 VDC
- Removable terminal block
- Relay output status LEDs
FOR USE IN HAZARDOUS LOCATIONS: Class I, Division 2, Groups A, B, C, and D T4A
MODULE PACKAGE CHECKLIST
This product package should contain the items listed below. If any items are missing or damaged, contact Red Lion immediately.
- Panel Mount Setpoint Quad Relay Module
- Accessory Pack
- Installation Guide
DIMENSIONS In inches (mm)

SAFETY SUMMARY
All safety-related regulations, local codes, as well as instructions that appear in this document or on equipment, must be observed to ensure personal safety and to prevent damage to either the device or equipment connected to it. Do not use these products to replace proper safety interlocking. No software-based device (or any other solid-state device) should ever be designed to be responsible for the maintenance of personnel safety or consequential equipment not equipped with safeguards. Red Lion disclaims any responsibility for damages, either direct or consequential, that result from the use of this equipment in a manner not consistent with these specifications.
- CAUTION: Risk of Danger
- Read complete instructions prior to installation and operation of the unit.
- ATTENTION: Risque de danger
- WARNING: EXPLOSION HAZARD – WHEN IN HAZARDOUS LOCATIONS, DISCONNECT THE POWER BEFORE REPLACING OR WIRING MODULES.
- This equipment is suitable for use in Class I, Division 2, Groups A, B, C, D, or non-hazardous locations only.
ORDERING INFORMATION
| PART NUMBER | DESCRIPTION |
| PMM000I0RL400000 | Quad Setpoint Relay Output Module |
A listing of the entire PM-50 family of products and accessories can be found at www.redlion.net.
SPECIFICATIONS
Note: The PM-50 4.3 inch host accepts a maximum of 5 modules while the 3.5 inch host accepts a maximum of 3.
Only one module from each function type (i.e. communication, relay, analog output) can be installed.
- POWER: Power is supplied by the PM-50 host device.
- Must use a Class 2 circuit according to National Electrical Code (NEC), NFPA-70 or Canadian Electrical Code (CEC), Part I, C22.1 or a Limited Power Supply (LPS) according to IEC/EN 60950-1 or Limited-energy circuit according to IEC/ EN 61010-1.
- Max Power: 0.9 W
- Setpoint Output: Field installable module
- Type: Four FORM-A relays
- Isolation: 3000 Vrms for 1 min.
- Contact Rating
- One Relay Energized: 3 Amps @ 250 VAC or 30 VDC (resistive load). With all relays energized, the max current is 1 A per Relay.
Relay Restrictions: Only the following combinations are valid
| RELAY GROUP 1 | RELAY GROUP 2 | ||
| RELAY 1 | RELAY 2 | RELAY 3 | RELAY 4 |
| 30 VDC max | 30 VDC max | ||
| Mains 250 VAC max | Mains 250 VAC max | ||
| 30 VDC max | Mains 250 VAC max | ||
| Mains 250 VAC max | 30 VDC max | ||
Note: When relay contacts are connect to Mains, the Mains should be Overvoltage category II, Polution degree 2 Life Expectancy: 100 K cycles min. at full load rating. External RC snubber extends relay life for operation with inductive loads.
- ENVIRONMENTAL CONDITIONS
- Operating Temperature Range: -10 to 55 °C
- Storage Temperature Range: -40 to 85 °C
- Vibration to IEC 68-2-6: Operational 5-500 Hz, 2 g
- Shock to IEC 68-2-27: Operational 10 g
- Operating and Storage Humidity: 0 to 85% max. RH non-condensing
- Altitude: Up to 2000 meters
- Mains voltage is Overvoltage category II and in Pollution degree 2 environment.
- CERTIFICATIONS AND COMPLIANCES: CE Approved
- EN 61326-1 Immunity to Industrial Locations
- Emission CISPR 11 Class A
- IEC/EN 61010-1
- RoHS Compliant
- UL Hazardous: File # E317425 Rugged IP25 enclosure
- CONSTRUCTION: Plastic enclosure with IP25 rating. For use only in an approved enclosure.
- CONNECTIONS: High-compression cage-clamp terminal blocks
- Wire Strip Length: 0.32-0.35″ (8-9 mm)
- Wire Gauge Capacity: Four 28 AWG (0.32 mm) solid, two 20 AWG (0.61 mm) or one 16 AWG (2.55 mm)
- WEIGHT: 1.8 oz (51 g)
HARDWARE INSTALLATION
Installing a Module
WARNING: Disconnect all power to the unit before installing or removing modules.
Installation of the product must comply with National Electrical Code (NEC), NFPA-70 or Canadian Electrical Code (CED) or any local regulation Authority.
To a 4.3 inch Host
- It is recommended that a relay module be installed in Module Position 1 only (shown below).

- To install a module on the tall side of a 4.3 inch host, align the latches of the module with the host case such that the backplane connector shroud on the module cover aligns with the backplane connector opening in the host case.
- To install a module on the short side of a 4.3 inch host, rotate the module 180 degrees and align the latches on the host with the module case so that the I/O connector is facing downward.
- Insert the host latches into the openings in the module case by slightly deflecting the latches inward.
- Press the module into the host case evenly until the latches engage.
- Install Module Locks between each module as shown by fully inserting the legs of the Module Locks into the slots in the case until the button on the Module Lock aligns with the hole provided in the case. Press fit the button into the hole. Repeat this installation between each module in your system to provide the most secure installation.
- When you have finished adding modules, the rear cover should be installed in the same manner as the modules.
To a 3.5 inch Host
- It is recommended that a relay module be installed directly onto the back of the host (shown below), not on the back of any other module.

- Align the latches of the module with the host case such that the backplane connector shroud on the module cover aligns with the backplane connector opening in the host case.
- Insert the module latches into the openings in the host case by slightly deflecting the latches inward.
- Press the module into the host case evenly until the latches engage.
- Install-Module Locks between each module as shown by fully inserting the legs of the Module Locks into the slots in the case until the button on the Module Lock aligns with the hole provided in the case. Press fit the button into the hole. Repeat this installation between each module in your system to provide the most secure installation.
- When you have finished adding modules, the rear cover should be installed in the same manner as the modules.
Removing a Module
WARNING: Disconnect all power to the unit before installing or removing modules.

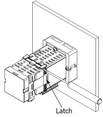
To remove a module from the assembly, first remove the module locks using a small screwdriver as shown. Then disengage the latch by deflecting the latch inward or by using a small screw driver, inserting it into the slot in the side of the case, and prying the latch inward to disengage the latch. Once the latches are disengaged, pull on the module and remove it from the assembly.
WIRING
Wiring Connections
All power, input and output (I/O) wiring must be in accordance with Class I, Division 2 wiring methods and in accordance with the authority having jurisdiction. When connecting relay contacts, you must use a Class 2 circuit according to National Electrical Code (NEC), NFPA-70 or Canadian Electrical Code (CEC), Part I, C22.1 or a Limited Power Supply (LPS) according to IEC/EN 60950-1 or Limited-energy circuit according to IEC/EN 61010-1. Electrical connections are made via cage-clamp terminal blocks located on the back of the meter. Strip and connect the wire according to the terminal block specifications on Page 2. Please take care to observe the following points:
- The power supply must be mounted close to the unit, with usually not more than 6 feet (1.8 m) of cable between the supply and the PM-50. Ideally, the shortest length possible should be used.
- The wire used to connect the PM-50’s power supply should be at least 22-gage wire suitably rated for the voltage, current and temperature of the environment to which it is being installed. If a longer cable run is used, a heavier gage wire should be used. The routing of the cable should be kept away from large contactors, inverters, and other devices which may generate significant electrical noise.
- A power supply with an NEC Class 2 or Limited Power Source (LPS) and SELV rating is to be used. This type of power supply provides isolation to accessible circuits from hazardous voltage levels generated by a mains power supply due to single faults. SELV is an acronym for “safety extra-low voltage.” Safety extra-low voltage circuits shall exhibit voltages safe to touch both under normal operating conditions and after a single fault, such as a breakdown of a layer of basic insulation or after the failure of a single component has occurred. A suitable disconnect device shall be provided by the end user.
Quad Relay Module

Module Status (STS) LED
| LED/STATE | MEANING |
| Fast blink | Module is initializing. |
| Solid | Module is running normally. |
Relay LEDs
| LED/STATE | MEANING |
| Solid | Relay is active. |
| OFF | Relay is inactive. |
RED LION CONTROLS TECHNICAL SUPPORT
If for any reason you have trouble operating, connecting, or simply have questions concerning your new product, contact Red Lion’s technical support.
- Support: support.redlion.net
- Website: www.redlion.net
- Inside US: +1 (877) 432-9908
- Outside US: +1 (717) 767-6511
- Red Lion Controls, Inc.
- 20 Willow Springs Circle York, PA 17406
COPYRIGHT
©2021 Red Lion Controls, Inc. All rights reserved. Red Lion and the Red Lion logo are trademarks of Red Lion Controls, Inc. All other company and product names are trademarks of their respective owners.
LIMITED WARRANTY
- Red Lion Controls Inc. (the “Company”) warrants that all Products shall be free from defects in material and workmanship under normal use for the period of time provided in “Statement of Warranty Periods” (available at www.redlion.net) current at the time of shipment of the Products (the “Warranty Period”). EXCEPT FOR THE ABOVE-STATED WARRANTY, COMPANY MAKES NO WARRANTY WHATSOEVER WITH RESPECT TO THE PRODUCTS, INCLUDING ANY (A) WARRANTY OF MERCHANTABILITY; (B) WARRANTY OF FITNESS FOR A PARTICULAR PURPOSE; OR (C) WARRANTY AGAINST INFRINGEMENT OF INTELLECTUAL PROPERTY RIGHTS OF A THIRD PARTY; WHETHER EXPRESS OR IMPLIED BY LAW, COURSE OF DEALING, COURSE OF PERFORMANCE, USAGE OF TRADE OR OTHERWISE. Customer shall be responsible for determining that a Product is suitable for Customer’s use and that such use complies with any applicable local, state or federal law.
- The Company shall not be liable for a breach of the warranty set forth in paragraph (a) if (i) the defect is a result of Customer’s failure to store, install, commission or maintain the Product according to specifications; (ii) Customer alters or repairs such Product without the prior written consent of Company.
- Subject to paragraph (b), with respect to any such Product during the Warranty Period, Company shall, in its sole discretion, either (i) repair or replace the Product; or (ii) credit or refund the price of Product provided that, if Company so requests, Customer shall, at Company’s expense, return such Product to Company.
- THE REMEDIES SET FORTH IN PARAGRAPH (c) SHALL BE THE CUSTOMER’S SOLE AND EXCLUSIVE REMEDY AND COMPANY’S ENTIRE LIABILITY FOR ANY BREACH OF THE LIMITED WARRANTY SET FORTH IN PARAGRAPH (a).
BY INSTALLING THIS PRODUCT, YOU AGREE TO THE TERMS OF THIS WARRANTY, AS WELL AS ALL OTHER DISCLAIMERS AND WARRANTIES IN THIS DOCUMENT.



















