
8E Eight Port PoE Switch
Installation Guide![]()
DOC#: NETE Rev. 012017
More than just power.™
Installing Company: _______________ Service Rep. Name: ________
Address: __________________________ Phone #: ______
Overview
Altronix NetWay8E is an 8-port networked Managed Switch in a 1U rack enclosure. It provides PoE/PoE+ (up to 30W) power per port, and passes data at 10/100/1000 Mbps at distances up to 100m. Features also include an integral battery charger for applications requiring backup and embedded LINQ Technology to monitor, control, and report power and diagnostics from anywhere.
Features
Agency Listings:
- UL 60950-1 Information Technology Equipment.
- CE European Conformity.
Input:
- 115VAC, 60Hz, 3.25A or 230VAC, 50/60Hz, 2.0A.
Power:
- The unit supplies PoE output voltage (55V) and up to 30W max. full power per port. Total power: 240W
- IEEE 802.3af and IEEE 802.3at compliant (PoE/PoE+).
- Short circuit protection.
Ethernet Uplink:
- Two (2) 1Gb uplink (10/100/1000 Mbps)
- Connectivity: RJ45, auto-crossover.
- Wire type: 4-pair CAT5 or better-structured cable.
- Distance: up to 100m.
Ethernet:
- Eight (8) ports for cameras/edge devices over ethernet.
- Wire type: 4-pair CAT5e and higher.
- Speed: 10/100/1000 Mbps.
Functions:
- Programmble PoE shutdown for each port.
Utilized to reset cameras/edge devices (see Technical Specifications pg. 4). - Functions (cont’d):
- Auto detection and protection of legacy non-PoE cameras/edge devices.
Battery Backup:
- Built-in battery charger (optional rack mount battery enclosure – RE2).
- Automatic switchover to stand-by battery when AC fails.
LINQ Technology:
- SSL (Secure Socket Layer) security encryption.
- User-level security.
- Built-in IP management allows for remote camera reset and monitoring.
- Provides local and/or remote access to critical information via LAN/WAN
- Email and Windows Dashboard Alert notifications report real-time diagnostics.
- The event log tracks history.
Accessories:
NetWayXT:
- PoE repeater module extends data range by 100m.
NetWayXTX: - PoE/PoE+ repeater module extends data range 100m.
RE2: - Rack Mount Battery Enclosure accommodates up to four (4) 12VDC/7AH batteries
Installation Instructions:
Wiring methods shall be in accordance with the National
Electrical Code (ANSI/NFPA70), local codes, and the authorities having jurisdiction. NetWay8E is not intended to be connected to outside plant leads. These products are for indoor use only and must be installed within the protected premises.
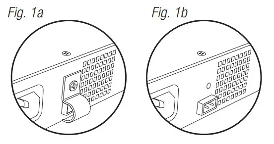
If the battery bracket is removed, then the unit must be installed in a restricted access area (Fig. 1b, pg. 3).
- Attach mounting brackets to NetWay8E unit for rack or wall mount installation (Fig. 5 or 6, pg. 8). Affix rubber pads to NetWay8E for shelf installation (Fig. 7, pg. 8).

- Secure the unit in a rack or on a wall, or place the unit on a shelf as desired.
Note: The following factors should be taken into consideration when installing these rack mount units:
a. The unit is to be installed in a space where the maximum ambient temperature does not exceed 104ºF (40ºC).
b. Take care to ensure that there is sufficient airflow around the unit and that obstructions do not impede it.
c. When mounting units in a rack, take care to avoid uneven loading which can cause a hazardous condition. - Plug the grounded AC line cord (included) into the IEC 320 connector of the NetWay8E unit (Fig. 2d, pg. 4).
Plug the unit into a reliable earth-grounded socket. When using multiple units, the sum of the individual name plate ratings should not exceed the supply circuit rating.
Do not connect to a receptacle controlled by a switch. - Connect the structured cable from ethernet switch/NVR (network video server) to RJ45 jack marked [1Gb] (10/100/1000 Mbps) (Fig. 2a, pg. 4).
Note: All cabling and wire must be UL Listed and/or Recognized wire suitable for their application. - Connect structured cables from port marked [OUT] on NetWay8E to PoE-compliant camera/edge devices (Fig. 2b, pg. 4).
- When the use of stand-by batteries is required, they must be sealed lead acid or gel type. Connect four (4) 12VDC batteries in series to terminals marked [+ BAT –] (Fig. 2e, pg. 4), carefully observing polarity.
Note: When batteries are not used, loss of AC will result in a loss of output voltage.
Fig. 2 – NetWay8E

2a 1Gb uplink to NVR.
2b OUT 1-8: Structured cable to powered cameras/devices.
2c Input Power LED.
2d IEC 320 Connector: 115/230VAC (grounded line cord included).
2e Built-in battery charger: Charges stand-by batteries for applications requiring backup.
(Optional rack mount battery enclosure available – RE2)
Fig. 3 – NetWayXT/NetWayXTX
Installing a NetWayXT/NetWayXTX Repeater Module:
NetWayXT will work only with PoE devices. NetWayXTX will work with PoE/PoE+ devices.
- Mount NetWayXT/NetWayXTX in the desired location utilizing the mounting hole (Fig. 3, pg. 4).
Use a proper fastener and/or wall anchor when securing NetWayXT/NetWayXTX to the wall. - Connect the structured cable from port marked [OUT] on NetWay8E to port marked [IN] on the NetWayXT/NetWayXTX (Fig. 3, pg. 4).
- Connect structured cable from port marked [OUT] on NetWayXT/NetWayXTX to the PoE/PoE+ camera/edge devise or next NetWayXT/NetWayXTX repeater (Fig. 3, pg. 4).
- Port status LEDs will illuminate on NetWayXT/NetWayXTX indicating the port is operational (refer to LED Definitions, pg. 4).
- Power LED will illuminate indicating 12VDC output.
Port LED Definitions for NetWayXT and NetWayXTX Repeaters:
| Status | NetWayXT | NetWayXTX | |||
| Green LED | Yellow LED | PoE/PoE+ Output LED | PoE/PoE+ Input LED | Yellow LED | |
| OFF | Indicates it is connected as 10Base-T or no link. | Indicates no link. | No PoE/PoE+ Output | No PoE/PoE+ Input | Indicates no link. |
| ON | Indicates it is connected as 1 00Base-TX. | Indicates a link. | Normal PoE/PoE+ Output | PoE/PoE+ Input | Indicates a link. |
| Blinking | Indicates activity. | Indicates activity. | |||
NetWay8E Typical Applications

NetWay8E Technical Specifications
| Parameter | Description |
| No. of Ports | Eight (8) PoE+ Ports (10/100/1000 Mbps). |
| Input power requirements | 115VAC, 60Hz, 3.25A or 230VAC, 50/60Hz, 2.0A. |
| Indicators | Power ON LED |
| Environmental Conditions | Operating Ambient Temperature: — 20°C to 40°C (— 4°F to 104°F). Relative Humidity: 85%, +/— 5%. Storage Temperature: — 20°C to 70°C (— 4°F to 158°F). Operating Altitude: — 304.8 to 3,048m. |
Configuring NetWay8E for Network Connection
Please be sure to visit altronix.com for the latest firmware and installation instructions
Factory Default Settings
| • IP Address: | 192.168.168.168 |
| • User Name: | admin |
| • Password: | admin |
- Set the static IP address for the laptop to be used for programming to the same network IP address as the NetWay8E. The default address of the NetWay8E is 192.168.168.168, E.I. 192.168.168.200.
- Connect one end of the network cable to the network jack on the NetWay8E and the other to the network connection of the laptop.
- Open a browser on the computer and enter “192.168.168.168” into the address bar. A dialog box Authentication Required will appear requesting both user name and password.
Enter the default values here. Click on the button labeled Log In. - The status page of the NetWay8E will appear. Click on the tab labeled Network Settings. This will open the Network Setting screen. In this screen, the MAC Address of the NetWay8E module will be found along with the Network Settings and Email Settings.
Network Settings:
In the IP Address, the Method field selects the method that the IP Address for the NetWay8E will be obtained (STATIC or DHCP), then follow the appropriate steps.
Static:
A. IP Address: Enter the IP address assigned to the NetWay8E by the network administrator.
B. Subnet Mask: Enter the Subnet of the network.
C. Gateway: Enter the TCP/IP gateway of the network access point (router) being used. (gateway configuration is required to properly receive emails from the device)
D. HTTP Port: Enter the HTTP port number assigned to the NetWay8E module by the network administrator to allow remote access and monitoring. The default inbound port setting is 80. HTTP is not encrypted and unsecure. Even though HTTP can be used for remote access, it is recommended primarily for use with LAN connections.
E. HTTPS Port: Enter the HTTPS port number assigned to the NetWay8E module by the network administrator to allow remote access and monitoring. The default inbound port setting is 443. Being encrypted and more secure, HTTPS is highly recommended for remote access.
F. Click the button labeled Submit Network Settings. A dialog box will display “New network settings will take effect after the server is rebooted”. Click OK.
DHCP:
A. After selecting DHCP in the IP Address Method field click the button labeled Submit Network Settings.
A dialog box will display “New network settings will take effect after the server is rebooted”. Click OK.
Next, click on the button labeled Reboot Server. After rebooting the NetWay8E will be set in the DHCP mode. The IP address will be assigned by the router when the NetWay8E is connected to the network.
It is recommended to have the assigned IP Address reserved to ensure continued access (see the network administrator).
B. Subnet Mask: When operating in DHCP, the router will assign the subnet mask values.
C. Gateway: Enter the TCP/IP gateway of the network access point (router) being used.
D. HTTP Port: Enter the HTTP port number assigned to the NetWay8E by the network administrator to allow remote access and monitoring. The default inbound port setting is 80. HTTP is not encrypted and unsecure. Even though HTTP can be used for remote access, it is recommended primarily for use with LAN connections.
Secure Network Setup (HTTPS):
In order to set up HTTPS for a Secure Network Connection, a Valid Certificate and Key must be used.
Certificates and Keys should be in a “.PEM” format. Self Certifications should only be used for testing purposes as no actual authentication is being performed. In a Self-Certified mode, the connection will still state that it is unsecure. How to upload Certificate and Key to setup HTTPS:
- Open Tab Labeled “Security”
- Select Tab Labeled “Email/SSL”
- Scroll to the bottom under “SSL Settings”
- Click “Select Certificate”
- Browse and select a valid Certificate to upload from the server
- Click “Select Key”
- Browse and select a valid Key to upload from the server
- Click “Submit Files”
Once the Certificate and Key is uploaded successfully you can proceed with setting up HTTPS in Network Settings.
A. HTTPS Port: Enter the HTTPS port number assigned to the NetWay8E by the network administrator to allow remote access and monitoring. The default inbound port setting is 443.
Being encrypted and more secure, HTTPS is highly recommended for remote access.
B. Click the button labeled Submit Network Settings.
A dialog box will display “New network settings will take effect after the server is rebooted”. Click OK.
Heartbeat Timer:
The heartbeat timer will send a trap message indicating that the NetWay8E is still connected and communicating.
Setting the Heartbeat Timer:
- Click the button labeled Heartbeat Timer Setting.
- Select the desired time between heartbeat messaging in the Days, Hours, Minutes, and Seconds in corresponding fields.
- Click the button labeled Submit to save the setting.
The lightning flash with an arrowhead symbol within an equilateral triangle is intended to alert the user to the presence of an insulated DANGEROUS VOLTAGE within the product’s enclosure that may be of sufficient magnitude to constitute an electric shock.
The exclamation point within an equilateral triangle is intended to alert the user to the presence of important operating and maintenance (servicing) instructions in the literature accompanying the appliance. 
CAUTION: To reduce the risk of electric shock do not open the enclosure.
There are no user-serviceable parts inside.
Refer servicing to qualified service personnel.
Mounting Options
Rack Mount Installation
- Remove and discard factory-installed screws from both sides of the rack chassis (Fig. 5a).
- Install mounting brackets (A) on the left and right side of the rack chassis using the four (4) flat head screws (B) (included) (Fig. 5b).
- Place unit into desired EIA 19” rack position and secure with mounting screws (not included) (Fig. 5c).

Wall Mount Installation
- Install mounting brackets (A) on the left and right side of the rack chassis using four (4) flat head screws (B) (included) (Fig. 6a).
- Place the unit at the desired location and secure it with #6 size screws or larger (not included) (Fig. 6b).
Caution: It is necessary to make sure mounting screws are securely fastened to a beam when installing the unit vertically.

Shelf Installation
- Position and affix rubber pads (C) (included) at each corner on the bottom of the unit (Fig. 7).
- Place unit in the desired location.

Altronix is not responsible for any typographical errors.
140 58th Street, Brooklyn, New York 11220 USA | 718-567-8181 | fax: 718-567-9056
website: www.altronix.com | e-mail: [email protected] | Lifetime Warranty
IINetWay8E H19U![]()



















