VENSTAR ACC-VNTH1 Wireless Temperature-Humidity Sensor

OVERVIEW
This wireless temperature sensor may be used as a room remote temperature sensor or an outdoor temperature sensor. When used as an outdoor sensor it must be kept out of direct rain and sunlight. Venstar thermostats vary by model in the way they can use remote sensors. This includes averaging, control to, or monitoring features. Please consult the Owner’s Manual of the thermostat that you are going to pair this sensor with to understand its capabilities. This sensor is compatible with Venstar VenNet thermostats that contain the latest firmware. Use
If you are wanting to pair this sensor to a thermostat other than what is depicted in these instructions, please scan the QR code or look on venstar.com/support/accessories/vennet-temp-hum-sensor-support/ for pairing instructions and a list all compatible thermostats.
SPECIFICATIONS
- Temperature Measurement Range: -40°F – 130°F
- Temperature Sample rate Once a minute
- Expected Battery Life – Type CR2450 Remote Sensor sample rate of 1per minute: > 1 year
- Humidity Measurement Range: 0 – 100% RH
Note: Extended extreme temperatures may have a negative impact on range and battery life.
TO PAIR THIS VenNet SENSOR TO A THERMOSTAT
- Make sure a fully charged CR2450 battery is installed in the sensor as shown in Fig. 1.

- Press and hold the Pair Button on the sensor for 1 second, Fig. 2.

- Upon release of the Pair button the red led will flash slowly.
- The sensor will remain in its pairing state for 1 minute.
- Move the sensor next to to the top right corner of the VenNet thermostat to be paired.
- The thermostat will recognize the sensor and display NEW SENSOR IS DETECTED, this may take up to 10 seconds, fig. 3.

Note: When the sensor starts communicating with the thermostat Press WARMER to pair the sensor to the thermostat.- The thermostat will display PAIRING.
- The pairing process may take a few seconds to complete. The led on the sensor will slowly double flash green as it finishes pairing.
- Once pairing is completed you must select the type of Sensor, Remote or Outdoor.
- At this point, the thermostat will display
- REMOTE SENSOR TYPE. Press WARMER or COOLER to change sensor type, then press FAN to accept.
- Pressing WARMER or COOLER will allow you to choose REMOTE SENSOR or OUTDOOR SENSOR.
- Press FAN to accept the type of sensor chosen.
- The thermostat will display SENSOR # IS PAIRED twice and return to the Home screen.
- A logical name may be assigned to the sensor through Skyport Cloud Services.
INDOOR SENSOR MOUNTING CONSIDERATIONS
- • The sensor must be mounted within communication range of the thermostat it is paired to
- Typically, the range is 250 feet in “clear air” with no obstructions such as walls
- The range will be reduced by walls, furniture, appliances, and other obstructions
- Generally, the sensor should be mounted ~5 feet above the floor on insulated, interior walls
- Do not mount the sensor:
- Next to windows
- In direct sunlight
- In the direct airflow of an air supply
- Next to Cold or Hot temperature sources, such as stoves

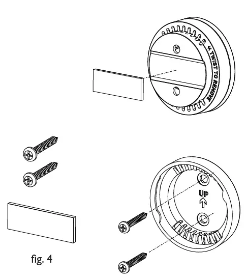
- Use the provided mounting screws or the provided double sided tape Fig. 4
OUTDOOR SENSOR MOUNTING CONSIDERATIONS
- Keep out of direct sunlight
- Keep out of direct rain and snow

An ideal outdoor mounting location would be in a covered outdoor patio or protected by an awning or eave from the elements. Fig. 5 Use the included screws to secure the sensor to its mounting location.
Warranty
One-Year Warranty – This Product is warranted to be free from defects in material and workmanship. If it appears within one year from the date of original installation, whether or not actual use begins on that date, that the product does not meet this warranty, a new or remanufactured part, at the manufacturer’s sole option to replace any defective part, will be provided without charge for the part itself provided the defective part is returned to the distributor through a qualified servicing dealer.
THIS WARRANTY DOES NOT INCLUDE LABOR OR OTHER COSTS incurred for diagnosing, repairing, removing, installing, shipping, servicing or handling of either defective parts or replacement parts. Such costs may be covered by a separate warranty provided by the installer.
THIS WARRANTY APPLIES ONLY TO PRODUCTS IN THEIR ORIGINAL INSTALLATION LOCATION AND BECOMES VOID UPON REINSTALLATION.
LIMITATIONS OF WARRANTIES – ALL IMPLIED WARRANTIES (INCLUDING IMPLIED WARRANTIES OF FITNESS FOR A PARTICULAR PURPOSE AND MERCHANTABILITY) ARE HEREBY LIMITED IN DURATION TO THE PERIOD FOR WHICH THE LIMITED WARRANTY IS GIVEN. SOME STATES DO NOT ALLOW LIMITATIONS ON HOW LONG AN IMPLIED WARRANTY LASTS, SO THE ABOVE MAY NOT APPLY TO YOU. THE EXPRESSED WARRANTIES MADE IN THIS WARRANTY ARE EXCLUSIVE AND MAY NOT BE ALTERED, ENLARGED, OR CHANGED BY ANY DISTRIBUTOR, DEALER, OR OTHER PERSON WHATSOEVER. ALL WORK UNDER THE TERMS OF THIS WARRANTY SHALL BE PERFORMED DURING NORMAL WORKING HOURS. ALL REPLACEMENT PARTS, WHETHER NEW OR REMANUFACTURED, ASSUME AS THEIR WARRANTY PERIOD ONLY THE REMAINING TIME PERIOD OF THIS WARRANTY.
THE MANUFACTURER WILL NOT BE RESPONSIBLE FOR:
- Normal maintenance as outlined in the installation and servicing instructions or owner’s manual, including filter cleaning and/or replacement and lubrication.
- Damage or repairs required as a consequence of faulty installation, misapplication, abuse, improper servicing, unauthorized alteration or improper operation.
- Failure to start due to voltage conditions, blown fuses, open circuit breakers or other damages due to the inadequacy or interruption of electrical service.
- Damage as a result of floods, winds, fires, lightning, accidents, corrosive environments or other conditions beyond the control of the Manufacturer.
- Parts not supplied or designated by the Manufacturer, or damages resulting from their use.
- Manufacturer products installed outside the continental U.S.A., Alaska, Hawaii, and Canada.
- Electricity or fuel costs or increases in electricity or fuel costs for any reason whatsoever including additional or unusual use of supplemental electric heat.
- ANY SPECIAL INDIRECT OR CONSEQUENTIAL PROPERTY OR COMMERCIAL DAMAGE OF ANY NATURE WHATSOEVER. Some states do not allow the exclusion of incidental or consequential damages, so the above may not apply to you.
This warranty gives you specific legal rights and you may also have other rights which may vary from state to state.
FCC Compliance Statement
This equipment has been tested and found to comply with the limits for a Class B digital device, pursuant to part 15 of the FCC Rules. These limits are designed to provide reasonable protection against harmful interference in a residential installation. This equipment generates, uses and can radiate radio frequency energy and, if not installed and used in accordance with the instructions, may cause harmful interference to radio communications. However, there is no guarantee that interference will not occur in a particular installation. If this equipment does cause harmful interference to radio or television reception, which can be determined by turning the equipment off and on, the user is encouraged to try to correct the interference by one or more of the following measures:
- Reorient or relocate the receiving antenna.
- Increase the separation between the equipment and receiver.
- Connect the equipment into an outlet on a circuit different from that of the receiver.
- Consult the dealer or an experienced radio or TV technician for help.
Notice: Only peripherals complying with FCC limits may be attached to this equipment. Operation with noncompliant peripherals or peripherals not recommended by Venstar, is likely to result in interference to radio and TV reception. Changes or modifications to the product, not expressly approved by Venstar could void the user’s authority to operate the equipment.
FCC – INDOOR Mobile Radio Information: To comply with FCC/IC RF exposure limits for general population / uncontrolled exposure, the antenna(s) used for this transmitter must be installed to provide a separation distance of at least 20 cm from all persons and must not be co-located or operating in conjunction with any other antenna or transmitter.
This Device complies with Industry Canada License-exempt RSS standard(s). Operation is subject to the following two conditions: 1) this device may not cause interference, and 2) this device must accept any interference, including interference that may cause undesired operation of the device.
Under Industry Canada regulations, this radio transmitter may only operate using an antenna of a type and maximum (or lesser) gain approved for the transmitter by Industry Canada. To reduce potential radio interference to other users, the antenna type and its gain should be so chosen that the equivalent isotropically radiated power (e.i.r.p.) is not more than that necessary for successful communication.























