E E ELEKTRONIK EE23 Humidity Temperature Sensor

E+E Elektronik Ges.m.b.H. doesn’t accept warranty and liability claims neither upon this publication nor in case of improper treatment of the described products. The document may contain technical inaccuracies and typographical errors. The content will be revised on a regular basis. These changes will be implemented in later versions. The described products can be improved and changed at any time without prior notice.
EMC note USA (FCC)
This equipment has been tested and found to comply with the limits for a Class A digital device, pursuant to part 15 of the FCC Rules. These limits are designed to provide reasonable protection against harmful interference when the equipment is operated in a commercial environment. This equipment generates, uses, and can radiate radio frequency energy and, if not installed and used in accordance with the instruction manual, may cause harmful interference to radio communications. Operation of this equipment in a residential area is likely to cause harmful interference in which case the user will be required to correct the interference at his own expense.
- EMC note Canada (ICES-003)
- CAN ICES-3 (A) / NMB-3 (A)
Explanation of Symbols
This symbol indicates safety information. It is essential that all safety information is strictly observed. Failure to comply with this information can lead to personal injuries or damage to property. E+E Elektronik assumes no liability if this happens. This symbol indicates instructions. The instructions shall be observed in order to reach optimal performance of the device.
Safety Instructions
General Safety Instructions
- Avoid any unnecessary mechanical stress and inappropriate use.
- Replace the filter cap with utmost care, so that the filter cap does not touch the sensing elements ofthe sensing head at any time.
- Do never touch the sensing elements.
- For sensor cleaning and filter cap replacement at www.epluse.com
- Installation, electrical connection, maintenance and commissioning shall be performed by qualified personnel only 1.2.2
Safety Instructions for the Alarm Output Module with Voltage >50 V

Not available for model T5 with remote probe up to 180 °C (356 °F)
- The alarm output module must be separated from the screw terminals by the partition plate.
- The enclosure must be properly closed before power on.
- Power off the device before opening the enclosure.
Safety Instructions for the Integrated Power Supply Option AM3

The back cover and the middle active part of the EE23 with metal enclosure must be grounded during operation. The E23 enclosure must be properly closed before power on. Power off the device before opening the enclosure.
Environmental Aspects
Products from E+E Elektronik are developed and manufactured observing of all relevant requirementswith respect to environment protection. Please observe local regulations for the device disposal. For disposal, the individual components of the device must be separated according to local recycling regulations. The electronics shall be disposed of correctly as electronics waste.
Scope of Supply
| Included in all versions According to ordering guide | ||
| EE23 according to ordering guide Operation manual in English Inspection certificate according to DIN EN 10204 3.1 Allen key 3.0 Mating cable connector for integrated power supply Mating cable connector RSC 5/7 M16 cable gland |
except AM3 E4 |
only for metal enclosure AM3 AM3 / E4 |
Operating Components
Electronics Board for Model T1, T2, T4 and T6

Jumpers
Selection of the output signal and output range
Voltage output
Current output

Display
Connectors for the optional display
Status LEDs
D1(red)
Continuously on during the calibration routine one short flash confirms reset to factory calibration
D2 (green)
Flashes during normal operation continuously on indicates sensor damage
The S1 and S2 push buttons are used for the EE23 adjustment as well as for returning to the factory calibration.
Level / Hysteresis
Potentiometers for setting the threshold / hysteresis available with alarm module only.
Display for Model T1, T2, T4 and T6
The display is plugged into the connectors on the electronics board and it can easily be replaced. For upgrading an EE23 originally without display.

CAL
Indicates that the device in calibration/adjustment mode indicates measured value above the alarm threshold with alarm module only visual feedback when depressing the S1 push button
indicates measured value below the alarm threshold with alarm module only visual feedback when depressing the S2 push button.
SET
Indication for EE23 with optional alarm output
Td / Tf
Dew point temperature / frost point temperature
°C / °F
Unit for temperature (T) and dew point temperature (Td) and frost point temperature (Tf)
%RH
Unit for relative humidity (RH)
Electronic Board for Model T5
T5 = remote probe up to 180 °C (356 °F)

Display
Connectors for the optional display
Status LEDs
Green LED
Flashing –> Supply voltage applied / Microprocessor is active
Red LED
Constantly lit > Error category 1 = non-critical error, can be solved by the user flashing > Error category 2 critical error, return the device for service.
Blue LED
Constantly lit > analogue output is set to voltage.
Orange LED
Constantly lit > analogue output is set to current.
Interface
USB Interface for service use.
Display for Model T5

Display description T5
| Measurand | 2. Units | Mesurand selection | ||
| SI | US | |||
| RH | Relative humidity | % | % |
Press the D or N button to select the measurand to be displayed. |
| T | Temperature | °C | °F | |
| h | Enthalpy | kJ/kg | ftlbf/lb | |
| r | Mixture ratio | g/kg | gr/lb | |
| dv | Absolute humidity | g/m³ | gr/ft | |
| Tw | Wet-bulb temperature | °C | °F | |
| Td | Dew-point temperature | °C | °F | |
| e | Water vapour partial pressure | mbar | psi | |
Mesurand selection
| Error description | Error code display | Error category | Recommended action |
| Short circuit on voltage output 11 | ERROR 01 |
1 | Check wiring of outputs |
| Short circuit on voltage output 21 | |||
| Short circuit – on both voltage outputs* | |||
| Current loop open – output 1 | ERROR: 02 | Check wiring of outputs | |
| Current loop open – output 2 | |||
| Current loop open – both outputs | |||
| RH sensor dirty | ERROR: 03 | Clean the sensor2 | |
| Hardware error | ERROR 05 |
2 |
Return the faulty unit for service |
| ERROR 06 | |||
| ERROR 08 | |||
| Temperature measurement failure | ERROR: 07 | ||
| Humidity measurement failure | ERROR 09 | ||
| ERROR 10 |
Not available with 0 – 1 V output Cleaning Instructions at www.epluse.com/ee23
Installation
Mounting the Enclosure
- Only for model T2 duct mounting.
- Drill the hole for inserting the probe into the duct wall on.
- The relevant position of top left mounting screw of the back cover with respect to the probe center.
- Metal enclosure: x = 28.5 mm (1.1) y = 37.5 mm (1.5)
- Polycarbonate enclosure: x = 20.5 mm (0.8) y = 25.4 mm (1)
- Fix the back cover of EE23 onto the wall / panel using 4 screws diameter max. 4.2 mm 0.2 not included in the scope of supply.
- The device shall be mounted with the cable glands pointing downwards or horizontal.
- Wire the terminals inside the back cover.
- Insert the middle (active) part into the back cover.
- By this the connection pins of the middle part will plug into the terminals of the back cover and thus realize the electrical connection.
- Place the front cover onto the middle part and close tight the enclosure using the four screws included in the scope of supply.
Mounting of metal enclosure

Drilling for round holes

Drilling for long holes

Mounting of polycarbonat enclosure
For the wall mount model the probe must point downwards. For the duct mount model the probe must point either horizontally or downwards.
T1 Wall mount

T2 Duct mount

Mounting onto DIN rails
EE23 with polycarbonate enclosure can be mounted also on DIN rails with the bracket HA010203.
Mounting the Sensing Probe
Whenever possible place the entire probe inside the space to be monitored. In case of mounting the probe into a partition wall, it is of paramount importance for accurate measurement
to avoid T gradients along the probe. In case of large T difference between the two sides of the wall, it is highly recommended to insert the probe completely up to the cable outlet into the wall. Should this not be possible, place a thermal isolation layer on the part of the probe outside the wall on the cable side. For probe mounting into a partition wall use the mounting flanges HA010201 for probe diameter 12 mm and HA010208 for probe diameter 5 mm. Neither the mounting flanges nor the EE23 probes are pressure rated and as such they are not appropriate for pressure tight mounting. For pressure tight requirements please see www.epluse.com for appropriate products such as EE310.
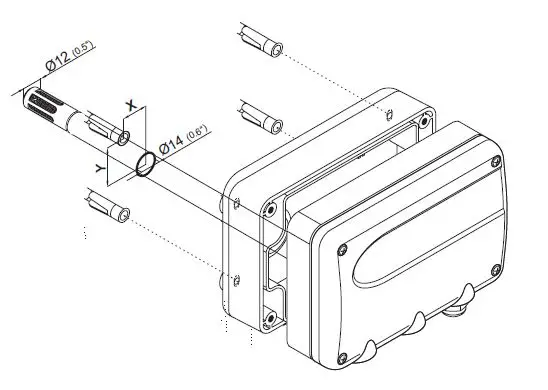
Mounting flange HA010201
Mounting flange HA010208

For applications where condensation is likely to happen, certain ways of mounting are required. For probe hanging onto its cable from the ceiling, use the drip water protection HA010503 not included in the scope of supply. This protects the probe and the sensing head against water dripping along the cable. For horizontal mounted probe, a drip water point should be made just before the probe.
Horizontal Mounting the sensing probe

Hanging onto the probe cable

Electrical Connection
Output and Supply

Alarm output

Connection Versions
Standard

Option E4

Option AM3
Two M16x1.5 cable glands (one of them mounted onto the enclosure)- Power supply + analogue outputs: cable connector, 5-poles, straight M12 Lumberg RKC 5/7
- Analogue output: cable connector, 5 poles, straight M12 Lumberg RKC 5/7
- AC power supply: cable connector, 3 poles, straight 7/8-16UN
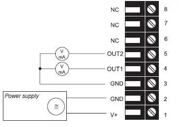
Pin assignment for option E4 with supply 8..35 V DC / 12…30 V AC
Plug for supply and analogue output front view

Description and Pins
- V+ :5
- GND: 4
- GND: 3
- OUT1: 2
- OUT2: 1
Pin assignment for option AM3 integrated supply unit for 100..240 V AC
Plug for analogue outputs front view

Description and Pins
- GND :3
- OUT1: 2
- OUT1 :1
Plug for 100-240 V metal enclosure front view

Description: Pins
Gro unding (PE): 1
Phase (L1): 2
Neutr al wire (N) :3
Plug for 100-240 V polycarbonate enclosure front view

Description: Pins
Phase (L1): 1
Neutral wire (N) :3
- External diameter of supply cable: 10-12 mm 0.39-0.47
- Maximum wire cross section for connecting cable: 1.5 mm² AWG 16
- The protection of the supply cable against excess current and short-circuit must be designated to a wire cross section of 0.8 mm² AWG 18 6A fuse.
- The back cover and the middle part of the metal enclosure must be grounded during operation.
Calibration / Adjustment
Definitions Calibration
The calibration documents the accuracy of a measurement device. The device under test specimen is compared with the reference and the deviations are documented in a calibration certificate. During the calibration, the specimen is not changed or improved in any way.
Adjustment
The adjustment improves the measurement accuracy of a device. The specimen is compared with the reference and brought in line with it. An adjustment can be followed by a calibration which documents the accuracy of the adjusted specimen. For general calibration / adjustment guidelines and for the choice of humidity reference devices please at www.epluse.com/ee23
The 2 point adjustment is recommended for best accuracy over a wide RH and / or T range. Always start the 2-point adjustment with the lower adjustment point RH_low / T_low, followed by the higher adjustment point RH high / T high. The span between the two adjustment points must be
- RH_high – RH_low > 30 % RH
- High T low > 30 °C (54 °F)
The 1 point adjustment should be used only when the RH and/or T range of interest is rather narrow. The RH resp. T adjustment point should be ideally in the middle of the range of interest.
Example
- In a climate controlled environment with 40 % < RH < 60 % and 15 °C < T < 25 °C 59 °F < T < 77 °F
- 1 point adjustment shall be performed at 50 % RH and 20 °C (68 °F).
- 1 point adjustment leads to very good accuracy within the range of main interest at the cost of the accuracy beyond this range.
2 Point RH Adjustment Procedure / T Adjustment Procedure
- For a RH humidity adjustment set the jumper to CAL RH / for a temperature adjustment set the jumper to CAL T.
- First point adjustment
- Allow for the probe to stabilize at RH low / T low for min. 30 minutes.
- Press BUTTON S2 for min.
- 3 seconds to start the adjustment procedure for the first point.
- The LED D1 illuminates and CAL< appears on the LC display.
- Press BUTTON S1 up and S2 down to adjust the measured value in steps of 0.1 % / 0.1 °C up or down to match the reference value.
- The change is indicated on the display (if available or can be measured at the analogue output.
- Press BUTTON S1 for min. 3 seconds to store adjusted value and end the first point adjustment.
- Press BUTTON S2 for min. 3 seconds to exit adjustment procedure without storing the adjusted value.
- In both cases the LED D1 and the symbol CAL<on the LC display are deactivated.
Second point adjustment
- Allow for the probe to stabilize at the desired RH high/T high for min. 30 minutes.
- Press BUTTON S1 for min. 3 seconds to start the adjustment procedure for the second point.
- The LED D1 illuminates and CAL> appears on the LC display.
- Press BUTTON S1 up and S2 down to adjust the measured value in steps of 0.1 % / 0.1 deg C up or down to match the reference value.
- The change is indicated on the display (if available or can be measured at the analogue output.
- Press BUTTON S1 for min. 3 seconds to store adjusted value and end the first point adjustment.
- Press BUTTON S2 for min. 3 seconds to exit adjustment procedure without storing the adjusted value.
- In both cases the LED D1 and the symbol CAL> on the LC display are deactivated.
1- Point RH Adjustment Procedure / T Adjustment Procedure
- For a RH humidity adjustment set the jumper to CAL RH / for a temperature adjustment set the jumper to CAL T.
- Allow for the probe to stabilize at the desired RH / T for min. 30 minutes.
- For adjustment point > 50 % RH / in the upper half of the T output scale): press BUTTON S1 for 3 seconds to start the procedure.
- The LED D1 illuminates and CAL< appears on the LC display.
- For adjustment point < 50 % RH / in the lower half of the T output scale press BUTTON S2 for 3 seconds to start the procedure
- The LED D1 illuminates and CAL> appears on the LC display.
- Press BUTTON S1 (up) and S2 down to adjust the measured value in steps of 0.1 % / 0.1 °C up or down to match the reference value.
- The change is indicated on the display if available or can be measured at the analogue output.
- Press BUTTON S1 for min. 3 seconds to store adjusted value and end the first point adjustment.
- Press BUTTON S2 for min. 3 seconds to exit adjustment procedure without storing the adjusted value.
- In both cases the LED D1 and the symbol CAL on the LC display are deactivated.
Return to Factory Calibration
To return to RH or T factory calibration set first the jumper to RH or to T respectively. During normal measuring mode (i.e. not during the adjustment procedure. LED D1 shall be off, the
display shall not show CAL pressing BUTTON S1 and S2 together for min 5 seconds. The return to factory calibration is confirmed by a short flash of the LED D1.
Adjustment of the EE23 Model T5 via the USB Service Interface
- Download and install the EE-PCS Product Configuration Software from www.epluse.com/configurator
- Connect the USB service interface of EE23-T5 to the PC.
- Start the EE PCS software.
- Select the desired adjustment mode and follow the instructions of the EE-PCS
Maintenance
- When employed in dusty, polluted environment.
- The filter cap shall be replaced as needed with an E+E original one. A polluted filter cap causes longer response time of the device.
- For cleaning of the sensing head please Cleaning Instructions at www.epluse.com/ee23
Troubleshooting
Fuse Replacement for Option AM
If the green LED on the PCB is not flashing with the supply voltage switched on check the fuse and replace if required.
Fuse secondary: 250 mA / T UL248-14
Recommended replacement types
- Series: MSTU 250 Manufacturer: Schurter
- Order No.: 0034.7109
- Series: 374 Manufacturer: Littelfuse
- Order No.: 374 0250
Fuse replacement

Accessories and Spare Parts

Technical Data
Measurands
Relative Humidity
Working range 0…100 % RHAccuracy1 including hysteresis, non linearity and repeatability, traceable to intern. standards, administrated by NIST, PTB, BEV.
| EE23T1/T2/T4/T5 | EE23-T6 | ||
| -15…40 °C 5…104 °F | 90 % RH | ± 1.3 + 0.3 %*mv % RH | ± (+ 0,3 %*mv % RH |
| -15…40 °C (5…104 °F -25…70 °C -13…158 °F -40…180 °C -40…356 °F | >90 % RH | ± 2.3 % RH ± (1.4 + 1 %*mv) % RH ± 1.5 + 1.5 %mv % RH | ± 2.8 % RH ± 1.9 + 1% mv % RH
|

Output Scale Span
| from | up to | units | |||||||||||
| EE23-T1 | EE23-T2/T6 | EE23-T4 | EE23-T5 | ||||||||||
| Humidity | RH | 0 | 100 | 100 | 100 | 100 | % RH | ||||||
| Temperature | T | -40 | -40 | 60 | 140 | 80 | 176 | 120 | 248 | 180 | 356 | °C | °F |
| Dew point temperature | Td | -40 | -40 | 60 | 140 | 80 | 176 | 100 | 212 | 100 | 212 | °C | °F |
| Frost point temperature | Tf | -40 | -40 | 0 | 32 | 0 | 32 | 0 | 32 | 0 | 32 | °C | °F |
| Outputs | 0 – 1 V 0 – 5 / 0 – 10 V 0 – 20 mA / 4 – 20 mA | -0.5 mA < IL < 0.5 mA -1 mA < IL < 1 mA RL < 470 Ohm |
| General |

The accuracy statement includes the uncertainty of the factory calibration with an enhancement factor k=2 times standard deviation. The accuracy was calculated in accordance with EA-4/02 and with regard to GUM Guide to the Expression of Uncertainty in Measurement only for models T1, T2, T4 and T6.
Operating Range Humidity Sensor
The gray area shows the allowed measurement range for the humidity sensor. Operation beyond this range does not destroy the sensing element, but the specified measurement accuracy cannot be guaranteed.

Mounting flange HA010208
Two M16x1.5 cable glands (one of them mounted onto the enclosure)


















