Wireless Thermometer and Humidity Sensor
Instruction Manual
Wireless Thermometer and Humidity Sensor
Monitor up to Three Indoor Zones and
Outside Temperature
User Instructions
- Attach Hangers to Sensors Insert and lock Rubberized Hangers into Sensor’s Hanger Slots by pulling up.

- Hanging Sensors on Vents
a. For Wall Mounted Supply or Intake Vents Hook Hanger on the Top Horizontal Louver of the Vent Register.
b. For Ceiling Vents
Hang Sensor in the center of the Vent.
c. For Floor Vents
Lay Sensor display side up on the Vent. No Hanger needed.
- Take the Main Index Unit to your outdoor AC Unit work area and monitor temperature and humidity readings as you make adjustments. Leave all units on to keep sensors connected and ready to use.
Troubleshooting System
Sensors not displaying Channels
Method 1 (Main Index Unit)
Press Sensor Channel Sync Button to select blank Channel.
Hold button for 2 seconds-Channel Icon flashes.
Wait up to 15 seconds for connection, digits reappear.
Method 2 (Sensors)
Remove and replace batteries from blank Sensor. Press Channel Selector Button to select channel.
Wait up to 30 seconds for connection, digits reappear.
Method 3 Replace batteries.![]()
Temperature/Humidity Accuracy Under Differing Conditions, Update Frequency and Range
Main Index Unit Outdoor Temperature Range
a. Measurement range: 32°F ~ 122°F (0°C ~ 50°C)
b. If temperature is higher than the range, the display reads “HI”
c. If temperature is lower than the range, the display reads “LO”
d. Resolution: 1°F(1°C)
e. Temperature reading cycle: approx. 30 seconds
| Temperature Range | Accuracy |
| -40°F ~ -4°F (-40°C ~ -20°C) | ±7.2°F (± 4°C) |
| -4°F ~ 32°F (-20°C ~ 0°C) | ±3.6°F (± 2°C) |
| 32°F ~ 122°F (0°C ~ +50°C) | ±1.8°F (+1°C) |
Remote Sensors Indoor Temperature Range
a. Measurement range: -40°F ~ 158°F (-40°C ~ 70°C)
b. If temperature is higher than the range, the display reads “HI”
c. If temperature is lower than the range, the display reads “LO”
d. Resolution: 1°F(1°C)
e. Temperature reading cycle: approx. 60 seconds.
![]()
| Temperature Range | Accuracy |
| -40°F ~ -4°F (-40°C ~ -20°C) | ±7.2°F (± 4°C) |
| -4°F ~ 32°F (-20°C ~ 0°C) | ±3.6°F (± 2°C) |
| 32°F ~ 158°F (0°C ~ +70°C) | ±1.8°F (+1°C) |
Relative Humidity
Main Index Unit and Remote Sensors
a. Operating humidity range: 20% RH ~ 95%RH
b. Resolution: 1 % RH
| Humidity Range | Accuracy |
| @77°F, 30%RH ~ 80%RH | ± 5% RH |
| @77°F, 20%RH ~ 29%RH | ± 8% RH |
| @77°F, 80%RH ~ 95%RH | ± 8% RH |
Both Main Index Unit and Sensors transmit at 433Mhz.
System Care
Keep Main Index Unit out of direct sunlight for prolonged periods. The LCD screen may go blank or do permanent damage. Place in a shadowed area.
Shield unit from rain. Water will damage circuitry.
Do not use solvents to clean. Use a damp, soft cloth; wipe gently to avoid scratching screen.
1-Year Limited Warranty HVAC Signal warranties this product to be free of defects in material or workmanship for a period of (1) year following the date of purchase provided that the product is used for its intended purpose. This limited warranty does not cover failures due to abuse, accidental damage or when repairs have been made or attempted by anyone other than HVAC Signal. A defective product meeting the warranty conditions set forth herein will be replaced or repaired at no charge. Please notify by email at [email protected] for return authorization.
This warranty gives you specific legal rights which vary from state to state. All other guarantees, express or implied, are hereby disclaimed.
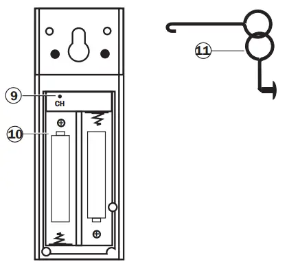
Sensor Details
| 1. Indoor Sensor Unit (3) | 5. Air Vents |
| 2. Digital Display | 6. Hanger Slot |
| 3. LED Transmit Indicator | 7. Battery Cover |
| 4. Sensor Channel Number | 8. Rubber Shock Bands (3) |
9. Channel Selector Button
10. Batteries 2 AA (not included)
11. Rubberized Hangers (3 sets)

Sensors Start Up Instructions
Important: Set up all Sensors and Channels before turning on the Main Index Unit.
A. Slide open Battery Covers, place 2 AA Batteries.7
B. Press the CHANNEL (CH) Button above the 10 batteries, on each Sensor to set channels 1, 2 or 3. (Channel 1 is default.)
C. Slide on battery covers.
D. Stretch Grips around Sensor and Battery Covers.
Make sure the vents at the bottom are clear.5
Main Index Unit Details
- Time, Day, Month, Year, Alarm
- Main Index Unit Temperature, Relative Humidity %, °F°C, Max/Min Memory for 24 hrs
- Low Battery Indicator
- Active Channel Signal Indicators
- Sensor Channels, °F°C, Relative Humidity %

Main Index Unit Details
| 1. Function Buttons | 4. Battery Compartment |
| 2. Alarm Speaker | 5. Open Tab |
| 3. Air Vents | 6. Stand/Finger Holder |

Main Index Unit Function Buttons

| 7. Function SET Select | 10. Scroll DOWN, F/C Selector |
| 8. ALARM Set, ON, OFF | 11. Sensors Channel Sync |
| 9. Scroll UP, 24 hr. High Temp | 12. Snooze, Back light |
Main Index Unit Start Up Instructions
Important: Set up all Sensors and Channels before turning on the Main Index Unit.
A. Open Battery Cover, push Tab up, pull open. 4 5
B. Insert 3 AAA batteries (not included).
C. Press in Cover. 4
E. Main Index Unit automatically receives signals from Sensors.
A beep sounds when unit starts.
F. It may take up to three minutes to connect and synchronize.
Note: all data in the first three minutes may not be accurate.
Main Index Unit Time/Date/Alarm Setup:
- Time Set
a. Time Set Mode: Press “SET” for two seconds, until date flashes.
b. Press “Up” or “Down” Buttons to adjust the time.
c. Press “SET” to confirm and go to next setting in the following order: Year—Month —Day—Hour —Minute —12 or (24hr) —Press “SET” to Exit.
Note: Setting will be auto-saved without any operation for 20 seconds. - Alarm ON/OFF/Set
a. Press “ALARM” once to check the Alarm Time.
b. Press “ALARM” again to turn Alarm On or Off. (Look for Alarm Bell Icon between HR and Min.)

c. Press and hold “ALARM” for two seconds to enter the Alarm Set Mode. (Time Flashes.)d. Press “UP” or “DOWN” Buttons to adjust the Time.
e. Press “ALARM” again to confirm the setting and go to the next setting. Set order is: Hour—Minute— Exit.
f. Snooze: When the Alarm beeps, press “SNOOZE” and it will repeat after five minutes. Press any other button to cancel Alarm.

b. For Ceiling Vents
c. For Floor Vents




















