
Ivar Dining Table and 4 Hannah Black Chairs
Instructions
Safety and Care Advice
Product Details
Hob Ivar Label D120Cm Black 1308536
IMPORTANT, RETAIN FOR FUTURE REFERENCE: READ CAREFULLY.
- Keep children and animals away from the work area, small parts could choke if swallowed.
- Make sure you have enough space to layout the parts before starting.
- This product has been constructed to be used in the domestic environment only and not for commercial purposes.
- Assemble the item as close to its final position (in the same room) as possible.
- Assemble on a soft level surface to avoid damaging the unit or your floor.
We do not recommend the use of power drill/drivers for inserting screws as this could damage the unit. Only use hand screwdrivers.- Parts of the assembly will be easier with 2 people.
- Dispose of all packaging carefully and responsibly.
Care and maintenance
- Only clean using a damp cloth and mild detergent. Do not use abrasive cleaners.
- Use a dry cloth to clean the product, furniture polish is not recommended.
- From time to time check that there are no loose screws, nuts or bolts. If there are please re-tighten.
- This product should not be discarded with household waste. Take to your local authority waste disposal centre.
Additional Guidance
- Assemble all parts and bolts loosely during assembly, only once the product is complete should you fully tighten the bolts.
- Regularly check and ensure that all bolts and fittings are tightened properly.
- Maximum loading weight :100kgs.
- This product is compliant EN12521.
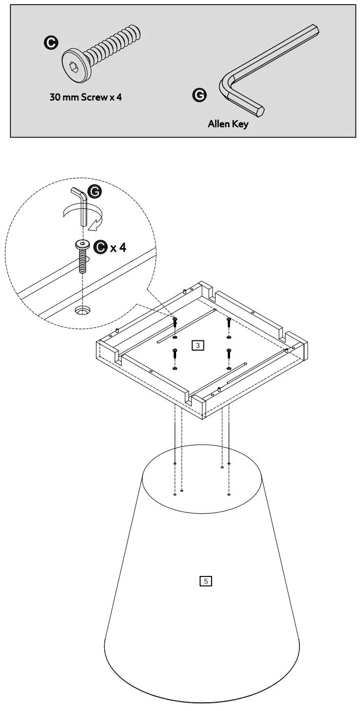
Bag 1

Tools required

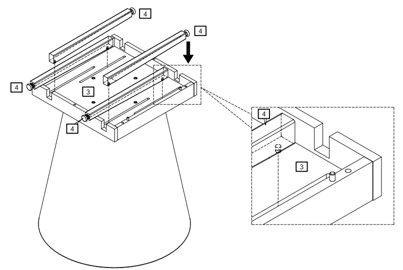
Panels









Spare Parts
www.argos-support.co.uk
[email protected]
0370 112 1928
Customer Support
0345 640 2020


















