Round Table
USER’S MANUAL
Austin Oak Round 4 Seater Dining Table
THIS INSTRUCTION BOOKLET CONTAINS IMPORTANT SAFETY INFORMATION. PLEASE READ AND KEEP IT FOR FUTURE REFERENCE.
Before You Start
Read each step carefully before starting. It is very important to ensure each step is followed in the correct order, otherwise, assembly difficulties may occur.
Most of the board parts are labeled or stamped on the raw edges. Have a check to make sure all parts are included.
Work in a spacious area, preferably on a carpet close to where the unit will be used.
Keep the hand tools close at hand. Do not use power tools to assemble your furniture. They may scratch or damage the parts.
![]()
Notice
- 50% tighten before fixing all screws, Allen wrench is recommended instead of an electric drill.
- Place the item on a flat ground to adjust and make sure it remains stable.
- Tighten up all screws with tools gradually.
- If the screws are not aligned with holes during assembly, please loosen all the other screws to 50% and continue the assembly process.
- If the item is not stable, please loosen all the screws, adjust it on flat ground and tighten up all screws again.
- Note: If one or some screws are fully tightened during assembly, the others may not be aligned with the holes. In addition, all the holes are designed to be relatively larger to provide more space for the adjustment of the screws.

Parts List

Hardware List

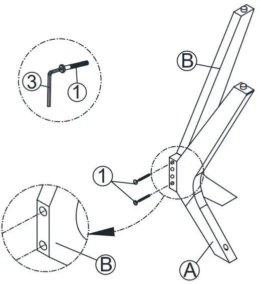
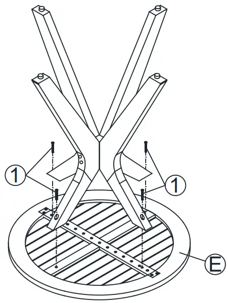
STEP 01 | STEP 02 |
STEP 03 | STEP 04 |
STEP 05 | |
Care and Maintenance
Use a soft, clean cloth that will not scratch the surface when dusting.
The use of furniture polish is not necessary.
Should you choose to use polish, test first in an inconspicuous area.
Using solvents of any kind on your furniture may damage the finish.
Never use water to clean your furniture as it may cause damage to the finish.
Liquid spills should be removed immediately. Using a soft clean cloth, blot the spill gently. Avoid rubbing.
Check bolts/screws periodically and tighten them if necessary.
Further advice about wood furniture care
Please protect your outdoor furniture with a cover when not in use since long-term sunlight exposure will result in damage to the surface.
In addition to sunlight damage, wood and metal frame suffers when exposed to extremes in temperature and humidity.
Proper care and cleaning at home will extend the life of your purchase.
Following these important and helpful tips will enhance your furniture as it ages.























