
IKE64450IB
User Manual
Hob

FOR PERFECT RESULTS
Thank you for choosing this AEG product. We have created it to give you impeccable performance for many years, with innovative technologies that help make life simpler – features you might not find on ordinary appliances. Please spend a few minutes reading to get the very best from it.
Visit our website to:
![]() | Get usage advice, brochures, troubleshooter, service and repair information: www.aeg.com/support |
![]() | Register your product for better service: www.registeraeg.com |
![]() | Buy Accessories, Consumables and Original spare parts for your appliance: www.aeg.com/shop |
CUSTOMER CARE AND SERVICE
Always use original spare parts.
When contacting our Authorised Service Centre, ensure that you have the following data available: Model, PNC, Serial Number.
The information can be found on the rating plate.
Warning / Caution-Safety information
General information and tips
Environmental information
Subject to change without notice.
SAFETY INFORMATION
Before the installation and use of the appliance, carefully read the supplied instructions. The manufacturer is not responsible for any injuries or damage that are the result of incorrect installation or usage. Always keep the instructions in a safe and accessible location for future reference.
1.1 Children and vulnerable people safety
- This appliance can be used by children aged from 8 years and above and persons with reduced physical, sensory or mental capabilities or lack of experience and knowledge if they have been given supervision or instruction concerning the use of the appliance in a safe way and understand the hazards involved. Children of less than 8 years of age and persons with very extensive and complex disabilities shall be kept away from the appliance unless continuously supervised.
- Children should be supervised to ensure that they do not play with the appliance.
- Keep all packaging away from children and dispose of it appropriately.
- WARNING: Keep children and pets away from the appliance when it operates or when it cools down. Accessible parts become hot during use.
- If the appliance has a child safety device, it should be activated.
- Children shall not carry out cleaning and user maintenance of the appliance without supervision.
1.2 General Safety
- WARNING: The appliance and its accessible parts become hot during use. Care should be taken to avoid touching heating elements.
- WARNING: Unattended cooking on a hob with fat or oil can be dangerous and may result in fire.
- NEVER try to extinguish a fire with water, but switch off the appliance and then cover flame e.g. with a lid or a fire blanket.
- WARNING: The appliance must not be supplied through an external switching device, such as a timer, or connected to a circuit that is regularly switched on and off by a utility.
- CAUTION: The cooking process has to be supervised. A short-term cooking process has to be supervised continuously.
- WARNING: Danger of fire: Do not store items on the cooking surfaces.
- Metallic objects such as knives, forks, spoons and lids should not be placed on the hob surface since they can get hot.
- Do not use the appliance before installing it in the built-in structure.
- Do not use a steam cleaner to clean the appliance.
- If the supply cord is damaged, it must be replaced by the manufacturer, an authorized Service or similarly qualified persons in order to avoid a hazard.
- Where the appliance is directly connected to the power supply, an all-pole isolating switch with a contact gap is required. Complete disconnection in compliance with the conditions specified in overvoltage category III must be guaranteed. The earth cable is excluded from this.
- When you route the mains cable, make sure that the cable doesn’t come into direct contact (for example using insulating sleeving) with parts that can reach temperatures of more than 50°C above room temperature.
- WARNING: Use only hob guards designed by the manufacturer of the cooking appliance or indicated by the manufacturer of the appliance in the instructions for use as suitable or hob guards incorporated in the appliance. The use of inappropriate guards can cause accidents.
SAFETY INSTRUCTIONS
This appliance is suitable for the following markets: GB MT
2.1 Installation
WARNING! Only a qualified person must install this appliance.
WARNING! Risk of injury or damage to the appliance.
- Remove all the packaging.
- Do not install or use a damaged appliance.
- Follow the installation instructions supplied with the appliance.
- Keep the minimum distance from other appliances and units.
- Always take care when moving the appliance as it is heavy. Always use safety gloves and enclosed footwear.
- Seal the cut surfaces with a sealant to prevent moisture from causing swelling.
- Protect the bottom of the appliance from steam and moisture.
- Do not install the appliance next to a door or under a window. This prevents hot cookware from falling from the appliance when the door or the window is opened.
- If the appliance is installed above drawers make sure that the space, between the bottom of the appliance and the upper drawer, is sufficient for air circulation.
- The underside of the appliance can get hot when in use. If an oven has not been fitted underneath the hob and underside of the appliance is accessible and could allow a user or items stored beneath the hob to come in direct contact with the underside of the hob, an intermediate protection panel must be fitted.
- Plywood or kitchen carcass material is acceptable for the panel.
- The panel must be removable for servicing. Screws used to fix the panel must be accessible after installation.
2.2 Electrical Connection
WARNING! Risk of fire and electric shock.
- All electrical connections should be made by a qualified electrician.
- The appliance must be earthed.
- Before carrying out any operation make sure that the appliance is disconnected from the power supply.
- Make sure that the parameters on the rating plate are compatible with the electrical ratings of the main power supply.
- Make sure the appliance is installed correctly. Loose and incorrect electricity mains cable or plug (if applicable) can make the terminal become too hot.
- Use the correct electricity mains cable.
- Do not let the electricity mains cable tangle.
- Make sure that shock protection is installed.
- Use the strain relief clamp on the cable.
- Make sure the mains cable or plug (if applicable) does not touch the hot appliance or hot cookware when you connect the appliance to a socket.
- Do not use multi-plug adapters and extension cables.
- Make sure not to cause damage to the mains plug (if applicable) or to the mains cable. Contact our Authorised Service Centre or an electrician to change a damaged mains cable.
- The shock protection of live and insulated parts must be fastened in such a way that it cannot be removed without tools.
- Connect the mains plug to the mains socket only at the end of the installation. Make sure that there is access to the mains plug after the installation.
- If the main socket is loose, do not connect the main plug.
- Do not pull the main cable to disconnect the appliance. Always pull the mains plug.
- Use only correct isolation devices: line protecting cut-outs, fuses (screw type fuses removed from the holder), earth leakage trips and contactors.
- The electrical installation must have an isolation device that lets you disconnect the appliance from the mains at all poles. The isolation device must have a contact opening width of a minimum 3 mm.
2.4 Use
WARNING!
Risk of injury, burns and electric shock.
- Remove all the packaging, labeling and protective film (if applicable) before first use.
- This appliance is for household (indoors) use only.
- Do not change the specification of this appliance.
- Make sure that the ventilation openings are not blocked.
- Do not let the appliance stay unattended during operation.
- Set the cooking zone to “off” after each use.
- Do not put cutlery or saucepan lids on the cooking zones. They can become hot.
- Do not operate the appliance with wet hands or when it has contact with water.
- Do not use the appliance as a work surface or as a storage surface.
- When you place food into hot oil, it may splash.
WARNING!
Risk of fire and explosion
- Fats and oil when heated can release flammable vapors. Keep flames or heated objects away from fats and oils when you cook with them.
- The vapors that very hot oil releases can cause spontaneous combustion.
- Used oil, that can contain food remnants, can cause fire at a lower temperature than oil used for the first time.
- Do not put flammable products or items that are wet with flammable products in, near or on the appliance.
WARNING!
Risk of damage to the appliance.
- Do not keep hot cookware on the control panel.
- Do not put a hot pan cover on the glass surface of the hob.
- Do not let cookware to boil dry.
- Be careful not to let objects or cookware fall on the appliance. The surface can be damaged.
- Do not activate the cooking zones with empty cookware or without cookware.
- Do not put aluminum foil on the appliance.
- Cookware made of cast iron, aluminum or with a damaged bottom can cause scratches on the glass/glass-ceramic. Always lift these objects up when you have to move them on the cooking surface.
- This appliance is for cooking purposes only. It must not be used for other purposes, for example, room heating.
2.4 Care and cleaning
- Clean regularly the appliance to prevent the deterioration of the surface material.
- Deactivate the appliance and let it cool down before you clean it.
- Disconnect the appliance from the electrical supply before maintenance.
- Do not use water spray and steam to clean the appliance.
- Clean the appliance with a moist soft cloth. Only use neutral detergents. Do not use any abrasive products, abrasive cleaning pads, solvents or metal objects.
2.5 Service
- To repair the appliance contact the Authorised Service Centre. Use original spare parts only.
- Concerning the lamp(s) inside this product and spare part lamps sold separately: These lamps are intended to withstand extreme physical conditions in household appliances, such as temperature, vibration, humidity, or are intended to signal information about the operational status of the appliance. They are not intended to be used in other applications and are not suitable for household room illumination.
2.6 Disposal
WARNING!
Risk of injury or suffocation.
- Contact your municipal authority for information on how to discard the appliance correctly.
- Disconnect the appliance from the main supply.
- Cut off the mains electrical cable close to the appliance and dispose of it.
INSTALLATION
WARNING!
Refer to Safety chapters.
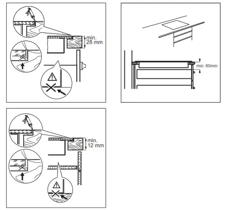
3.1 Before the installation
Before you install the hob, write down the information below from the rating plate. The rating plate is on the bottom of the hob.
Serial number ………………………
3.2 Built-in hobs
Only use the built-in hobs after you assemble the hob into correct built-in units and work surfaces that align to the standards.
3.3 Connection cable
- The hob is supplied with a connection cable.
- To replace the damaged mains cable, use the cable type: H05V2V2-F which withstands a temperature of 90°C or higher. Speak to your local Service Centre.
3.4 Attaching the seal to the rabbet
- Clean the rabbets in the worktop.
- Cut the supplied seal stripe into 4 stripes. The stripes must have the same length as the rabbets.
- Cut the ends of the stripes at an angle of 45°. They should fit in the corners of the rabbets accurately.
- Attach the stripes to the rabbets. Do not extend the stripes. Do not bond ends of stripes one over another.
After you assemble the hob, seal the remaining gap between the glass-ceramic and the worktop with silicone. Make sure the silicone does not get under the glass-ceramic.
3.5 Assembly


PRODUCT DESCRIPTION
4.1 Cooking surface layout

- Induction cooking zone
- Control panel
4.2 Control panel layout

Use the sensor fields to operate the appliance. The displays, indicators and sounds tell which functions operate.
| Sen‐ sor field | Function | Comment | |
| 1 | ON / OFF | To activate and deactivate the hob. | |
| 2 | Lock / Child Safety Device | To lock/unlock the control panel. | |
| 3 | Pause | To activate and deactivate the function. | |
| 4 | Bridge | To activate and deactivate the function. | |
| 5 | – | Heat setting display | To show the heat setting. |
| 6 | – | Timer indicators of cooking | To show for which zone you set the time. |
| 7 | – | Timer display | To show the time in minutes. |
| 8 | – | To select the cooking zone. | |
| 9 | +/- | – | To increase or decrease the time. |
| 10 | P | PowerBoost | To activate and deactivate the function. |
| 11 | – | Control bar | To set a heat setting. |
4.3 Heat setting displays
| Display | Description |
![]() ![]() | The cooking zone is deactivated. |
| The cooking zone operates. | |
| Pause operates. | |
| Automatic Heat Up operates. | |
| PowerBoost operates. | |
| There is a malfunction. | |
| OptiHeat Control (3 steps Residual heat indicator): continue cooking /keep warm/residual heat. | |
| Lock / Child Safety Device operates. | |
| Incorrect or too small cookware or no cookware on the cooking zone. | |
| Automatic Switch Off operates. |
4.4 OptiHeat Control (3 step Residual heat indicator)
WARNING!
There is a risk of burns from residual heat. The indicator shows the level of the residual heat.
The induction cooking zones make the heat necessary for the cooking process directly in the bottom of the cookware. The glass-ceramic is heated by the heat of the cookware.
DAILY USE
WARNING!
Refer to Safety chapters.
5.1 Activating and deactivating
Touch for
second to activate or deactivate the hob.
5.2 Automatic Switch Off
The function deactivates the hob automatically if:
- all cooking zones are deactivated,
- you do not set the heat setting after you activate the hob,
- you spill something or put something on the control panel for more than 10 seconds (a pan, a cloth, etc.). An acoustic signal sounds and the hob deactivates. Remove the object or clean the control panel.
- the hob gets too hot (e.g. when a saucepan boils dry). Let the cooking zone cool down before you use the hob again.
- you use incorrect cookware. The symbol
comes on and the cooking zone deactivates automatically after 2 minutes. - you do not deactivate a cooking zone or change the heat setting. After some – time comes on and the hob deactivates.
The relation between the heat setting and the time after which the hob deactivates:
| Heat setting | The hob deactivates after |
| 6 hours | |
| 4 – 7 | 5 hours |
| 8 – 9 | 4 hours |
| 10 – 14 | 1.5 hour |
5.3 The heat setting
To set or change the heat setting:
Touch the control bar at the correct heat setting or move your finger along the control bar until you reach the correct heat setting.
5.4 Using the cooking zones
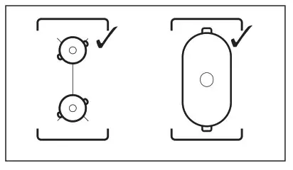
Place the cookware in the center of the selected zone. Induction cooking zones adapt to the dimension of the bottom of the cookware automatically.
You can cook with large cookware placed on two cooking zones at the same time. The cookware must cover the centers of both zones but not go beyond the area marking.
If the cookware is located between the two centers, the bridge function will not be activated.


5.5 Bridge
The function operates when the pot covers the centers of the two zones.
This function connects two cooking zones and they operate as one.
First set the heat setting for one of the cooking zones.
To activate the function for left
/
right cooking zones: touch /
. To set or change the heat setting touch one of the left/right control sensors.
To deactivate the function: touch/
. The cooking zones operate independently.
5.6 Automatic Heat Up
Activate this function to get the desired heat setting in a shorter time. When it is on, the zone operates on the highest setting in the beginning and then continues to cook at the desired heating setting.
To activate the function the cooking zone must be cold.
To activate the function for a cooking zone: touch (
comes on).
Immediately touch the desired heat setting.
After 3 seconds
comes on.
To deactivate the function: change the heat setting.
5.7 PowerBoost
This function makes more power available to the induction cooking zones.
The function can be activated for the induction cooking zone only for a limited* period of time. After this time the induction cooking zone automatically sets back to the highest heat setting.
Refer to the “Technical information” chapter.
To activate the function for a cooking zone: touch P.
comes on.
To deactivate the function: change the heat setting.
5.8 Timer
Count Down Timer
You can use this function to set how long the cooking zone should operate for a single cooking session.
First set the heat setting for the cooking zone then set the function.
To set the cooking zone: touch
again and again until the indicator of a necessary cooking zone comes on.
To activate the function: a touch + of the timer to set the time (00 – 99 minutes). When the indicator of the cooking zone starts to flash slowly the time counts down.
To see the remaining time: set the cooking zone with
. The indicator of the cooking zone starts to flash quickly.
The display shows the remaining time.
To change the time: set the cooking zone with
. Touch +or-.
To deactivate the function: set the cooking zone
with and touch. The remaining time counts back to 00. The indicator of the cooking zone goes out.
When the time comes to an end, the sound operates, and 00 flashes. The cooking zone deactivates.
To stop the sound: touch
.
CountUp Timer (The count up timer)
You can use this function to monitor how long the cooking zone operates.
To set the cooking zone: touch
again and again until the indicator of a necessary cooking zone comes on.
To activate the function: touch- of the timer. UPcomes on. When the indicator of the cooking zone starts to flash slowly the time counts up. The display switches between UP and counted time (minutes).
To see how long the cooking zone operates: set the cooking zone with
.
The indicator of the cooking zone starts to flash quickly. The display shows how long the zone operates.
To deactivate the function: set the cooking zone with
and touch+ or-. The indicator of the cooking zone goes out.
Minute Minder
You can use this function as a Minute Minder when the hob is activated and the cooking zones do not operate. The heat setting display shows0.
To activate the function: touch.
Touch or of the timer to set the time. When the time comes to an end, the sound operates, and 00 flashes.
To stop the sound: touch
. The function has no effect on the operation of the cooking zones.
5.9 Pause
This function sets all cooking zones that operate to the lowest heat setting. When the function operates, all other symbols on the control panels are locked.
When the function is active
and
, symbols can be used. The function does not stop the timer functions:
and
.
Touch
to activate the function.
comes on. The heat setting is lowered to 1.
To deactivate the function, touch
. The previous heat setting comes on.
5.10 Lock
You can lock the control panel while cooking zones operate. It prevents an accidental change of the heat setting.
Set the heat setting first.
To activate the function: touch.
comes on for 4 seconds. The Timer stays on.
To deactivate the function: touch
. The previous heat setting comes on. When you deactivate the hob, you also deactivate this function.
5.11 Child Safety Device
This function prevents an accidental operation of the hob.
To activate the function: activate the hob with
. Do not set the heat setting. Touch
comes on. Deactivate the hob for 4 seconds
.
To deactivate the function: activate the hob with
. Do not set the heat setting. Touch for 4 seconds. 0 comes on. Deactivate the hob with.
To override the function for only one cooking time: activate the hob with
. L comes on. Touch for 4 seconds.
Set the heat setting in 10 seconds.
You can operate the hob. When you deactivate the hob
the function operates again.
5.12 OffSound Control
(Deactivating and activating the sounds)
Deactivate the hob. Touch
for 3 seconds. The display comes on and goes out. Touch
for 3 seconds.
or
comes on. Touch+ of the timer to choose one of the following:
– the sounds are off
– the sounds are on
To confirm your selection wait until the hob deactivates automatically.
When the function is set to
you can hear the sounds only when:
- you touch
- Minute Minder comes down
- Count Down Timer comes down
- you put something on the control panel.
5.13 Power management
- Cooking zones are grouped according to the location and number of the phases in the hob. See the illustration.
- Each phase has a maximum electricity loading of 3700 W.
- The function divides the power between cooking zones connected to the same phase.
- The function activates when the total electricity loading of the cooking zones connected to a single-phase exceeds 3700 W.
- The function decreases the power to the other cooking zones connected to the same phase.
- The heat setting display of the reduced zones alternates between the chosen heat setting and the reduced heat setting. After some time the heat setting display of the reduced zones stays on the reduced heat setting.

HINTS AND TIPS
WARNING!
Refer to Safety chapters.
6.1 Cookware
For induction cooking zones a strong electro-magnetic field creates the heat in the cookware very quickly.
Use the induction cooking zones with correct cookware.
Cookware material
- correct: cast iron, steel, enameled steel, stainless steel, the bottom made of multi-layer (with correct mark from a manufacturer).
- not correct: aluminum, copper, brass, glass, ceramic, porcelain.
Cookware is correct for an induction hob if:
- some water boils very quickly on a zone set to the highest heat setting.
- a magnet pulls onto the bottom of the cookware.
The bottom of the cookware must be as thick and flat as possible.
Cookware dimensions
Induction cooking zones adapt to the dimension of the bottom of the cookware automatically to some limit.
The cooking zone efficiency is related to the diameter of the cookware. The cookware with a smaller diameter than the minimum receives only a part of the power generated by the cooking zone.
Refer to the “Technical information” chapter.
6.2 The noises during operation
If you can hear:
- crack noise: cookware is made of different materials (sandwich construction).
- whistle sound: you use the cooking zone with high power level and the cookware is made of different materials (sandwich construction).
- humming: you use high power level.
- clicking: electric switching occurs.
- hissing, buzzing: the fan operates.
The noises are normal and do not refer to hob malfunction.
6.3 Öko Timer (Eco Timer)
To save energy, the heater of the cooking zone deactivates before the count-down timer sounds. The difference in the operation time depends on the heat setting level and the length of the cooking operation.
6.4 Examples of cooking applications
The correlation between the heat setting of a zone and its consumption of power is not linear. When you increase the heat setting, it is not proportional to the increase in the consumption of power. It means that a cooking zone with a medium heat setting uses less than half of its power.
The data in the table is for guidance only.
| Heat setting | Use to: | Time (min) | Hints |
| – 1 | Keep cooked food warm. | as necessary | Put a lid on the cookware. |
| 1 – 3 | Hollandaise sauce, melt: butter, chocolate, gelatine. | 5 – 25 | Mix from time to time. |
| 1 – 3 | Solidify fluffy omelets, baked eggs. | 10 – 40 | Cook with a lid on. |
| 3 – 5 | Simmer rice and milk based dishes, heat up ready-cooked meals. | 25 – 50 | Add at least twice as much liquid as rice, mix milk dishes halfway through the procedure. |
| 5 – 7 | Steam vegetables, fish, meat. | 20 – 45 | Add a couple of tablespoons of liquid. |
| 7 – 9 | Steam potatoes. | 20 – 60 | Use max. ¼ l of water for 750 g of potatoes. |
| 7 – 9 | Cook larger quantities of food, stews and soups. | 60 – 150 | Up to 3 l of liquid plus ingredients. |
| 9 – 12 | Gentle fry: escalope, veal cor‐don bleu, cutlets, rissoles, sausages, liver, roux, eggs, pancakes, doughnuts. | as necessary | Turn halfway through. |
| 12 – 13 | Heavy fry, hash crowns, loin steaks, steaks. | 5 – 15 | Turn halfway through. |
| 14 | Boil water, cook pasta, sear meat (goulash, pot roast), deep-fry chips. | ||
| P | Boil large quantities of water. Power Boost is activated. | ||
CARE AND CLEANING
WARNING!
Refer to Safety chapters.
7.1 General information
- Clean the hob after each use.
- Always use cookware with clean bottom.
- Scratches or dark stains on the surface have no effect on how the hob operates.
- Use a special cleaner applicable for the surface of the hob.
- Use a special scraper for the glass.
7.2 Cleaning the hob
- Remove immediately: melted plastic, plastic foil, sugar, and food with sugar. If not, the dirt can cause damage to the hob. Take care to avoid burns. Put the special scraper on the glass surface at an acute angle and move the blade on the surface.
- Remove when the hob is sufficiently cool: limescale rings, water rings, fat stains, shiny metallic discoloration. Clean the hob with a moist cloth and non-abrasive detergent. After cleaning, wipe the hob dry with a soft cloth.
- Remove shiny metallic discoloration: use a solution of water with vinegar and clean the glass surface with a moist cloth.
TROUBLESHOOTING
WARNING!
Refer to Safety chapters.
8.1 What to do if…
| Problem | Possible cause | Remedy |
| You cannot activate or operate the hob. | The hob is not connected to an electrical supply or it is connected incorrectly. | Check if the hob is correctly connected to the electrical supply. Refer to the connection diagram. |
| The fuse is blown. | Make sure that the fuse is the cause of the malfunction. If the fuse is blown again and again, contact a qualified electrician. | |
| You do not set the heat setting for 10 seconds. | Activate the hob again and set the heat setting in less than 10 seconds. | |
| You touched 2 or more sensor fields at the same time. | Touch only one sensor field. | |
| There is water or fat stains on the control panel. | Clean the control panel. | |
| An acoustic signal sounds and the hob deactivates. An acoustic signal sounds when the hob is deactivated. | You put something on one or more sensor fields. | Remove the object from the sensor fields. |
| The hob deactivates. | You put something on the sensor field | Remove the object from the sensor field. |
| The residual heat indicator does not come on. | The zone is not hot because it operated only for a short time or the sensor is damaged. | If the zone operated sufficiently long to be hot, speak to an Authorised Service Centre. |
| Automatic Heat Up does not operate. | The zone is hot. | Let the zone become sufficiently cool. |
| The highest heat setting is set. | The highest heat setting has the same power as the function. | |
| The heat setting changes between two levels. | Power management operates. | Refer to “Daily use”. |
| The sensor fields become hot. | The cookware is too large or you put it too near to the controls. | Put large cookware on the rear zones if possible. |
| There is no sound when you touch the panel sensor fields. | The sounds are deactivated. | Activate the sounds. Refer to “Daily use”. |
| L comes on. | Child Safety Device or Lock operates. | Refer to “Daily use”. |
| There is no cookware on the zone. | Put cookware on the zone. | |
| The cookware is unsuitable. | Use suitable cookware. Refer to “Hints and tips”. | |
| The diameter of the bottom of the cookware is too small for the zone. Use cookware with correct dimensions. Refer to “Technical data”. | Use cookware with correct dimensions. Refer to “Technical data”. | |
| E and a number come on. | There is an error in the hob. | Deactivate the hob and activate it again after 30 seconds. If comes on again, disconnect the hob from the electrical supply. After 30 seconds, connect the hob again. If E the problem continues, speak to an Authorised Service Centre. |
| You can hear a constant beep noise. | The electrical connection is incorrect. | Disconnect the hob from the electrical supply. Ask a qualified electrician to check the installation. |
8.2 If you cannot find a solution…
If you cannot find a solution to the problem yourself, contact your dealer or an Authorised Service Centre. Give the data from the rating plate. Give also a three-digit letter code for the glass-ceramic (it is in the corner of the glass surface) and an error message that comes on. Make sure, you operated the hob correctly. If not the servicing by a service technician or dealer will not be free of charge, also during the warranty period. The instructions about the Service Centre and conditions of the guarantee are in the guarantee booklet.
TECHNICAL DATA
9.1 Rating plate
Model IKE64450IB
Typ 61 B4A 04 AA
Induction 7.35 kW
Ser.Nr. ……………..
AEG
PNC 949 597 269 00
220 – 240 V / 400 V 2N 50 – 60 Hz
Made in Germany
7.35 kW
9.2 Cooking zones specification
| Left front | 2300 | 3200 | 10 | 125 – 180 |
| Left rear | 2300 | 3200 | 10 | 125 – 180 |
| Right front | 2300 | 3200 | 10 | 125 – 180 |
| Right rear | 2300 | 3200 | 10 | 125 – 180 |
The power of the cooking zones can be different in some small range from the data in the table. It changes with the material and dimensions of the cookware.
For optimal cooking results use cookware not larger than the diameter in the table.
ENERGY EFFICIENCY
10.1 Product information according to EU 66/2014
| Model identification | IKE64450IB |
| Type of hob | Built-In Hob |
| Number of cooking areas | 2 |
| Heating technology | Induction |
| Lenght (L) and width (W) of the cooking area Left | L 39.2 cm W 22.0 cm |
| Lenght (L) and width (W) of the cooking area Right | L 39.2 cm W 22.0 cm |
| Energy consumption of the cooking area (EC electric cooking) Left | 183.9 Wh / kg |
| Energy consumption of the cooking area (EC electric cooking) Right | 183.9 Wh / kg |
| Energy consumption of the hob (EC electric hob) | 183.9 Wh / kg |
EN 60350-2 – Household electric cooking appliances – Part 2: Hobs – Methods for measuring performance
10.2 Energy saving
You can save energy during everyday cooking if you follow the below hints.
- When you heat up water, use only the amount you need.
- If it is possible, always put the lids on the cookware.
- Before you activate the cooking zone put the cookware on it.
- Put the smaller cookware on the smaller cooking zones.
- Put the cookware directly in the center of the cooking zone.
- Use the residual heat to keep the food warm or to melt it.
ENVIRONMENTAL CONCERNS
Recycle materials with the symbol
.
Put the packaging in relevant containers to recycle it. Help protect the environment and human health by recycling waste of electrical and electronic appliances. Do not dispose of appliances marked with the symbol with the household waste. Return the product to your local recycling facility or contact your municipal office.


www.aeg.com/shop
867333521-D-092021



















