Innovative KK21 Bugs7 drone

Product Profile
This section mainly introduces functions and installation guidelines of 87 and lists the components of the aircraft and remote controller.
Introduction
- The Bugs 7 aircraft is equipped with optical flow and GPS system. It can hover and fly stably indoor and outdoor.
It has automatic return home function and other easy-to-use intelligent flight functions , such as orbit flight, follow-me and waypoint flight. Bugs 7 can shoot 4K HD videos. - The transmitter is equipped with a complete set of function keys, it can realize various operations and settings of the aircraft and camera. Not only can display real-time HD pictures on the mobile device through the APP, but also display information such as flight parameters on the device screen. The folding transmitter improves users’ operation experience. The pull-out stand is easy to carry and for storage. What’s more, the gimbal can adjust manually the camera shooting angle before flying.
- The maximum flight speed of Bugs 7 is 32km/h.
Prepare Your B7
Unfold the aircraft
The Aircraft is folded inside the package. Follow the steps as below to unfold the aircraft.
Step 1: Unfold the front arms (Pie. 1 );
Step 2: Repeat again to unfold rear arms (Pie. 2).
Battery installation
Insert the fully charged battery into the aircraft battery box (see as the picture), ensure the battery install correctly.
![]() | Attention: The battery should be installed firmly, failure to do so may affect the flight safety of your aircraft. The aircraft may crash due to power-cut during the flight. |
Prepare the Remote Controller
Install the battery of remote controller
Step 1: Unfold the hand sticks and open the battery door (Pie. 1 );
Step 2: Install 2*AA batteries into the battery compartment according to the given polarity (Pie. 2);
Step 3: Close the battery compartment (Pie. 3),
![]() |
|
Major Parts & Functional Switch

[1] Power switch
[2] Drone’s status indicator light
[3] Propeller
[4] Battery
[5] Camera

[6] Bottom lights
[7] Optical flow camera

[1] PhotoNideo
[2] Left stick
[3] Unlock/Lock
[4] One-key RTH
[5] Right stick
[6] Power switch
[7] LCD display
[8] One-key takeoff/
One-key landing
[9] Short- press for the optical flow switch Long- press for the fast-slow speed switch.
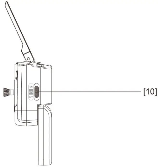
[1 O] GPS Switch
Aircraft
This section introd1Uces functions and features of the 87.
Flight Modes
The following flight modes are available in Bugs 7.
GPS mode:
- When the aircraft is in GPS mode, it can receive the GPS signal to realize accurate hovering.
- If the GPS signal is weak, the aircraft will enter into altitude-hold or optical flow position mode.
(For specific situation, please refer to APP status bar) - Please make the aircraft land ASAP when the GPS signal is poor lest any accidents.
- By the way, please note do not fly the aircraft in any weak GPS signal place or narrow space place lest any flight accidents.
Optical flow positioning mode:
- If the aircraft does not receive GPS signal or GPS turned off and its altitude is within 3 meters, it automatically enters into the optical flow positioning mode. It utilizes the optical flow positioning mode to hover stably.
- If the aircraft does not receive GPS signal or GPS turned off, what’s more its altitude is beyond 3 meters, it will enter into altitude-holding mode, cannot realize accurate hovering. In the situation, the user should be have some basic operations, recommended not to fly the aircraft.
Aircraft Status Indicator Lights

Aircraft status indicator
No. | Indicator status | Meanings |
1 | Indicator yellow light flash fast. | Aircraft 2.4GHz disconnected. |
2 | Indicator yellow green red light flash by turn. | Aircraft is in initialization detection status. |
3 | Indicator yellow light stays on. | No GPS signal, aircraft is in gesture mode. |
4 | Indicator green light stays on. | Good GPS signal, aircraft is preparing for GPS mode. |
5 | Indicator green light flash fast. | Aircraft is in gyroscope calibration status. |
6 | Indicator yellow light flash. | Aircraft is in compass horizontal calibration. |
7 | Indicator green light flash. | Aircraft is in compass vertical calibration. |
8 | Indicator red light flash slow. | Aircraft is nearly low voltage, 1/6 battery level left. |
9 | Indicator red light flash fast. | Aircraft is in low voltage, only 1/8 voltage left. |
10 | Indicator red light flash one time then stop for 1.5 seconds. | Something wrong with the gyroscope. |
11 | Indicator red light flash twice then stop 1.5 for seconds. | Something wrong with the barometer. |
12 | Indicator red light flash three times then stop for 1.5 seconds. | Something wrong with the compass. |
13 | Indicator red light flash four times then stop for 1.5 seconds. | Something wrong with the GPS module. |
14 | Indicator red light flash six times then stop for 1.5 seconds. | Something wrong with the vision positioning module. |
Return to Home (RTH)
The Return-to-Home (RTH) function brings the aircraft back to the last recorded Home Point.
There are 3 types of RTH: smart RTH , low battery RTH and failsafe RTH. This section describes these 3 scenarios in detail
![]() | GPS | Description |
| Home Point | ![]() | If a strong GPS signal (satellites over 7) was acquired before takeoff, the Home Point is the location from which the aircraft launched. The GPS signal strength is indicated by the GPS icon( |
![]() |
|
Aircraft status indicator
When the GPS signal is available (more than 7 satellites is presented), use the RTH button ~ on the remote controller (Pie. 1) or tap the RTH button in the “M RC PRO” APP (Pie. 2) and then follow the on-screen instructions to initiate Smart RTH. During the smart RTH , you can use the remote controller to guide the aircraft around obstacles.
You can press the RTH button again to exit RTH procedure and regain control
of the aircraft.
Low battery RTH
The low battery level failsafe is triggered when the intelligent battery is depleted to a point that may affect the safe return of the aircraft. Users are advised to return home or land the aircraft immediately when prompted.
- If the rear indicator light flash slow, the battery icon in transmitter LCD screen is “
“, with transmitter has “DIDI” sound. As only the aircraft is beyond 30 meters altitude or 100 meters distance, the aircraft will return home automatically. As long as the aircraft is in 100 meters distance, the user can cancel the return via “
” button. - When the aircraft rear lights flash slowly, battery icon “
” is shown on the remote controller or on the “M RC PRO” APP. And steady “beep … beep … beep” sound is heard. At this moment, the aircraft will automatically return to the Home Point if the flying altitude is beyond 15 meters or the flying distance against the home point is beyond 15 meters. If the aircraft flying altitude is less than 15 meters or the flying distance is less than 15 meters, the aircraft will automatically land to the ground.
![]() | Attention: When the aircraft is automatically return home with Low Battery RTH function activated , you can not cancel the RTH procedure by pressing the RTH button to regain control of the aircraft. |
Out of connection return home function
The GPS signal is good (the No. of GPS satellites is more than 7), the compass is working and the home point has been recorded successfully, if the control signal continuously interrupted for longer than 6 seconds and APP control turning off, the flight control system will take over the transmitter control , controlling the aircraft to fly return home point.
If the control signal is restored during returning home, the returning home flight will continue unless the user cancel it by transmitter’s return home button and get back the aircraft’s control right.
Vision System
The optical flow system consists of optical flow lens modules. The optical flow system is an image positioning system, obtaining the aircraft’s position through the optical image thereby ensuring the the accurate positioning and safe flight.

Vision Positioning System function
The Vision Positioning System is typically used in indoor environment when GPS is weak or unavailable. It works best when the aircraft altitude is less than 3 meters.
![]() | The measuring precision of optical flow system will be affected easily by the light strength and the features of object surface texture. Once the optical flow is unavailable, the aircraft will enter to altitude-holding mode automatically. Please be cautious in as following situations:
|
- Keep sensors clean at all times.
- The vision system is only effective when the aircraft is within the altitude range of 3 meters.
- Make sure that the light is bright enough and the surfaces is with clear textures so that the vision system can acquire the movement information through recognizing the ground textures.
- The vision system may not function properly when the aircraft is flying over water, low light ground and surfaces without clear patterns or textures.
- If the light is dim, please turn on the optical flow supplement light.
Aircraft Power Switch
Short-press the aircraft’s power button, it will turn on , in the same time, the aircraft will have power-on sound and indicator light stays on. Long-press the power button for 3 seconds, the aircraft will turn off and indicator light will turn off too.
Aircraft Battery
- Made by high-energy battery cells ;
- Standard battery capacity is 7.6V 1500mAh.

Charge the aircraft battery
- Please charge the battery fully before using it.
- Be sure you use the officially supplied USS charging cable to charge.
- The charging time is about 2.5 hours.
*This aircraft charging data is based on 5V 2A power adaptor. Different types power adaptor and power device will affect the charging time. It is recommended that 5V 2-2.1A adaptor be used for charging.
![]() |
|
Attach and Detach the Propellers
Blade assemble and disassemble
- Attach propeller A:
Put the propeller with marking ‘A’ into the clockwise rotating motor shaft (the side marked A should be upwards). Then, put the silicone rubber ring into the center bore of the propeller. Last, choose the propeller screw with dot and put it onto the motor shaft; tighten the screws by counter clockwise. - Attach propeller B:
Put the propeller with marking ‘B’ into the counter-clockwise rotating motor shaft (the side marked B should be upwards).
Then, put the silicone rubber ring into the center bore of the propeller. Last, choose the propeller screw without dot and put it onto the motor shaft; tighten the screw by clockwise. - Detach the propellers:
Hold the aircraft brushless motor and unscrew the screw without dot by counter-clockwise (screw with dot should be rotated by clockwise) to take apart the propeller.
![]() | Attention: Please install all fittings step by step as below pictures. Keep in mind that the propellers are distinguished by A & B mark and propellers screws are distinguished by dot mark. please pay attention to your rotation direction. |

![]() |
|
Remote Controller
This section describes the features of the remote controller, including the instruction on controlling the 87.
Remote Controller Functions and Status
Flight mode switch
Choose the flight mode by switching the GPS button to ON/OFF position.
The on-working flight mode “
” is shown on the LCD display.
LCD Screen display

Adjust the gimbal camera angle manually
By rotating the aircraft’s camera manually, the shooting angle of gimbal camera will be adjusted. Please adjust the angle according to the using situation.

PhotoNideo
Short-press the button indicated as below, the camera icon ”
” on the LCD screen flashes once, the camera takes one photo;
Long-press the same button, the video icon ”
” on the LCD screen flashes slowly, the camera is taking video.
Long-press again will exit shooting.






















