Flashbay Electronics BEE2201 Drone

OVERVIEW

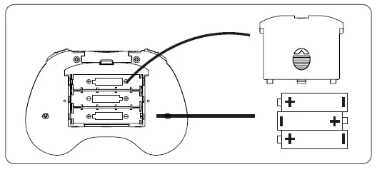
FLIGHT PREPARATION
- Install the remote batteries.
-Make sure the batteries have enough power.
-3*1.5V AAA (batteries not included) - Charge the battery of the Drone.
- Install the Drone battery after it’s fully charged.

Tips:
- For your safety, please use the original battery and USB cable.
- Flight time of the battery may be reduced when flying in cold weather.
- To avoid risks of explosion, ensure the battery isn’t exposed to any sharp objects.
- The LED on the Drone will flash continuously when the battery is low.
- Recharge the battery at least once every three months to improve the battery lifespan.
FLIGHT OPERATION GUIDE

- Turn on the drone (The LED light on the Drone flashes rapidly)
- Turn on the controller
- Place the Drone on flat surface with the head pointing forward.

- Push the Left Control Stick to the top and then pull it backwards to the bottom to pair with the drone. A solid LED will appear on the drone when pairing is successful.
Note: Please repeat step 5 before every flight. - To calibrate the controls move the left and right sticks inward and downward for 3 seconds, as shown in the image. The LED on the remote will flash quickly and then turn solid once calibration is successful.
Remote Instructions
Left Control Stick 
Right Control Stick 
Take off
Option 1: Press the
button to take off.
Option 2: Move the Left Control Stick to lower left position at 45° angle and the Right Control Stick to lower right position at 45° angle at the same time until the four rotor blades start rotating, then slowly push the Left Control Stick forward to take off.
Landing
Option 1: Press the
button to land.
Option 2: Pull the Left Control Stick backwards to the bottom to land the Drone, and hold it for at least 3seconds until the rotor blades stop rotating.
Flight Trimming

Altitude Hold / Hover
The Drone will hover at the current flight height when you release the Left Control Stick after ascending or descending.
360° Flip
The Drone can perform a 360 ° flip once it reaches a height of 2 meters or more. Press 360 ° flip button to initiate and then move the Right Control Stick forwards, backwards, left or right to flip the Drone accordingly.
Headless Mode
With Headless Mode, the Drone remembers the orientation of the drone when you take off. When you press left on your controls the drone will go left. Likewise for right, regardless of which way the drone is facing.
- To ensure headless mode works well, please ensure correct take-off position as the below picture shows.
- Long press the right upper button to active headless mode. You will hear 2 beeps that indicates headless mode is activated. In this mode, the Drone will fly following the direction of the Right Control Stick regardless of the position of your drone’s head or the tail. The LED on the Drone will flash during headless mode. Long press the same button again to cancel headless mode.

One Key Reverse
One key reverse allows you to quickly reverse the Drone with one press of a button.
- While the Drone is in flight, long press the reverse button on the remote control, the controller will beep once and the Drone will fly in reverse.
- Push the right control stick to any direction for cancelling this function.
Speed Switch
The Drone is set to low speed by default. You can increase the speed to medium pace by pressing the upper-left button. Two beeps will sound from the remote to indicate a successful speed change. Press the same button again to revert to low speed. A single beep will sound from the remote to indicate a successful speed change.
Sensing Function
If the Drone is flying at a height that you can reach with your hand, you can also control the drone via the sensing function.
Obstacle avoidance
The Drone features 4 sensing points. During flight, these sensing points will sense an obstacle to help avoid unwanted crashes.
RESET
When the Drone is turned on, quick press the power button 3 times on the drone to initiate a reset. The LED on the drone will flash quickly and then slowly to indicate a successful reset.
DISCLAIMER AND SAFETY GUIDELINES
- DO NOT look directly into the drone light.
- DO NOT treat the product as household waste.
- DO NOT fly above or near obstacles, crowds, open water, public road, high voltage power lines or trees.
- DO NOT use the drone in severe weather conditions. These include wind, snow, rain, smog, hail, lightning, tornadoes or hurricanes.
- Stay away from the rotating propellers and motors to avoid some tiny objects (e.g. hair) to get into them.
- This drone does not come with GPS module. Please fly the drone within the control range.
- Be sure to observe all local regulations, obtain appropriate authorizations and understand risks. Please note it is solely your responsibility to comply with all flight regulations.
MAINTENANCE AND CARE
- Thoroughly check the drone after crash or violent impact.
- Do not charge battery before it cools down.
- Remove the batteries if the product will not be in use for a long time.
- Do not over charge the battery. Unplug the charger once it’s fully charged.
- Store the drone and remote in a cool, dry place away from direct sunlight.
- Do not charge the battery next to inflammables, such as carpet, timber floor etc., or on the surface of electro-conductive objects. Please always keep an eye on the battery while charging.
- Please use the original battery provided. Use an incorrect type of battery may lead to fire hazards.
- Do not dispose of the battery in fire or a hot oven, cut or mechanically crush the battery, as this may cause explosions.
- Do not leave the battery in an extremely high-temperature environment that can result in an explosion or the leakage of flammable liquid or gas.
- Do not expose the battery to the extremely low air pressure, as this may result in an explosion or the leakage of flammable liquid or gas.
ISED Compliance Statements
This device contains licence-exempt transmitter(s)/receiver(s) that comply with Innovation, Science and Economic Development Canada’s licence-exempt RSS(s). Operation is subject to the following two conditions:
- This device may not cause interference.
- This device must accept any interference, including interference that may cause undesired operation of the device.
This equipment complies with IC RSS-102 radiation exposure limits set forth for an uncontrolled environment.
FCC Compliance Statements
This device complies with Part 15 of the FCC Rules. Operation is subject to the following two conditions: (1) this device may not cause harmful interference, and (2) this device must accept any interference received, including interference that may cause undesired operation.
Changes or modifications not expressly approved by the party responsible for compliance could void the user’s authority to operate the equipment. This equipment complies with FCC radiation exposure limits set forth for an uncontrolled environment. This equipment has been tested and found to comply with the limits for a Class B digital device, pursuant to Part 15 of the FCC Rules. These limits are designed to provide reasonable protection against harmful interference in a residential installation. This equipment generates, uses and can radiate radio frequency energy and, if not installed and used in accordance with the instructions, may cause harmful interference to radio communications. However, there is no guarantee that interference will not occur in a particular installation.
If this equipment does cause harmful interference to radio or television reception, which can be determined by turning the equipment off and on, the user is encouraged to try to correct the interference by one or more of the following measures:
- Reorient or relocate the receiving antenna.
- Increase the separation between the equipment and receiver.
- Connect the equipment into an outlet on a circuit different from that to which the receiver is connected.
- Consult the dealer or an experienced radio/TV technician for help.
FCC ID: 2ALRV-BEE2201
IC: 22713-BEE2201
HVIN: BEE2201
Please remove the batteries safely with appropriate tools when disposing of the drone or batteries. Please use designated collection or recycling facilities.

-Make sure the batteries have enough power.


















