EX3
User Manual

Product Profile
This section mainly introduces functions and installation guidelines of EX3 and lists the components of the aircraft and remote controller.

Introduction
- Equipped with Vision System and GPS System, your EX3 can precisely position, hover and automatically return. It is also capable of flying in the intelligent flight modes like Point of Interest, Follow Me and Waypoint Flight. Features a single-axis gimbal, your EX3 can shoot 2K, 2-megapixel photos and adjust camera angle 90 degrees in flight.
- The aircraft and camera can easily be controlled using the onboard buttons. Real-time images and aircraft data information can be shown on the “X-DRONE” APP. Foldable hand sticks and pull-out holder design make the remote controller easier to operate and carry.
- Maximum flight speed is 40km/h and maximum flight time is 22 minutes.
Prepare Your EX3
Unfold the aircraft
The Aircraft is folded inside the package. Follow the steps as below to unfold the aircraft.
Step 1: Unfold the rear arms (Pic. 1).
Step2: Repeat again to unfold front arms (Pic. 2).

Battery installation
Slide the battery into the battery compartment at the rear of the aircraft by pushing with appropriate force. Make sure that you hear a click sound indicating the battery is firmly installed.
Attention: The battery should be installed firmly, failure to do so may affect the flight safety of your aircraft. The aircraft may crash due to power cut during the flight.
Prepare the Remote Controller
Install the battery of remote controller
Step 1: Unfold the hand sticks and open the battery door (Pic. 1);
Step 2: Install 2*AA batteries into the battery compartment according to the given polarity (Pic. 2);
Step 3: Close the battery compartment (Pic. 3).

![]()
- Insert batteries with correct polarity.
- Non rechargeable batteries are not to be charged; the transmitter need 2*AA batteries for work.
- Do not mix old and new batteries.
- Do not mix alkaline, standard (carbon-zinc), or rechargeable (nickel-cadmium) batteries
- Rechargeable batteries are to be removed from the aircraft before being charged.
- Rechargeable batteries are only to be charged under adult supervision.
- Exhausted batteries are to be removed from the aircraft.
- The supply terminals are not to be short-circuited.
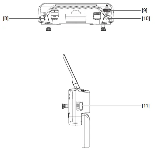
Major Parts & Functional Switch

[1] Power switch
[2] Brushless motor
[3] Undercarriage
[4] Propeller
[5] Camera
[6] Ultrasonic sensor
[7] Lights
[8] Vision positioning lens
[9] Battery

[1] Photo/Video
[2] Left stick
[3] One-key unlock
[4] One-key RTH
[5] Right stick
[6] Power switch
[7] LCD display

[8] One-key takeoff/ one-key landing
[9] Gimbal trimmer
[10] High/Low speed switch(short-press); Light switch (long-press)[11] Gesture/GPS mode switch
Aircraft
This section introduces functions and features of the EX3.

Flight Modes
Your EX3 has two flights modes:
GPS mode: ON
Slide the button up at the right side to position “ON” (Pic.1), the aircraft is in GPS mode and can precisely position and hover by the assistance of the GPS module. When GPS signal is weak or the aircraft’s compass is interfered, the aircraft will automatically enter into Gesture Mode.
Gesture mode: OFF
Slide the button down to “OFF” (Pic.2), the aircraft is in Gesture mode that GPS is not used for positioning, and the aircraft only uses the barometer to maintain altitude. The aircraft will not fly with precise positioning and hovering. Gesture mode requests pilot with good skill.
In Gesture Mode, the aircraft cannot position itself or brake automatically, which increases the risk of potential flight hazards. The aircraft will be also more easily affected by its surroundings.
Environmental factors such as wind can result in horizontal shifting, which may present hazards,

Aircraft Status Indicator Lights

Aircraft status indicator
No. | Indicator status | Meanings |
1 | Front and rear lights flash yellow rapidly. | Aircraft 2.4GHz disconnected. |
2 | Front and rear lights flash red, green and yellow alternatively. | Aircraft is in initialization detection status. |
3 | Front lights glow solid red, rear lights glow solid green. | No GPS signal, aircraft is in gesture mode. |
4 | Front light glows solid red, rear light glows solid green. | Good GPS signal, aircraft is preparing for GPS mode. |
5 | Front and rear lights flash green rapidly. | Aircraft is in gyroscope calibration status. |
6 | Front and rear lights flash yellow alternatively. | Aircraft is in compass horizontal calibration. |
7 | Front and rear lights flash green alternatively. | Aircraft is in compass vertical calibration. |
8 | Front light glows solid red, rear light flashes red slowly. | Aircraft is nearly low voltage, 1/4 battery level left. |
9 | Front light glows solid red, rear light flashes red rapidly. | Aircraft is in low voltage, only 1/6 voltage left. |
No. | Indicator status | Meanings |
10 | Front and rear lights flash once, stop for 1.5 second. | Something wrong with the gyroscope. |
11 | Front and rear lights flash twice, stop for 1.5 second. | Something wrong with the barometer. |
12 | Front and rear lights flash three times, stop for 1.5 second. | Something wrong with the compass. |
13 | Front and rear lights flash four times, stop for 1.5 second. | Something wrong with the GPS module. |
14 | Front and rear lights flash five times, stop for 1.5 second. | Something wrong with the ultrasonic module. |
15 | Front and rear lights flash six times, stop for 1.5 second. | Something wrong with the vision positioning module. |
Return to Home (RTH)
The Return-to-Home(RTH) function brings the aircraft back to the last recorded Home Point. There are 3 types of RTH: smart RTH, low battery RTH and failsafe RTH. This section describes these 3 scenarios in detail.
| GPS | Description | |
| Home Point | If a strong GPS signal (satellites over 7) was acquired before takeoff, the Home Point is the location from which the aircraft launched. The GPS signal strength is indicated by the GPS icon( /^ 7). The aircraft rear indicator lights will blink rapidly from yellow color to green color when the home point is recorded. |
![]()
- Aircraft can not avoid obstacles when it is flying back with the RTH function! initiated.
- Aircraft can not return to the Home Point when the GPS signal is weak or unavailable.
- Aircraft will stop ascending and immediately return to the Home Point if user moves the throttle stick in the aircraft reaches 15 meters altitudes or beyond during Smart RTH.
- If there is no GPS signal and the remote controller signal lost for more than 6 seconds, the aircraft can not Return-to-Home but descend slowly until land to the ground and lock the aircraft.
Smart RTH
Use the RTH
button on the remote controller or tap the RTH button in the “X-DRONE” APP and follow the on-screen instructions when GPS(more than 7 satellites is presented) is available to initiate Smart RTH. During the smart RTH, you can use the remote controller to guide the aircraft around obstacles. You can press the RTH button again to exit RTH procedure and regain control of the aircraft.

Low Battery RTH
The low battery level failsafe is triggered when the Eachine intelligent battery is depleted to a point that may affect the safe return of the aircraft. Users are advised to return home or land the aircraft immediately when prompted.
- When the aircraft rear lights flash slowly, battery icon “
” is shown on the remote controller or on the “X-DRONE” APP. And steady “beep beep beep… beep beep beep” sound is heard. At this moment, the aircraft will automatically return to the Home Point if the flying altitude is beyond 100 meters or the flying distance against the home point is beyond 300 meters.
- When the aircraft rear lights flash slowly, battery icon “
” is shown on the remote controller or on the “X-DRONE” APP. And steady “beep..beep…beep” sound is heard. At this moment, the aircraft will automatically return to the Home Point if the flying altitude is beyond 15 meters or the flying distance against the home point is beyond 15 meters. If the aircraft flying altitude is less than 15 meters or the flying distance is less than 15 meters, the aircraft will automatically land to the ground.
Attention: When the aircraft automatically return home with Low Battery RTH function activated, you can not cancel the RTH procedure by pressing the RTH button to regain control of the aircraft.
Failsafe RTH
If the Home Point was successfully recorded and the compass is functioning normally, Failsafe RTH will be automatically activated if the remote controller signal is lost beyond 6 seconds. Return-to-Home can be cancelled by the pilot, allowing them to regain control when the remote controller signal connection is re-established.
Vision System
Made up by camera ①, camera ② and ultrasonic sensor ③, the Vision System locates at front bottom of your EX3. It is a positioning system that is combined by image sensor and ultrasonic sensor. Your EX3 acquires its location and perceives obstacles through using the camera sensor to detect the ground texture and visible features. Meanwhile, assisted by the ultrasonic sensor, your EX3 could determine the altitude where it stays, which could better insure the fly safety and gain precise positioning.

Detection range
Detection range of Vision System indicates as below. Your EX3’s detection function will be not so effective that it could not avoid the obstacles that is out of its detection range. You have to be careful once you fly when your EX3 is not flying within its detection range.

Positioning System function
The Positioning System is typically used in indoor environment when GPS is weak or unavailable. It works best when the aircraft altitude is less than 10 meters.

The precision of the vision system is easily affected by the light strength and features of the surface textures. It would happen that the ultrasonic sensor could work normally to detect the altitude when it is flying over objects that is made by sound-absorbing materials. Once the image sensor and ultrasonic sensor are both not available, your aircraft will switch to Gesture mode automatically. Be cautious to operate the aircraft in the following situation:
- Fly fast at an altitude below 0.5m.
- Fly over monochrome surfaces (like pure black, pure red, pure red and pure green).
- Fly over strong light reflective surfaces or surfaces prone to reflection.
- Fly over water or transparent object surfaces.
- Fly over moving object surfaces (such as crowds, swaying juggles and glass).
- Fly over an area where light changes dramatically and rapidly.
- Fly over surfaces extremely dark (lux<10) or extremely bright (lux>10,000).
- Fly over material surfaces that is good at absorbing ultrasonic waves (like thick carpet).
- Fly over surfaces without clear textures.
- Fly over surfaces with highly repeating textures (small grid brick in the same color ).
- Fly over surfaces that are tilting over 30 degrees (could not receive the echo of the ultrasonic wave).
- Flying speed should be controlled not to be too fast. When the aircraft is 1 meter against the ground, the flying speed should not be over 5m/s; When the aircraft is 2 meter against the ground, the flying speed should not be over 14m/s.
- Keep sensors clean at all times.
- The vision system is only effective when the aircraft is within the altitude range of 10 meters.
- Make sure that the light is bright enough and the surfaces is with clear textures so that the vision system can acquire the movement information through recognizing the ground textures.
- The vision system may not function properly when the aircraft is flying over water, low light ground and surfaces without clear patterns or textures.
- Do not use other ultrasonic devices with a frequency of 40KHz when the vision system is in operation.
Attention: Keep animals away from the aircraft when the vision system is activated. The ultrasonic sensor emits high frequency sounds that are audible to some animals.
Aircraft Power Switch
Turn on the aircraft
Once battery is installed firmly, press on the power switch for 3 seconds, the aircraft makes beep sounds and the lights keep flashing.

Aircraft Battery
- Made by high-energy battery cells;
- Standard battery is 7.6V 3400mAh.

Charge the aircraft battery
- The aircraft needs to be full charged before every flight;
- Please use Eachine charging device for this aircraft;
- Full Charging time takes about 270 minutes.

![]()
- Need adult supervision when this aircraft is being played by children.
- Only batteries of the same or equivalent type as recommended are to be used.
- Insert batteries with correct polarity.
- Rechargeable batteries are to be removed from the aircraft before being charged.
- Rechargeable batteries are only to be charged under adult supervision.
- Exhausted batteries are to be removed from the aircraft.
- The supply terminals are not to be short-circuited.
- The charging line to be used with the product should be regularly examined for potential hazard, such as damage to the cable or cord, plug, enclosure of other parts and that in the event of such damage, the product must not be used until that damage had been properly removed.
Attach and Detach the Propellers
Attach the propellers
Install propeller A and propeller B on the corresponding motor shaft and fix the rotor propellers tightly by rotating clockwise. (A/B mark are at the bottom of the propeller.)

Detach the propellers
Take out the screws by rotating counter-clockwise and then remove the propellers.

![]()
- Please make sure that the clockwise and the counter-clockwise propellers are installed on the correct motors, because the aircraft will not fly normally for wrong propellers installation.
- Be aware of the sharp edges of the propellers. Handle with care.
- Use only the Eachine approved propellers. Do not mix propeller types.
- Stand clear of the motors and DO NOT touch the propellers when they are spinning.
- Check that the propellers and motors are installed correctly and firmly before every flight.
- Ensure that all propellers are in good condition before each flight. DO NOT use aged, chipped, or broken propellers.
- To avoid injury, STAND CLEAR of and DO NOT touch propellers or motors when they are spinning.
- ONLY use original Eachine propellers for a better and safer flight experience.
Remote Controller
This section describes the features of the remote controller, including the instruction on controlling the EX3.

Remote Controller Functions and Status
Flight mode switch
Choose the flight mode by switching the GPS button to ON/OFF position.

LCD Screen display
Return to Home

Aircraft status indicator
No. | Remote controller status | Description |
| 1 | Signal strength indicator changes circularly from weak to strong. | The remote controller is under signal connection status. |
| 2 | Indicator lights flash slowly with steady “beep beep… beep beep” sound and the battery legend “ | The remote controller is in low voltage status. Please change a full charged battery. |
| 3 | Battery legend “ | Battery is running out “ |
| 4 | Battery legend “ | Battery is low “ |
| 5 | Signal strength on LCD display is less than two grids or no displaying, with steady long beep sound. | 1. The distance between aircraft and remote controller is so long that the signal is weak. 2. The battery is removed after the aircraft connects to the remote controller. |
Gimbal trimmer
The camera angle can be adjusted within a 90-degree range by operating the gimbal trimmer to obtain a better aerial experience. When scroll up the gimbal trimmer(upward to the direction of “A”), the camera will tilt upward to the direction of A; when scroll down the gimbal trimmer(downward to direction of “B”), the camera will tilt downward to the direction of B.

Photo/Video
Short-press the button indicated as below and the camera icon “
” on the LCD screen flashes once, the camera takes one photo; Long-press the same button, the video icon “
” on the LCD screen flashes slowly, the camera is taking video. Long-press again will exit shooting.

Attention: When the aircraft is not inserted with TF card or the TF card is malfunction, photos and videos taking can not be done by pressing the button of the remote controller, but by the icon on the APP interface.
One-key takeoff/landing
- After the EX3 unlocked, short-press the “
” button (indicated as below), the aircraft will automatically take off and hover at 1.5m altitude. - When the aircraft is flying, short-press the “
” button (indicated as below), the aircraft will automatically land on the ground.

Smart RTH button
- Press the button
to start the RTH, the remote controller makes a beep sound and the aircraft will fly back to the recorded Home Point. - Press the RTH button again to exit RTH procedure and regain control of the aircraft.
- For more information about RTH, please turn to Return to Home section.

Low battery warning
- When the battery icon “
” is shown on the LCD screen or on the “X-DRONE” APP, and the aircraft front lights glow solid on and the rear lights keep flashing slowly, it means that the battery is nearly low voltage. - When the battery icon “
” is shown on the LCD screen or on the “X-DRONE” APP, and the aircraft front lights glow solid on and the rear lights keep flashing rapidly, it means that the battery is in low voltage.

Signal strength indicator
Signal strength “
” shows the strength of the received signal. The more, the better.

Optimal transmission zone
Throttle Control Stick Mode
Throttle mode switch

Mode 1: The right stick serves as the throttle.
Mode 2: The left stick serves as the throttle.
- The remote controller is set at Mode 2 by default.
How to change throttle mode
Step 1. Keep pressing the red button and turn on the remote controller, the remote controller is under signal connection status (Pic. 1);
Step 2. Keep pressing the RTH button “
” for 3 seconds to choose the throttle control mode (Pic. 2). The throttle control mode will change according to each press. The mode number is shown on the LCD screen. The throttle control mode is set at mode 2 by default.

Attention: To change the stick mode of the remote controller, please make sure that the remote controller is under signal connection status (the indicator light keep flashing). If not, the stick mode could not be changed.
Install the Mobile Phone Holder
- Pull out the mobile phone holder upwards completely (Pic. 1);
- Tilt the holder 30 degrees towards you and then you will hear a click sound (Pic. 2);
- Rotate and fix the support board in place (Pic. 3);
- Adjust the mobile phone holder upward or downward according to the size of your mobile phone (Pic. 4).

App Download & Installation
This section introduces how to download the “X-DRONE” APP and connect with mobile device to download the software.

FPV Real-time Image Transmission Software “X-DRONE”
Where to download “X-DRONE” APP
- For Apple IOS system, please turn to Apple store, search “X-DRONE” or scan the QR code as below to download the software.
- For Android system, please scan the “Google play” QR code or search “X-DRONE” in “Google play” to download the software.

https://itunes.apple.com/cn/app/x-drone/id1387421765?mt=8
https://play.google.com/store/apps/details?id=com.xdrone.app
How to link the “X-DRONE” to the camera
Power on the aircraft, then enter phone settings option. Turn on WiFi, find drone**** on the list and connect it. When “
” legend is shown, it means WiFi connecting is successful. Exit settings and tap “X-DRONE” APP at your mobile device, then select your aircraft model on the home page; click “GO” to enter into the real-time image transmission interface.


Photos and video saving feature
- If the camera is without TF card, videos and photos will be saved at the APP.
- If the camera is with TF card, videos and photos will be saved at the TF card.
- Videos and photos in the TF card can be downloaded to the APP.
Attention: Please make sure that your mobile device supports 5G WIFI before linking “X-DRONE” to your device.
Real-time image quality and FPV distance depend on your smart phone and flight environment. To obtain the best live view, please choose a wide-open area to fly in. As tested, the EX3 could transmit 2K videos up to 800 meters (0.6 mile) in Farther.Faster.Clearer an environment with no interference.x

Flight
This section introduces safe flight requirements and basic aircraft operations.

Flight Environment Requirements
- Please don’t fly in such bad weather conditions as high temperature, snow, strong wind (≥level 5), rain or fog.
- Always choose a wide open area for every flight. Tall structures and large metal structures may affect the accuracy of the onboard compass and GPS system.
- Well away from people and property. Never fly directly over people or animals.
- To minimize interference, please do not fly the aircraft in locations near power lines, base stations, electrical substations and broadcasting towers.
- Aircraft and battery performance is subject to environment factors like temperature. Be very careful when flying over 6KM above sea level since the performance will be affected.
- Your EX3 cannot use GPS within the polar regions.
Flight limits and GEO zones
Abide by all laws and regulations when flying your EX3. Flight limitations are applied by default to help users operate this product safely and legally. Flight limitations include altitude limits, distance limits and GEO Zones.
Altitude limits, distance limits and GEO Zones function concurrently to manage flight safety when operating in GPS Mode.
No-fly zone
All Flight Limits and GEO Zones are listed on Eachine official website www.mjxrc.net. The Zones are divided into different categories and include locations such as airport, flying fields where manned aircraft operate at low altitude, border between countries, and sensitive location such as power plants.
The aircraft will be banned or restricted in the no-fly zone. “X-DRONE” APP will send out the corresponding warning. Please pay attention to it at all times.
Pre-flight Checklist
- The aircraft, remote controller and mobile device are full charged;
- The propellers are installed correctly;
- The arms and propellers are unfolded;
- Ensure the camera lens are clean;
- Use only Eachine parts or parts certified by Eachine. Unauthorized parts or parts not from Eachine certified manufacturers may cause malfunction or safety issues.
Aircraft Operations
Signal connection between the aircraft and remote controller
- Keep pressing the red button “
” and turn on the remote controller (Pic. 1). The remote controller makes 2 beep sounds, and the indicator light “
” keeps flashing; the remote controller is under signal connection status. - Power on the aircraft (Pic. 2). The aircraft will make beep sounds with front and rear lights flashing and will automatically link to the remote controller. Once the remote controller sends out a long beep sound and the indicator light of the remote controller turns from flashing to solid on and the signal icon “
” is shown on the LCD screen, it means that signal connection is succeeded.
- Signal connection is done once for all if the remote controller is not linked to other aircraft.
- Set the connection one by one to avoid signal connection error.
Aircraft initialization detection
After signal connection, the aircraft enters into initialization detection procedure with front and rear lights flashing red, green and yellow alternatively. Make sure that the aircraft is set on a flat and still surface for the initialization detection. The aircraft initialization detection takes about 8 seconds. Once the remote controller sends out “Di Di” sounds and the aircraft front and rear lights flash yellow alternatively, initialization detection is completed.

Attention: Make sure that the aircraft is set on a flat and still surface for the initialization detection.
Aircraft compass calibration
- Compass calibration should be performed after successful aircraft initialization detection.
- Aircraft compass calibration should be done for every flight. That is to say, if changing new battery or the battery is reinstalled, compass calibration should be done again.
Two steps of compass calibration:
Step 1: Horizontal calibration
After successful aircraft initialization detection, the aircraft front and rear lights flash yellow alternatively. Hold the aircraft horizontally and rotate it 360 degrees along the central axis for about 3 circles. The aircraft front and rear light will change from flashing yellow alternatively to flashing green alternatively when horizontal calibration is completed.

Step 2: Vertical calibration
Hold the aircraft with camera facing up, and rotate it 360 degrees along the central axis for about 3 circles until the front and rear lights of the aircraft change from flashing to solid on, the compass calibration is successful.

Attention: To fly at GPS mode, please choose an open and wide space for the flight, and make sure that the satellite amount is over 7.
- Please do not calibrate the compass in strong magnetic area, such as magnetic field, parking place or construction areas with underground reinforcement.
- Please do not carry magnetic materials with you (such as keys, cell phones, etc) when calibrating compass.
- Please keep away from big metal when calibrating compass.
Gyroscope calibration
After the aircraft and the remote controller are banded, set the aircraft on flat ground and follow the indication photo as below to calibrate the gyro. Once the aircraft front lights turn from flashing to solid on, it means that the gyro calibration is succeeded.

![]()
- The gyroscope calibration has been done by factory default. Gyroscope calibration is no need to be performed unless the aircraft can not exit the aircraft initialization detection procedure while the aircraft initialization detection is finished.
- Please make sure to set the aircraft on horizontal surface when performing calibration, failure to do this will affect the flight.
How to lock and unlock the aircraft
- Unlock the aircraft Short-press the red button “
” . The motors rotate and the aircraft is unlocked. - Lock the aircraft There are 2 ways to lock the aircraft that you can find it as below:
Method 1: Long-press the red button “
” for 3 seconds, the motors will stop rotating immediately and the aircraft is locked.
Method 2: After the aircraft lands on the ground, pull down the throttle stick to the bottom position and keep for 3 seconds, the motors will stop rotating and the aircraft is locked.

Warm tips:Please do not lock the aircraft by pressing the “
” button directly during the flight, or the aircraft will be crashed.

Test Flight
Basic flight operation steps
- Place the aircraft in a wide open area that its front is your front.
- Turn on the aircraft and remote controller.
- Connect the remote controller with the aircraft and then proceed aircraft initialization detection.
- Connect the EX3 with your phone and enter into the image transmission interface.
- Unlock the aircraft after the gyro detection of the aircraft is completed.
- Pull up the throttle stick then the aircraft takes off, and control the aircraft flight by left/right stick.
- Pull down the throttle stick to land the aircraft.
- Pull down the throttle stick to the bottom position and keep for 3 seconds to lock the aircraft.
- Pull out the battery from the aircraft and then turn off the remote controller.
Video suggestion and tips
- Do pre-flight checklist;
- Choose appropriate gimbal shooting angle;
- Fly in a good weather with no wind;
- Perform test flights to establish flight routes and to preview scenes;
- Push the control stick gently to keep the aircraft movement smooth and stable.
Please bear proper operation and flight safety guidelines in mind as it is very important for all of us.
For more information, please turn to Appendix.
Appendix

Product Parameters
Aircraft | |
Gross Weight ( Battery and propellers included ) | EX3: about 640g |
Dimensions | Folded: 190*130*75mm(length*width*height) Unfolded: 450*450*75mm(length*width*height) |
Diagonal | 350 mm |
Max Ascent Speed | 3 m/s |
Max Descent Speed | 2 m/s |
Max Speed | 40 km/h |
Flight Height Limitation | 150 m |
Max Flight Time | 22 minutes (no wind ) |
Max Wind Speed Resistance | ≤Level 3 |
Max Tilt Angle | 35 ° |
Max Angular Velocity | 200 °/s |
Operating Temperature Range | 0℃-40℃ |
GNSS | GPS |
Hovering Accuracy Range | Indoor: Vertical ±0.3m, Horizontal ±0.3m Outdoor: Vertical ±0.5m, Horizontal ±1.5m |
Operating Frequency | 2.4-2.4835 GHz 5.15-5.35 GHz |
Transmission Power (EIRP) | 2.4 GHZ≤20dBm 5 GHz≤16dBm |
Gimbal | |
Controllable Range | Tilt: -90°- 0° |
Camera | |
Image Sensor | 1/3 “ CMOS; Effective Pixel: 2 million |
Lens | FOV: approx. 110 ° Aperture: f/2.4 Shooting Range: 1m to ∞ |
ISO Range | Photo: 100-1600 (Auto) Video: 100-1600 (Auto) |
Electronic Shutter Speed | Electronic Shutter: 1/30s-1/10000s |
Still Image Size | 2048X1152 |
Still Photography Modes | Single Shot |
Video Resolution | 2K: 2048X1152 |
Color Mode | RGB Mode |
Max Video Bitrate | Video 12Mbit/Transmission 2Mbit |
Supported File System | FAT32 |
Photo Format | JPEG Format |
Video Format | MP4, Compressed Format H.264 |
SD Cards | Support Class 10 Micro SD card up to 32G. ≥ Class 10 Micro SD Cards |
Operating Temperature | 0℃-40℃ |
Remote Controller | |
Operating Frequency | 2.4-2.4835 GHz |
Max Transmission Distance | 1.6 km |
Operating Temperature | 0℃-40℃ |
Battery | 2* AA |
Transmission Power (EIRP) | 2.4GHz≤20dBm |
Operating Current/Voltage | 200 mA@3V |
Charger | |
Input | Type C 1: 5V 2A Type C 2: 5V 2A |
Charging Voltage | Battery 1: 3.8 2A Battery 2: 3.8 2A |
Rated Power | 15.2 W |
Aircraft Battery | |
Capacity | 3400 mAh |
Voltage | 7.6 V |
Operating Temperature | LiPo 2S |
Energy | 25.84 Wh |
Net Weight | about 297g |
Charging Temperature Range | 5℃-40℃ |
Charging Time | 270 minutes |
APP | |
APP Name | X-DRONE |
Image Transmission System | WIFI 5GHz |
Real-time Image Transmission | 720 p@20fps |
Latency | 300-500 ms |
Required Operating System | iOS 9.0 or later Android4.4 or later |
Packing Detail
Full package includes the following parts.

Important Statement
- This aircraft is not a toy, but hobby grade model. It should be assembled and operated properly. Pilot must operate this aircraft in safe way . Improper operation may cause injury or property damage.
- This aircraft is applicable for pilots aged 14+ who are with skilled flying experience.
- Users are in full charge of proper operating this aircraft. Manufacturer and dealers disclaim any responsibility for damages caused by misuse.
- Keep the small accessories away from kids to avoid accident.
Flight Safety Guidelines
Hobby grade radio control aircraft is somewhat considered to be the highest danger potential article. Users should firmly uphold the principle of “safety comes first”. Never fly the aircraft near airports, above crowds or in zones storing dangerous goods and understand the responsibility of the accident may cause by improper operations.
- Stay away from obstacles, crowds, power lines, trees or waters
Always choose a wide open area for every flight, well away from people and property. Never fly directly over people or animals. Please don’t fly in such bad weather conditions as high temperature, snow, strong wind (≥level 5), rain or fog. Maintain a 7ft (2m) distance from the aircraft when taking off and landing.
- Keep the aircraft in dry environment
The aircraft is composed by sophisticated electronic components and mechanical parts. To avoid damages on the mechanical and electronic components, please keep the aircraft in dry environment and use clean cloth to wipe the surface and keep it clean.
- Practice flying together with skillful pilot
Beginners are suggested to practice flying together with skillful pilot’s guidance. Do not fly alone.
- Bear proper operation and safe flight guidelines in mind
Please take a careful look at the manuals before flights for important information of product functions and operation tips, and learn how to use the accessory, safe flight always comes first. Stay informed of and abide strictly by relevant local laws and regulations. Keep away from any non-flight zones and respect other people’s privacy.
- Safe flying
Please make sure you are in good shape mentally before every flight. Fly the aircraft as per your flying experience. Never fly under influence of alcohol or drugs. Keep the remote controller at least 20 cm away from your body when flying the aircraft.
- Keep distance from a flying aircraft
Never use your hands to touch a flying aircraft under any circumstance. Don’t approach and touch a landed aircraft before its propellers are completely locked.
- Keep away from heat source
The aircraft is made of metal, fiber, plastic, electronic component and other material. Please keep it away from the heat source to avoid deformation or even damage caused by sun exposure and high temperature.
- Environmental protection requirements
To protect our blue planet, so please recycle the aircraft as per local laws and regulations.
Note:
- Changes or modifications not expressly approved by the party responsible for compliance could void the user’s authority to operate the equipment.
- This equipment has been tested and found to comply with the limits for a Class B digital device, pursuant to part 15 of the FCC Rules. These limits are designed to provide reasonable protection against harmful interference in a residential installation. This equipment generates, uses and can radiate radio frequency energy and, if not installed and used in accordance with the instructions, may cause harmful interference to radio communications. However, there is no guarantee that interference will not occur in a particular installation. If this equipment does cause harmful interference to radio or television reception, which can be determined by turning the equipment off and on, the user is encouraged to try to correct the interference by one or more of the following measures:
— Reorient or relocate the receiving antenna.
— Increase the separation between the equipment and receiver.
— Connect the equipment into an outlet on a circuit different from that to which the receiver is connected.
— Consult the dealer or an experienced radio/TV technician for help.
MADE IN CHINA![]()
EX3 Drone User Manual – Download [optimized]
EX3 Drone User Manual – Download























