PM2200 Mobile Cyclone Dust Collector
User Manual
for serial no. 21110352 and higher
Operating Instructions and Parts Manual
Mobile Cyclone Dust Collector
Model PM2200HK
PM2200 Mobile Cyclone Dust Collector
Powermatic
427 New Sanford Road
LaVergne, Tennessee 37086
Ph.: 800-274-6848
www.powermatic.com
Document No. M-1792200HK
Edition 8 05/2022
Copyright © 2022 Powermatic
IMPORTANT SAFETY INSTRUCTIONS
When using an electrical appliance, basic precautions should always be followed, including the following:
READ ALL INSTRUCTIONS BEFORE USING THIS DUST COLLECTOR.
WARNING – To reduce the risk of fire, electric shock, or injury:
- Read and understand entire owner’s manual before attempting assembly or operation.
- Read and understand the warnings posted on the machine and in this manual.
- Replace warning labels if they become obscured or removed.
- This dust collector is designed and intended for use by properly trained and experienced personnel only. If you are not familiar with the proper and safe operation of a dust collector, do not use until proper training and knowledge have been obtained.
- Do not use this dust collector for other than its intended use. If used for other purposes, Powermatic disclaims any real or implied warranty and holds itself harmless from any injury that may result from that use.
- Always wear protective eye wear when operating machinery. Eye wear shall be impact resistant, protective safety glasses with side shields which comply with ANSI Z87.1
specifications. Use of eye wear which does not comply with ANSI Z87.1 specifications could result in severe injury from breakage of eye protection. (Everyday eyeglasses only have impact resistant lenses; they are NOT safety glasses.) - Keep hair, loose clothing, fingers, and all parts of body away from openings and moving parts.
- Wear hearing protection (plugs or muffs) if noise exceeds safe levels.
- Do not operate this machine while tired or under the influence of drugs, alcohol or any medication.
- Make certain the switch is in the OFF position before connecting the machine to the power supply. Turn off all controls before unplugging.
- Make certain the machine is properly grounded. Connect to a properly grounded outlet only. See Grounding Instructions.
- Make all machine adjustments or maintenance with the machine unplugged from the power source.
- Remove adjusting keys and wrenches. Form a habit of checking to see that keys and adjusting wrenches are removed from the machine before turning it on.
- Keep safety guards in place at all times when the machine is in use. If removed for maintenance purposes, use extreme caution and replace the guards immediately after
maintenance is complete. - Check damaged parts. Before further use of the machine, a guard or other part that is damaged should be carefully checked to determine that it will operate properly and perform its intended function. Check for alignment of moving parts, binding of moving parts, breakage of parts, mounting and any other conditions that may affect its operation. A guard or other part that is damaged should be properly repaired or replaced.
- Provide for adequate space surrounding work area and non-glare, overhead lighting.
- Keep the floor around the machine clean and free of scrap material, oil and grease.
- Keep visitors a safe distance from the work area. Keep children away.
- Make your workshop child proof with padlocks, master switches or by removing starter keys.
- Give your work undivided attention. Looking around, carrying on a conversation and “horseplay” are careless acts that can result in serious injury.
- The dust collector is intended for indoor use. To reduce the risk of electric shock, do not use outdoors or on wet surfaces.
- Do not use this dust collector for anything except wood dust. Materials such as liquids, metal shavings, metal dust, screws, glass, plastic or rock can cause sparks and/or damage when coming into contact with any part of the dust collector.
- Do not use to pick up anything that is burning or smoking, such as cigarettes, matches or hot ashes.
- Do not use to pick up flammable or combustible liquids such as gasoline or use in areas where they may be present.
- Do not pull or carry by cord, use cord as a handle, close a door on cord, or pull cord around sharp edges or corners. Do not run dust collector over cord. Keep cord away from heated surfaces.
- Do not use this dust collector with a damaged cord or plug. If the unit is not working as it should, has been dropped, damaged, left outdoors, or dropped into water, return it to a service center.
- Do not unplug by pulling on cord. To unplug, grasp the plug, not the cord.
- Do not use without dust bag and/or filters in place.
- Do not handle plug or machine with wet hands.
- Do not put any objects into the openings. Do not use with any opening blocked; keep free of dust, lint, hair, and anything that may reduce air flow.
- Do not operate without hose connected to the inlet. Place cap on unused inlet port. Hazardous moving parts inside. Unplug before removing or connecting inlet or inlet guard.
- Use recommended accessories; improper accessories may be hazardous.
- Maintain tools with care. Follow instructions for lubricating and changing accessories.
- Turn off machine and disconnect from power before cleaning. Use a brush or compressed air to remove chips or debris; do not use bare hands.
- Do not leave the machine when it is plugged in. Unplug from outlet when not in use and before servicing.
- Do not stand on the machine. Serious injury could occur if the machine tips over.
- Use proper extension cord. Make sure your extension cord is in good condition. When using an extension cord, use one heavy enough to carry the current your product will draw. An undersized cord will cause a drop in line voltage resulting in loss of power and overheating. Sect. 6.2, Table 2 shows correct size to use depending upon cord length and nameplate ampere rating. If in doubt, use the next heavier gauge. The smaller the gauge number, the heavier the cord.
- The dust collector is intended for household use.
WARNING: This product can expose you to chemicals including lead which is known to the State of California to cause cancer and birth defects or other reproductive harm. For more information go to http://www.p65warnings.ca.gov.
WARNING: Drilling, sawing, sanding or machining wood products generates wood dust and other substances known to the State of California to cause cancer. Avoid inhaling dust generated from wood products or use a dust mask or other safeguards for personal protection.
Wood products emit chemicals known to the State of California to cause birth defects or other reproductive harm. For more information go to http://www.p65warnings.ca.gov/wood.
Familiarize yourself with the following safety notices used in this manual:
CAUTION This means that if precautions are not heeded, it may result in minor injury and/or possible machine damage.
WARNING This means that if precautions are not heeded, it may result in serious, or possibly even fatal, injury.
SAVE THESE INSTRUCTIONS
About this manual
This manual is provided by Powermatic, covering the safe operation and maintenance procedures for a Powermatic Model PM2200HK Cyclone Dust Collector. This manual contains instructions on installation, safety precautions, general operating procedures, maintenance instructions and parts breakdown. Your machine has been designed and constructed to provide consistent, long-term operation if used in accordance with the instructions as set forth in this document.
This manual is not intended to be an exhaustive guide to dust removal strategies, installation of shop duct work, or the use of optional dust collection accessories. Additional knowledge may be obtained from experienced users or trade articles. Whatever accepted methods are used, always make personal safety a priority. If there are questions or comments about this product, please contact your local supplier or Powermatic.
Powermatic can also be reached at our web site: www.powermatic.com.
Retain this manual for future reference. If the machine transfers ownership, the manual should accompany it.
Register your product using the mail-in card provided, or register online: http://www.powermatic.com
Specifications for PM2200HK Cyclone Dust Collector
Table 1
| Model number | PM2200HK |
| Stock number | 1792200HK |
| Motor and electrical | |
| Motor type | totally enclosed fan cooled, induction, capacitor start |
| Horsepower | 3HP (2.2kW) |
| Phase | Single |
| Voltage | 230 V |
| Cycle | 60 Hz |
| Listed FLA (full load amps) | 16 A |
| Starting amps | 65 A |
| Running amps (no load) | 6 A |
| Start capacitor | 250MFD 250VAC |
| Run capacitor | 35µF 400VAC |
| On/off switch | Magnetic contactor with overload protection |
| Motor speed | 3450 RPM |
| Power cord | 12AWG x 3C, SJT, 6 ft. |
| Power plug included | 6-20P |
| Recommended circuit size 1 | 20 A |
| Sound emission 2 | 78 dB at 9.84 ft (3m) |
| Remote control system | Radio frequency (FCC approved); range up to 50 ft. (15m) |
| RC transmitter battery | 2 x AA, 1.5V |
| Timer setting | 2,4,6,8 hours |
| Capacities | |
| Inlet diameter | 8 in. (203 mm) |
| Inlet adaptors, number of | 3 |
| Inlet adaptors, diameter of | 4 in. (100 mm) |
| Air Flow 3 | 1543 CFM (40.8 m3/min) |
| Air Velocity 3 | 4380 FPM (22.4 m/s) |
| Static pressure loss (WC) 3 | 2.24 inH2O (57 mmH2O) |
| Maximum static pressure loss (WC) 3 | 14.30 inH2O (363 mmH2O) |
| Impeller | |
| Diameter | 15.8 in. (403 mm) |
| Fin thickness | 14 ga. |
| Type | radial fin |
| Material | steel |
| Canister filter | |
| Filter type | cartridge and spunbond polyester |
| Canister filter diameter | 14-9/16 in. (370 mm) |
| Canister filter length | 31-3/8 in. (1000 mm) |
| Filter surface area | 46.82 sq. ft. (4.35 m2) |
| HEPA Filter efficiency rating | 99.97% of 0.3 micron particles |
| Cleaning system | Automatic when stop button is pushed |
| Collection bags | |
| Bag material | polyethylene |
| Drum collection bag size (Dia. x L) | 24-9/16 x 47-1/4 in. (624 x 1200 mm) |
| Canister collection bag size (Dia. x L) | 15.4 x 19.7 in. (392 x 500 mm) |
| PM2200 | |
| Collection drum | |
| Capacity | 63 gal. (75.7 L) |
| Diameter | 24-1/2 in. (622 mm) |
| Height | 32-1/2 in. (825 mm) |
| Material | steel |
| Main materials | |
| Frame | steel tubing, sheet metal |
| Body/housing | sheet metal |
| Paint finish | powder coat |
| Dimensions | |
| Footprint/base dimensions (LxW) | 54-1/2 x 31-7/8 (1385 x 810 mm) |
| Overall dimensions, assembled (LxWxH) | 54-1/2 x 31-7/8 x 85-1/4 in. (1385 x 810 x 2165 mm) |
| Shipping dimensions (LxWxH) | 64 x 30 x 52.5 in. (1635 x 770 x 1335 mm) |
| Weights | |
| Net weight, full kit assembled | 370 lbs. (168 kg) |
| Shipping weight | 425.5 lbs. (193 kg) |
- Subject to local/national electrical codes. Recommendation based upon dedicated circuit.
- The specified values are emission levels and are not necessarily to be seen as safe operating levels. As workplace conditions vary, this information is intended to allow the user to make a better estimation of the hazards and risks involved only.
- Test condition: 8-in. inlet with standard canister filter installed.
L = length, W = width, H = height
The specifications in this manual were current at time of publication, but because of our policy of continuous improvement, JET reserves the right to change specifications at any time and without prior notice, without incurring obligations.
WARNING Read and understand the entire contents of this manual before attempting assembly or operation. Failure to comply may cause serious injury.
Setup and assembly
5.1 Unpacking
Remove all items from the pallet and inspect for damage. If any is discovered, contact your distributor. NOTE: Remove 2 screws holding the drum to the pallet. There may be additional fasteners securing items to the pallet. Remove all items from their separate boxes/packages and compare to the contents list in this manual. If any part shortages are identified, contact your distributor. Do not discard boxes or packing material until dust collector is assembled and running satisfactorily.
The letter designations below are used throughout the assembly instructions.
5.2 Shipping contents
(Figure 5-1)
1 Main housing with filter – A
1 Base – B
1 Upper drum – C
1 Lower drum – D
1 Drum lid – E
1 Inlet adaptor – F
1 Support frame – G
1 Right stand panel – H
1 Left stand panel – I
1 Hose – J
2 Hose 2in. – K
2 Hose clamps – L
1 Cone clamp – M
1 Canister bag clamp – N
1 Drum handle – O
1 Reducing cone – P
1 Quick lever – Q
2 Fixed casters Ø3 x 1-1/4 – R
2 Swivel casters Ø3 x 1-1/4 – S
4 Drum casters – T
1 PE bag, large (for drum) – U
1 Drum clamp – V
2 Hose hanger – Y
1 Roll foam tape, 3/4x50L (20x1265mm) – FT3/4
2 Rolls foam tape, 1x38L in. (30x970mm) – FT138
2 Quick connectors – A1
4 Hose clamps 2” dia. – B1
1 PE bag, small (for canister) – C1
1 Remote control (with 2 AA batteries) – RC
4 Angle supports – E1
1 Roll foam tape, 1x25L in. (30x640mm) – FT125
1 Canister filter assembly – CF
2 Quick connectors – QC
Hardware package, #PM2200-HP-1
(Figure 5-2)
16 Hex flange head screws, 5/16×1/2 – HP1
43 Button head screws, 5/16×3/4 – HP2
43 Flat washers, 5/16”x23x2 – HP3
2 Phillips pan head screws, 1/4×1/2 – HP4
8 Button head screws, M5x10 – HP5
1 Open end wrench, 10/12mm – HP6
2 Hex keys, 4mm and 5mm – HP7
4 Phillips pan head screw, #10-24×3/8 – HP8
8 Hex flange head screw, 5/16×3/4 – HP9
5.3 Tools required for assembly
12mm wrench (provided)
4mm, 5mm hex keys (provided)
Cross-point (Phillips) screwdriver
Note: A ratcheting socket wrench, and hand drill with cross-point bit, will speed assembly time.
Approximate assembly time: 2 to 3 hours
5.4 Assembly
WARNING Do not connect dust collector to power until it is assembled. Failure to comply may cause serious injury.
- Turn base upside-down (on cardboard or cloth to prevent scratching) and install fixed (R) and swivel (S) casters. Note: Swivel casters mount below the platform. Tighten all screws securely and turn base upright.
In steps 2 through 4, tighten screws only enough to secure the structure; do not fully tighten. - Position left stand panel (I) and insert screws (HP2). Semi-tighten screws.
- Install support frame (G) to left panel, and position right panel (H). Semi-tighten all screws.
- Install angle supports (E1) with button head screws and washers (HP2/3). Semi-tighten. Half of angle support should protrude upward.

WARNING Use hoist or forklift with hooks through the eyebolts near the motor, to raise housing assembly. Lifting equipment must be properly rated for the load.
If neither is available, use at least 4 persons to lift housing and set it upon the stand. Failure to comply may cause serious injury. - Lower main housing (A, Figure 5-4) onto angle supports and down onto stand panels. Secure with button head screws and washers (HP2/3). Tighten all securely.
- Fully tighten all screws on stand assembly.

- Place 2-inch hose (K) on main housing and tighten with hose clamp (B1). See Figure 5-5.
- Install the Hose Hanger (Y) with Phillips pan head screw (HP8) on the Support frame (G). Tighten screws. See Figure 5-5.

- Turn cone (P) upside down. See Figure 5-6.
- Paste 1Wx38L inch foam tape (FT138) around bottom lip of cone (P). Trim excess.
- Work the hose (J) onto the cone (P), and secure with clamp (L).

- Assemble cone (P) to housing with clamp (M). See Figure 5-7. Position cone so that flanges face forward and are parallel to stand. Tighten screw on clamp.
- Install canister filter (CF, Figure 5-7) to housing, aligning the rod finial (CF1) with the slot in the reduction motor platform.
- Tighten canister filter to housing using eight hex flange head bolts (HP9).

- The upper drum is nested within the lower drum. Remove clamp and lift out upper drum.
- Assemble upper drum (C, Figure 5-8) to lower drum (D) and secure with drum clamp (V) by tightening screw (V1).
- Install handle (O) with screws (HP4). Handle should be opposite side from lower ports.
- Turn drum over and install casters (T) into threaded holes beneath drum. Use the provided wrench to tighten.

- Paste 1Wx25L inch foam tape (FT125) around the inlet port at its edge. Trim excess. See Figure 5-9.
- Push inlet adaptor (F) onto housing inlet and tighten with screw.
- Paste 1Wx38L inch foam tape (FT138) around flange of drum lid (E).
- Roll drum beneath cone and work hose on to drum lid. Secure with hose clamp (L).
- Install quick lever (Q) to flanges of cone with button head screws (HP5, see inset). Then connect bottom of handle to drum lid with hex nut on top and lock nut underneath.
- Push quick connectors (A1) into the 2-inch hoses, tighten with hose clamps, and place connectors onto ports at back of drum (B1).

- Apply 3/4Wx50L inch foam tape (FT3/4, Figure 5-10) to lower groove of canister filter, just above the lip.
- Install canister collection bag (C1) beneath canister filter and secure with bag clamp (N).
- The dust collector is now assembled and ready for operation.

- Slide free end of pressure gauge tube onto housing. See Figure 5-11.
- Connect free ends of hoses (K) to quick connectors (QC) using hose clamps (B1). See Figure 5-12. Push connectors onto lower drum ports.

Electrical connections
WARNING All electrical connections must be done by a qualified electrician in compliance with all local codes and ordinances. Failure to comply may result in serious injury.
The PM2200HK Dust Collector is rated at singlephase, 230-volt power only. The dust collector comes with a plug designed for use on a circuit with a grounded outlet that looks like the one pictured in Figure 6-1.
Keep in mind that a circuit being used by other machines, tools, lights, heaters, etc. at the same time will add to the electrical load. A dedicated circuit to the dust collector will offer best results since dust collectors are generally used while other tools are running.
Before connecting to power source, be sure switch is in off position.
It is recommended that the dust collector be connected to a dedicated 20-amp circuit with circuit breaker or fuse. If connected to a circuit protected by fuse, use time delay fuse marked “D”. Local codes take precedence over recommendations.
6.1 GROUNDING INSTRUCTIONS
This appliance must be grounded. If it should malfunction or breakdown, grounding provides a path of least resistance for electric current to reduce the risk of electric shock. This appliance is equipped with a cord having an equipment-grounding conductor and grounding plug. The plug must be inserted into an appropriate outlet that is properly installed and grounded in accordance with all local codes and ordinances.
WARNING Improper connection of the equipment-grounding conductor can result in a risk of electric shock. Check with a qualified electrician or service person if you are in doubt as to whether the outlet is properly grounded. Do not modify the plug provided with the appliance – if it will not fit the outlet, have a proper outlet installed by a qualified electrician.
The conductor with insulation having an outer surface that is green with or without yellow stripes is the equipment-grounding conductor. If repair or replacement of the electric cord or plug is necessary, do not connect the equipment-grounding conductor to a live terminal.
Use only 3-wire extension cords that have 3-prong grounding plugs and 3-pole receptacles that accept the tool’s plug.
Repair or replace damaged or worn cord immediately.
This appliance is intended for use on a circuit having a nominal rating more than 120 V and is factoryequipped with a specific electric cord and plug to permit connection to a proper electric circuit. Make sure that the appliance is connected to an outlet having the same configuration as the plug. No adapter should be used with this appliance. If the
appliance must be reconnected for use on a different type of electric circuit, the reconnection should be made by qualified service personnel; and after reconnection, the appliance should comply with all local codes and ordinances.
6.2 Extension cords
The use of extension cords is discouraged; try to position machines near the power source. If an extension cord is necessary, make sure it is in good condition. When using an extension cord, be sure to use one heavy enough to carry the current your product will draw. An undersized cord will cause a drop in line voltage resulting in loss of power and overheating. Table 2 shows correct size to use depending on cord length and nameplate ampere rating. If in doubt, use the next heavier gauge. The smaller the gauge number, the heavier the cord.
| Ampere Rating | Volts | Total length of cord in feet | ||||
| More Than | Not More Than | 240 | 50 | 100 | 200 | 300 |
| AWG | ||||||
| 0 | 6 | 18 | 16 | 16 | 14 | |
| 6 | 10 | 18 | 16 | 14 | 12 | |
| 10 | 12 | 16 | 16 | 14 | 12 | |
| 12 | 16 | 14 | 12 | Not Recommended | ||
Table 2: Extension cord recommendations
Operations
7.1 Start/stop
Power Indicator Light – The start switch has a power indicator lamp which is on whenever there is power connected to the collector, not just when the machine is running. Do not assume that no light means there is no power to the machine. If the bulb is bad, there will be no indication. Always check before use.
WARNING Do not rely that no light means no power to the machine. Always check for power first. Failure to comply may cause serious injury!
Refer to Figure 7-1:
Start (A) – Press the green start switch.
When power is connected to the machine, the green light is always on regardless of whether the collector is running or not.
Stop (B) – Press the red switch to stop.
Reset – If the dust collector stops without pressing the stop button, as the result of a tripped fuse or circuit breaker:
1. Press red button (C) to reset.
2. Press green button (A) to restart machine.
7.2 Safety Key
The start/stop switch comes equipped with a magnetic safety key. See Figure 7-1. When in place on the switch, the magnetic safety key trips a relay which allows the machine to start and stop when the respective switches are pressed. Being magnetic, the safety key can be removed to make the machine inoperable.
When using the machine, place the key on the switch cover lining up the arrow on the key with the REMOVE arrow on the cover. Then rotate the key so the arrow lines up with the LOCK arrow. This prevents the safety key from vibrating loose when the machine is operating.
7.3 Remote controller
The RF (radio frequency) remote controller operates on 2 AAA batteries (included). The batteries will need replacing periodically. The remote controller has an effective range up to approximately 50 feet (15 meters).
Press the + or – button to select desired timer setting: 2, 4, 6 or 8 hours. The dust collector will stop automatically at end of selected period. For continuous operation (no timer) select infinity (4) position.
7.3.1 Remote controller reset
If the remote controller begins to function improperly, it should be cleared and reset.
To clear the remote controller, press and hold reset button (A, Figure 7-3) for 3 seconds until receiver “beeps” 3 times.
To reset the controller:
- Press reset button for 1 second until receiver “beeps” once.
- Press and hold “ON” button on the remote controller until receiver “beeps” twice. (If you are using multiple remotes, perform step 2 on each remote before proceeding.)
- Press and hold reset button (A) for 3 seconds until receiver “beeps” 3 times. The remote controller is now ready.
7.4 Dust hose connection
Use proper type hose to connect dust collector to machine(s) being operated. Dryer vent hose is not acceptable for this purpose. Secure hose at both ends with proper clamps.
If an inlet port is not being used, it should remain capped. An open port will diminish the machine’s efficiency and may create a safety hazard.
Contact your nearest Powermatic distributor for a line of Dust Collector hoses and accessories. You can customize your installation and obtain maximum performance with dust hoods, hoses, clamps, fittings, and blast gates.
7.5 Filter auto clean
Canister filter cleaning is automatic. When the dust collector is shut off, the cleaning baffles will rotate one direction for 5 seconds, then the opposite direction for 5 seconds.
User-maintenance
WARNING Turn OFF dust collector and remove plug from power source before performing any adjustments or maintenance.
Failure to comply may result in serious injury.
8.1 Thermal overload reset
The switch box contains overload protection to help prevent damage to the motor. The relay will open the circuit (shut off dust collector) if motor is drawing excessive current during extended periods of operation.
If the overload is tripped, allow machine to cool down for several minutes. Then press breaker reset button (B, Figure 7-3) and restart dust collector.
8.2 Cleaning and bag inspection
Empty or replace canister and drum collection bags when full.
8.3 Motor inspection
Make frequent inspections of motor fan and blow out (with low pressure air hose) or vacuum any accumulation of foreign material to maintain normal motor ventilation.
8.4 Additional servicing
Any other servicing should be performed by an authorized service representative.
Consumable parts replacement
| Part no. | Description |
| 717511 | Canister Collection Bag (pkg. of 5) |
| 717531 | Drum Collection Bag (pkg. of 5) |
Trouble shooting PM2200HK Cyclone Dust Collector
10.1 Electrical and motor problems
| Symptom | Possible Cause | Correction* |
| Motor will not start. | No incoming current. | Check connections at plug or circuit panel. |
| Safety key missing from switch. | Install safety key. | |
| Motor overheated, relay tripped. | Allow machine to cool, then press reset button and restart. | |
| Low voltage. | Check power line for proper voltage. | |
| Open circuit in motor or loose connection. | Inspect all connections to switch box and motor for loose or open connections. | |
| Faulty start switch. | Inspect and replace switch if needed. | |
| Faulty start capacitor. | Replace capacitor. | |
| Faulty motor. | Inspect and replace motor if needed. | |
| Motor will not start: fuse blows or circuit breaker trips. | Too many machines on shared circuit. | Connect dust collector to dedicated circuit. |
| Short circuit in line cord or plug. | Inspect cord or plug for damaged insulation and shorted wires. | |
| Short circuit in motor or loose connections. | Inspect all connections on motor for loose or shorted terminals or worn insulation. | |
| Incorrect fuse or circuit breaker in power line. | Install correct fuse or circuit breaker at power source. | |
| Motor overheats. | Motor overloaded. | Reduce load on motor. |
| Air circulation through motor is restricted. | Clean motor fan with compressed air to restore normal air circulation. | |
| Motor stalls, resulting in blown fuses or tripped circuit. | Motor overloaded. | Reduce load on motor. |
| Short circuit in motor or loose connections. | Inspect connections on motor for loose or shorted terminals or worn insulation. | |
| Low voltage. | Correct low voltage conditions. | |
| Incorrect fuse or circuit breaker in power line. | Install correct fuse or circuit breaker. | |
| Loud noise or vibrations coming from machine. | Loose fasteners. | Inspect machine and tighten all fasteners. |
| Motor fan is hitting the cover. | Tighten fan or shim cover. Replace fan cover if damaged. | |
| Impeller is damaged. | Replace impeller. | |
| Remote controller fails to activate machine. | Stop button still engaged. | Disengage stop button. |
| Batteries drained. | Replace batteries. | |
| Remote needs resetting. | Follow instructions for clearing and resetting. |
Table 4
* WARNING: Some corrections may require a qualified electrician.
10.2 Performance problems
| Symptom | Possible Cause | Correction |
| Poor performance; lack of suction. | Hose improperly secured at dust origination point. | Inspect and remedy. |
| Inlet port is open. | Cap unused inlet ports. | |
| Collection bag is full. | Empty bag (check sight window). | |
| Collection drum not sealed properly. | Inspect drum for leaks, make sure lid is tight. | |
| Canister filter is dirty. | Clean filter. | |
| Wood has excess moisture content. | Use lumber with lower moisture content. | |
| Obstruction in dust hose or inlet port. | Inspect and clear obstruction. | |
| Dust hose too long. | Move collector closer to dust source and use shorter hose. | |
| Excess dust or large chips backing up into canister filter. | Collection drum not sealed properly. | Inspect drum for leaks, make sure lid is tight. |
| Collection bag full. | Empty bag (check sight window). |
11.0 Replacement Parts
Replacement parts are listed on the following pages. To order parts or reach our service department, call 1-800274-6848 Monday through Friday, 8:00 a.m. to 5:00 p.m. CST.
Having the Model Number and Serial Number of your machine available when you call will allow us to serve you quickly and accurately.
Non-proprietary parts, such as asteners, can be found at local hardware stores, or may be ordered from Powermatic.
Some parts are shown for reference only and may not be available individually.
11.1.1 PM2200HK Cyclone Dust Collector – Exploded View
11.1.2 PM2200HK Cyclone Dust Collector – Parts List
Index No……………………. Part No…………………….. Description……………. Size……………………….. Qty
1 ……………. PM2200-001 …………………….Motor ……………………………………. 3HP, 230V ……………….. 1
…………….. PM2200-01SC …………………….Start Capacitor (not shown)…………………… 250MFD, 250VAC …….. 1
…………….. PM2200-01RC ………..Running Capacitor (not shown)…………………………. 35 F, 400V ……………… 1
…………….. JCDC1.5-01FC ……….Fan Cover (not shown) …………………………………….. ………………………………. 1
…………….. JCDC1.5-01CF ……….Cooling Fan (not shown) ………………………………….. ………………………………. 1
…………….. JCDC3-01CS ………….Centrifugal Switch (not shown)………………………….. ………………………………. 1
2 ……………. TS-0570021 ……………Hex Nut …………………………………………………………. 5/16″-18 …………………… 4
3 ……………. TS-0720081 ……………Lock Washer ………………………………………………….. 5/16″ ……………………….. 4
4 ……………. JCDC2-06 ………………Key ……………………………………………………………….. 7x7x25 mm ………………. 1
5 ……………. JCDC1.5-08 ……………Eye Bolt …………………………………………………………. 5/16″ ……………………….. 2
6 ……………. JCDC1.5-02 ……………Strain Relief ……………………………………………………. M20-13B/PG20…………. 2
7 ……………. PM2200-007B …………Motor Cord (serial #20060001 and higher) …………. ……………………. 1
8 ……………. JCDC2-07 ………………Rubber Seal …………………………………………………… ……………………………….. 1
9 ……………. TS-0081031 ……………Hex Cap Screw ………………………………………………. 5/16″-18×3/4″ ………….. 14
10 ………….. PM2200-010 …………..Motor Plate …………………………………………………….. ……………………………….. 1
11 ………….. TS-0051051 ……………Hex Cap Screw ………………………………………………. 5/16″-18×1″ ………………. 4
12 ………….. PM2200-012 …………..Impeller………………………………………………………….. Dia. 15.8″ …………………. 1
13 ………….. TS-0271071 ……………Socket Set Screw ……………………………………………. 3/8″-16×3/4″ ……………… 1
14 ………….. PM2200-014 …………..Impeller Washer ……………………………………………… ……………………………….. 1
15 ………….. TS-1503051 ……………Socket Head Cap Screw ………………………………….. M6x20……………………… 1
16 ………….. PM2200-016D…………Main Housing (serial #21010106 and higher) ……… ………………………… 1
17 ………….. TS-081C022……………Pan HD Phillips Machine Screw ………………………… #10-24×3/8″ ……….. 2
18 ………….. PM2200-018 …………..Wire Clip………………………………………………………… UC4 ………………………… 1
19 ………….. PM2200-019 …………..Reducing Motor ………………………………………………. 15W, 230V……………….. 1
20 ………….. JBTS10MJS-620……..Pan Head Screw …………………………………………….. M4x60……………………… 4
21 ………….. PM2200-021B …………Reducing Motor Cord (serial #20060001 and higher) …………………… 1
22 ………….. PM2200-022 …………..Inlet……………………………………………………………….. 8″x4″x3…………………….. 1
……………… PM2200-022A …………Inlet Adaptor Assembly (#17,22 thru 24)…………….. …………………….. 1
23 ………….. JCDC1.5-20 ……………Inlet Adaptor Cap ……………………………………………. 4″ ……………………………. 2
24 ………….. JCDC1.5-19 ……………Chain …………………………………………………………….. ……………………………….. 2
25 ………….. PM2200-025C…………Right Panel (serial #21010106 and higher)…………. ……………………………….. 1
26 ………….. PM2200-026 …………..Hose Hanger ………………………………………………….. ……………………………….. 2
27 ………….. TS-081C022……………Pan HD Phillips Machine Screw………………………… #10-24×3/8″ ……………… 4
28 ………….. PM2200-028D…………Support Frame (serial #21010106 and higher) ……. ……………………………….. 1
29 ………….. PM2200-029 …………..Strain Relief ……………………………………………………. MP-16 ……………………… 1
30 ………….. JCDC1.5-02 ……………Strain Relief ……………………………………………………. M20-13B/PG20…………. 1
31 ………….. PM2200-031 …………..Control Box Assembly (#31-1 thru 31-5) …………….. ……………………… 1
31-1……….. PM2200-031 …………..Control Box Back Cover …………………………………… ……………………………….. 1
31-2……….. JCDC2-21-4 ……………Remote Control Transmitter ……………………………… ……………………………….. 1
31-3 ………. PM2200-031CB ………Circuit Board…………………………………………………… ……………………………….. 1
31-4 ………. JCDC3-21-6 ……………Overload Protector ………………………………………….. 28A …………………………. 1
31-5……….. PM2200-031-1 ………..Contactor ……………………………………………………….. MA-18 ……………………… 1
31-6……….. PM2200-031-6 ………..Reducing Motor Switch (serial #20060001 and higher) ……………………. 1
32 ………….. PM2200-032B …………Socket HD Button Screw (serial #20060001 and higher)…M4-0.7×8 ……. 2
33 ………….. PM2200-033 …………..Clear Hose …………………………………………………….. Dia. 8mm …………………. 1
34 ………….. PM2200-034 …………..Negative Pressure Gauge ………………………………… ……………………………….. 1
35 ………….. PM2200-035 …………..Adaptor ………………………………………………………….. ……………………………….. 1
36 ………….. TS-0267061 ……………Socket Set Screw ……………………………………………. 1/4″-20×5/8″ ……………… 1
37 ………….. PM2200-037 …………..Remote Control Transmitter ……………………………… ……………………………….. 1
…………….. ……………………………..Battery (not shown) …………………………………………. AAA, 1.5V ………………… 2
38 ………….. TS-081F032 ……………Pan HD Phillips Machine Screw………………………… 1/4″-20×1/2″ ………. 2
39 ………….. 3520B-140 ……………..Powermatic Logo…………………………………………….. ……………………………….. 1
40 ………….. 5512797 …………………Pan HD Phillips Machine Screw………………………… M5-0.8×25………………… 2
41 ………….. PM2200-041 …………..ON-OFF Switch Assembly ……………………………….. ……………………………….. 1
…………….. PM2000-298 …………..Safety Key for Magnetic Switch (not shown)……….. ……………………………….. 1
42 ………….. PM2200-042C…………Left Panel (serial #21010106 and higher) …………… ……………………………….. 1
43 ………….. JCDC3-23 ………………Power Cord w/ 6-20P plug ……………………………….. 12AWG x 3C…………….. 1
44 ………….. F012439…………………Serrated Hex Flange Screw ……………………………… 5/16″-18×1/2″ ………….. 22
45 ………….. PM2200-045D…………Base (serial #21010106 and higher) ………………….. ……………………………….. 1
46 ………….. JCDC3-33 ………………Swivel Caster …………………………………………………. 3″ ……………………………. 2
47 ………….. JCDC3-33-1 ……………Swivel Caster w/ Brake ……………………………………. 3″ ……………………………. 2
48 ………….. 717531 …………………..Drum Collection Bag (pkg. of 5) ………………………… 980 x 1200 /mm……… 1
49 ………….. F009884…………………Socket HD Button Screw………………………………….. M5-0.8×8………………….. 8
50 ………….. PM2200-050 …………..Quick Lever Assembly……………………………………… ……………………………….. 1
51 ………….. TS-1540071 ……………Hex Nut …………………………………………………………. M10…………………………. 2
51-1……….. TS-1541041 ……………Nylon Lock Hex Nut…………………………………………. M10…………………… 2
52 ………….. JCDC1.5-42 ……………Handle …………………………………………………………… ……………………………….. 1
53 ………….. TS-081F031 ……………Flat Head Phillips Mach Screw………………………….. 1/4″-20×1/2″ ………… 2
54 ………….. JCDC1.5-44 ……………Rubber Pad ……………………………………………………. ……………………………….. 1
55 ………….. JCDC1.5-45 ……………PC Plate ………………………………………………………… ……………………………….. 1
56 ………….. PM2200-056 …………..Rivet ……………………………………………………………… 4-3 ………………………… 12
57 ………….. PM2200-057 …………..Upper Collection Drum ………………………… …………………………….. 1
58 ………….. PM2200-058 …………..Drum Clamp …………………………………………………… ……………………………….. 1
59 ………….. PM2200-059 …………..Lower Collection Drum …………………………………….. ……………………………….. 1
59A………… PM2200-059A …………Collection Drum Assembly (#52 thru 61)…………….. ………………………… 1
60 ………….. JCDC2-49 ………………Swivel Caster …………………………………………………. 2″ ……………………………. 4
61 ………….. TS-0050111 ……………Hex Cap Screw ………………………………………………. 1/4″-20×2-1/2″ ………. 2
62 ………….. PM2200-062 …………..Housing …………………………………………………………. ……………………………….. 1
63 ………….. JCDC2-35 ………………Clamp …………………………………………………………… Dia. 500mm ……………… 1
64 ………….. PM2200-064 …………..Cone……………………………………………………………… ……………………………….. 1
65 ………….. JCDC2-39 ………………Foam Tape …………………………………………………….. L970 x W30 x T1 /mm .. 2
66 ………….. JCDC2-40 ………………Hose Clamp……………………………………………………. 12-1/2″ …………………….. 2
67 ………….. JCDC2-41 ………………Hose ……………………………………………………………… Dia. 12″ ……………………. 1
68 ………….. PM2200-068 …………..Drum Lid………………………………………………………… ……………………………….. 1
69 ………….. 717511 …………………..Canister Collection Bag (pkg. of 5)…………………….. 600 x 500 /mm………….. 1
70 ………….. JCDC1.5-60 ……………Clamp …………………………………………………………… ……………………………….. 1
71 ………….. JCDC1.5-59 ……………Foam Tape …………………………………………………….. L1265 x W20 x T3 /mm 1
72 ………….. PM2200-072G…………Canister Filter General ………………………………….. ……………………………….. 1
…………….. PM2200-072H…………Canister Filter HEPA …………………………………….. ……………………………….. 1
72A………… 1792200H ………………HEPA Filter, complete (includes #72, 49,75-78,81-88) H13 ……………… 1
73 ………….. PM2200-073 …………..Hose Clamp……………………………………………………. Dia. 2″ ……………………… 4
74 ………….. PM2200-074 …………..Hose ……………………………………………………………… Dia. 2″ ……………………… 2
75 ………….. JCDC1.5-69 ……………Support Plate………………………………………………….. ……………………………….. 2
76 ………….. JCDC1.5-63 ……………Bearing Cover ………………………………………………… ……………………………….. 2
77 ………….. JCDC1.5-62 ……………Oil-retaining Bearing………………………………………… ………………………………. 2
78 ………….. JCDC1.5-52 ……………Socket HD Button Screw………………………………….. M5x6…………………. 6
79 ………….. PM2200-079 …………..Canister Fixing Plate ……………………………………….. ……………………………….. 1
80 ………….. PM2200-080B …………Rod Kit (serial #20060001 and higher)……………….. ………………………… 1
81 ………….. TS-1540031 ……………Hex Nut …………………………………………………………. M5…………………………… 2
82 ………….. TS-1522041 ……………Socket Set Screw ……………………………………………. M52-0.8×12…………………
83 ………….. PM2200-083B …………Rod……………………………………………………………….. ……………………………….. 1
84 ………….. PM2200-084B …………Spindle (serial #20060001 and higher) ………………. …………………….. 1
85 ………….. JCDC1.5-65 ……………Fixing Block ……………………………………………………. ……………………………….. 2
86 ………….. JCDC1.5-66 ……………Scraper ………………………………………………………….. ……………………………….. 2
87 ………….. TS-1481031 ……………Hex Cap Screw ………………………………………………. M5-0.8×12………………… 8
88 ………….. PM2200-088 …………..Flanged Hex Nut …………………………………………….. M5-0.8 …………………….. 4
89 ………….. SWSS3-201 ……………Open End Wrench…………………………………………… 10-12 mm ………………… 1
90 ………….. 5711571 …………………Pan HD Phillips Machine Screw………………………… 3/16″x1/4″ ………… 1
91 ………….. PM2200-091 …………..Quick Connector……………………………………………… ……………………………….. 2
92 ………….. PM2200-092 …………..Foam Tape …………………………………………………….. L640 x W30xT1/mm ….. 1
93 ………….. PM2200-093 …………..Angle Support (serial #20060001 and higher)……… ………………………………. .4
94 ………….. PM2200-094 …………..Washer (serial #20060001 and higher) ………………. 5/16″x23x2……………… 43
95 ………….. PM2200-095 …………..Washer (serial #20060001 and higher) ………………. 1/4″-20×18 ……………….. 2
96 ………….. 5628781 …………………Allen Wrench (serial #20060001 and higher) ………. M6…………………………… 1
97 ………….. F009714 ………………..Socket HD Button Screw (serial #20060001 and higher)…5/16″-18×3/4″…. 43
98 ………….. PM2200-098 ………….Toothed Lock Washer (serial #20060001 and higher)……..M5 ……………….. .1
99 ………….. TS-2245102 ……………Socket HD Button Screw (serial #20060001 and higher)….M5x10 …………… 8
100 ………… 5629521 …………………Allen Wrench (serial #20060001 and higher)……………….M5 ………………… 1
……………… PM2200-HP-1 …………Hardware Package (see sect. 5.0) …………………….. ………………………………….
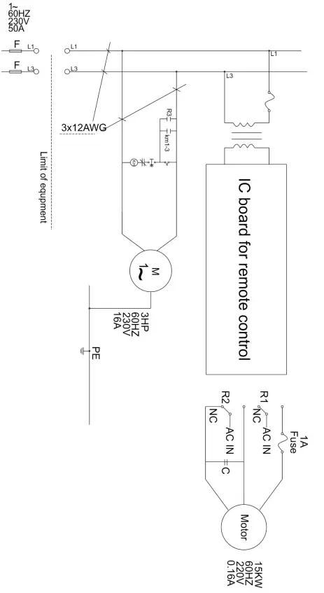
12.0 Electrical Connections for PM2200HK Cyclone DC
Warranty and service
Powermatic® warrants every product it sells against manufacturers’ defects. If one of our tools needs service or repair, please contact Technical Service by calling 1-800-274-6846, 8AM to 5PM CST, Monday through Friday.
Warranty Period The general warranty lasts for the time period specified in the literature included with your product or on the official Powermatic branded website.
- Powermatic products carry a limited warranty which varies in duration based upon the product. (See chart below)
- Accessories carry a limited warranty of one year from the date of receipt.
- Consumable items are defined as expendable parts or accessories expected to become inoperable within a reasonable amount of use and are covered by a 90 day limited warranty against manufacturer’s defects.
Who is Covered
This warranty covers only the initial purchaser of the product from the date of delivery.
What is Covered
This warranty covers any defects in workmanship or materials subject to the limitations stated below. This warranty does not cover failures due directly or indirectly to misuse, abuse, negligence or accidents, normal wear-and-tear, improper repair, alterations or lack of maintenance. Powermatic woodworking machinery is designed to be used with Wood. Use of these machines in the processing of metal, plastics, or other materials outside recommended guidelines may void the warranty. The exceptions are acrylics and other natural items that are made specifically for wood turning.
Warranty Limitations
Woodworking products with a Five Year Warranty that are used for commercial or industrial purposes default to a Two Year Warranty. Please contact Technical Service at 1-800-274-6846 for further clarification.
How to Get Technical Support
Please contact Technical Service by calling 1-800-274-6846. Please note that you will be asked to provide proof of initial purchase when calling. If a product requires further inspection, the Technical Service representative will explain and assist with any additional action needed. Powermatic has Authorized Service Centers located throughout the United States. For the name of an Authorized Service Center in your area call 1-800-274-6846 or use the Service Center Locator on the Powermatic website.
More Information
Powermatic is constantly adding new products. For complete, up-to-date product information, check with your local distributor or visit the Powermatic website.
How State Law Applies
This warranty gives you specific legal rights, subject to applicable state law.
Limitations on This Warranty
POWERMATIC LIMITS ALL IMPLIED WARRANTIES TO THE PERIOD OF THE LIMITED WARRANTY FOR EACH PRODUCT. EXCEPT AS STATED HEREIN, ANY IMPLIED WARRANTIES OF MERCHANTABILITY AND FITNESS FOR A PARTICULAR PURPOSE ARE EXCLUDED. SOME STATES DO NOT ALLOW LIMITATIONS ON HOW LONG AN IMPLIED WARRANTY LASTS, SO THE ABOVE LIMITATION MAY NOT APPLY TO YOU. POWERMATIC SHALL IN NO EVENT BE LIABLE FOR DEATH, INJURIES TO PERSONS OR PROPERTY, OR FOR INCIDENTAL, CONTINGENT, SPECIAL, OR CONSEQUENTIAL DAMAGES ARISING FROM THE USE OF OUR PRODUCTS. SOME STATES DO NOT ALLOW THE EXCLUSION OR LIMITATION OF INCIDENTAL OR CONSEQUENTIAL DAMAGES, SO THE ABOVE LIMITATION OR EXCLUSION MAY NOT APPLY TO YOU.
Powermatic sells through distributors only. The specifications listed in Powermatic printed materials and on the official Powermatic website are given as general information and are not binding. Powermatic reserves the right to effect at any time, without prior notice, those alterations to parts, fittings, and accessory equipment which they may deem necessary for any reason whatsoever.
Product Listing with Warranty Period
90 Days Parts; Consumable items
1 Year Motors, Machine Accessories
2 Year Woodworking Machinery used for industrial or commercial purposes
5 Year Woodworking Machinery
NOTE: Powermatic is a division of JPW Industries, Inc. References in this document to Powermatic also apply to JPW Industries, Inc., or any of its successors in interest to the Powermatic brand.
427 New Sanford Road LaVergne, Tennessee 37086
Phone: 800-274-6848
www.powermatic.com



























