JET JCDC-1.5 1.5HP Mobile Cyclone Dust Collector

IMPORTANT SAFETY INSTRUCTIONS
When using an electrical appliance, basic precautions should always be followed, including the following:
READ ALL INSTRUCTIONS BEFORE USING THIS DUST COLLECTOR.
WARNING – To reduce the risk of fire, electric shock, or injury:
- Read and understand entire owner’s manual before attempting assembly or operation of this dust collector.
- Read and understand the warnings posted on the machine and in this manual.
- Replace warning labels if they become obscured or removed.
- This dust collector is designed and intended for use by properly trained and experienced personnel only. If you are not familiar with the proper and safe operation of a dust collector, do not use until proper training and knowledge have been obtained.
- Do not use this dust collector for other than its intended use. If used for other purposes, JET disclaims any real or implied warranty and holds itself harmless from any injury that may result from that use.
- Always wear approved safety glasses/face shield while using this dust collector. Everyday eyeglasses only have impact resistant lenses; they are not safety glasses.
- Keep hair, loose clothing, fingers, and all parts of body away from openings and moving parts.
- Wear hearing protection (plugs or muffs) during extended periods of operation.
- Do not operate this machine while tired or under the influence of drugs, alcohol or any medication.
- Make certain the switch is in the OFF position before connecting the machine to the power supply. Turn off all controls before unplugging.
- Make certain the machine is properly grounded. Connect to a properly grounded outlet only. See Grounding instructions.
- Make all machine adjustments or maintenance with the machine unplugged from the power source.
- Remove adjusting keys and wrenches. Form a habit of checking to see that keys and adjusting wrenches are removed from the machine before turning it on.
- Keep safety guards in place at all times when the machine is in use. If removed for maintenance purposes, use extreme caution and replace the guards immediately after maintenance is complete.
- Check damaged parts. Before further use of the machine, a guard or other part that is damaged should be carefully checked to determine that it will operate properly and perform its intended function. Check for alignment of moving parts, binding of moving parts, breakage of parts, mounting and any other conditions that may affect its operation. A guard or other part that is damaged should be properly repaired or replaced.
- Provide for adequate space surrounding work area and non-glare, overhead lighting.
- Keep the floor around the machine clean and free of scrap material, oil and grease.
- Keep visitors a safe distance from the work area. Keep children away.
- Make your workshop child proof with padlocks, master switches or by removing starter keys.
- Give your work undivided attention. Looking around, carrying on a conversation and “horse-play” are careless acts that can result in serious injury.
- The dust collector is intended for indoor use. To reduce the risk of electric shock, do not use outdoors or on wet surfaces.
- Do not use this dust collector for anything except wood dust. Materials such as liquids, metal shavings, metal dust, screws, glass, plastic or rock can cause sparks and/or damage when coming into contact with any part of the dust collector.
- Do not use to pick up anything that is burning or smoking, such as cigarettes, matches or hot ashes.
- Do not use to pick up flammable or combustible liquids such as gasoline, or use in areas where they may be present.
- Do not pull or carry by cord, use cord as a handle, close a door on cord, or pull cord around sharp edges or corners. Do not run dust collector over cord. Keep cord away from heated surfaces.
- Do not use this dust collector with a damaged cord or plug. If the unit is not working as it should, has been dropped, damaged, left outdoors, or dropped into water, return it to a service center.
- Do not unplug by pulling on cord. To unplug, grasp the plug, not the cord.
- Do not use without dust bag and/or filters in place.
- Do not handle plug or machine with wet hands
- Do not put any objects into the openings. Do not use with any opening blocked; keep free of dust, lint, hair, and anything that may reduce air flow.
- Do not operate without hose connected to the inlet. Place cap on unused inlet port. Hazardous moving parts inside. Unplug before removing or connecting inlet or inlet guard.
- Use recommended accessories; improper accessories may be hazardous.
- Maintain tools with care. Follow instructions for lubricating and changing accessories.
- Turn off machine and disconnect from power before cleaning. Use a brush or compressed air to remove chips or debris; do not use bare hands.
- Do not leave the machine when it is plugged in. Unplug from outlet when not in use and before servicing.
- Do not stand on the machine. Serious injury could occur if the machine tips over.
- This dust collector is intended for non-commercial use.
WARNING: This product can expose you to chemicals including lead and cadmium which are known to the State of California to cause cancer and birth defects or other reproductive harm, and phthalates which are known to the State of California to cause birth defects or other reproductive harm. For more information go to http://www.p65warnings.ca.gov.
WARNING: Drilling, sawing, sanding or machining wood products generates wood dust and other substances known to the State of California to cause cancer. Avoid inhaling dust generated from wood products or use a dust mask or other safeguards for personal protection.
Wood products emit chemicals known to the State of California to cause birth defects or other reproductive harm.
For more information go to http://www.p65warnings.ca.gov/wood.
Familiarize yourself with the following safety notices used in this manual:
CAUTION
This means that if precautions are not heeded, it may result in minor injury and/or possible machine damage.
WARNING
This means that if precautions are not heeded, it may result in serious, or possibly even fatal, injury.
SAVE THESE INSTRUCTIONS
About this manual
This manual is provided by JET, covering the safe operation and maintenance procedures for a JET Model JCDC-1.5 Cyclone Dust Collector. This manual contains instructions on installation, safety precautions, general operating procedures, maintenance instructions and parts breakdown. Your machine has been designed and constructed to provide consistent, long-term operation if used in accordance with the instructions as set forth in this document.
This manual is not intended to be an exhaustive guide to dust removal strategies, installation of shop duct work, or the use of optional dust collection accessories. Additional knowledge may be obtained from experienced users or trade articles. Whatever accepted methods are used, always make personal safety a priority.
If there are questions or comments about this product, please contact your local supplier or JET. JET can also be reached at our web site: www.jettools.com.
Retain this manual for future reference. If the machine transfers ownership, the manual should accompany it.
Specifications
- Model number ……………………………………………………………………………………………………………………….. JCDC-1.5
- Stock number ………………………………………………………………………………………………………………………….. 717515B
Motor and electricals:
- Motor type ……………………………………………………………… .totally enclosed fan cooled, induction, capacitor start
- Horsepower …………………………………………………………………………………………………………….. 1-1/2 HP (1.1kW)
- Phase ……………………………………………………………………………………………………………………………………… single
- Voltage ……………………………………………………………………………………………………………………………… 115V only
- Cycle ………………………………………………………………………………………………………………………………………… 60Hz
- Listed FLA (full load amps) …………………………………………………………………………………………………………… 14 A
- Starting amps …………………………………………………………………………………………………………………………….. 52 A
- Running amps (no load) ………………………………………………………………………………………………………………. 13 A
- Start capacitor …………………………………………………………………………………………………………. 300MFD 125VAC
- Run capacitor ……………………………………………………………………………………………………………………. 30μF 250V
- On/off switch …………………………………………………………………………………………….. toggle switch with safety key
- Motor speed ………………………………………………………………………………………………………………………. 3450 RPM
- Power cord ……………………………………………………………………………………………………….. 14AWG x 3C, 6ft.,SJT
- Power plug …………………………………………………………………………………………………… 5-15P, 125V/15A installed
- Recommended circuit and fuse/breaker size 1 …………………………………………………………………………………. 20A
- Sound emission 2 ………………………………………………………………………………………………… 75 dB at 9.84 ft. (3m)
- Remote control system …………………………………….. radio frequency (FCC approved); range up to 50 ft. (15 m)
- RC transmitter battery ……………………………………………………………………………………………………………………. 9V
Performance:
- Inlet diameter ……………………………………………………………………………………………………………….. 6 in. (152 mm)
- Inlet adaptors, number of ………………………………………………………………………………………………………………….. 2
- Inlet adaptors, diameter of ………………………………………………………………………………………………. 4in. (100 mm)
- Filter efficiency ………………………………………………………… 99% of 2 micron particles; 86% of 1 micron particles
US method EU method
- Air Flow with filters installed ………………………… 763 CFM (1293 m3/hr) ……………………. 1259 CFM (2134 m3/hr)
- Air Velocity …………………………………………………. 3877 FPM (18.5 m/s) …………………….. 6396 FPM (32.50 m/s)
- Static pressure loss (WC) ……………………….. 1.535 inH2O (39 mmH2O) …………………. 2.677 inH2O (68 mmH2O)
- Maximum static pressure loss (WC) ……….. 8.268 inH2O (210 mmH2O) ……………….. 8.268 inH2O (210 mmH2O)
Impeller:
- Impeller diameter ………………………………………………………………………………………………………… 13 in. (330 mm)
- Impeller type …………………………………………………………………………………………………………………………. radial fin
- Impeller material …………………………………………………………………………………………………………………………. steel
Canister filter:
- Filter type ………………………………………………………………………………………….. cartridge and spunbond polyester
- Canister filter diameter …………………………………………………………………………………………. 14-9/16 in. (370 mm)
- Canister filter length ……………………………………………………………………………………………….. 15-3/4 in. (400 mm)
- Filter surface area …………………………………………………………………………………………………….. 21.53 sq. ft. (2m2)
- Filter efficiency ………………………………………………………………………………………………. 99% of 2 micron particles
- Cleaning system ……………………………………………………………………………………………… manual scraper rotation
Collection drum:
- Capacity …………………………………………………………………………………………………………………………………. 20 gal.
- Diameter …………………………………………………………………………………………………………….. 16-9/16 in. (420 mm)
- Height ………………………………………………………………………………………………………………. 19-11/16 in. (500 mm)
- Material ……………………………………………………………………………………………………………………………………… steel
- Subject to local/national electrical codes. Recommendation based upon dedicated circuit.
- The specified values are emission levels and are not necessarily to be seen as safe operating levels.
As workplace conditions vary, this information is intended to allow the user to make a better estimation of the hazards and risks involved only.
Collection bags:
- Bag material …………………………………………………………………………………………………………………… polyethylene
- Drum collection bag size (Dia. x L) ……………………………………………………………… 26 x 27-9/16 (660 x 700 mm)
- Canister collection bag size (Dia. x L) ……………………………………………… 19-11/16 x 23-5/8 in. (500 x 600 mm)
Main materials:
- Frame ……………………………………………………………………………………………………………………………… steel tubing
- Body ……………………………………………………………………………………………………………………………….. 18 ga. steel
- Paint finish ………………………………………………………………………………………………………………………. powder coat
Dimensions:
- Footprint/base dimensions (L x W) ………………………………………………………………. 47 x 22 in. (1195 x 559 mm)
- Height from floor to inlet port center ……………………………………………………………………….. 42-3/4 in. (1085 mm)
- Overall dimensions, assembled (L x W x H) …………………………… 22 x 47 x 67-9/16 in. (559 x 1195 x 1715mm)
- Overall dimensions, shipping carton (L x W x H) ………… 42-5/16 x 23-1/4 x 30-5/16 in. (1075 x 590 x 770 mm)
Weights:
- Net weight ………………………………………………………………………………………………………………. 138.6 lb. (62.8 kg)
- Shipping weight, approximate …………………………………………………………………………………… 171.7 lb. (77.8 kg)
The specifications in this manual were current at time of publication, but because of our policy of continuous improvement, JET reserves the right to change specifications at any time and without prior notice, without incurring obligations.
WARNING
Read and understand the entire contents of this manual before attempting assembly or operation. Failure to comply may cause serious injury.
Setup and assembly
Unpacking and cleanup
Remove all contents from shipping carton and compare to the contents list in this manual. If shipping damage or any part shortages are identified, contact your distributor. Do not discard carton or packing material until dust collector is assembled and running satisfactorily.
Shipping contents – JCDC-1.5
Main carton (see Figure 1)

Figure 1: main carton contents (not to scale)
- 1 Main housing – A
- 1 Funnel – B
- 1 Base – C
- 1 Left stand – D1
- 1 Right stand – D2
- 1 Canister filter – E
- 1 Drum – F
- 1 Funnel clamp – G
- 1 Drum lid – H
- 1 Inlet adaptor – I
- 1 Hose – J
- 2 Hose clamp 10-1/2in. – K
- 8 Casters – L
- 2 Side cap – M
- 1 Handle – N
- 1 Canister collection bag – O
- 1 Drum collection bag – P
- 2 Quick lever – Q
- 1 Inner bag frame – R (Consists of 3 long supports, 3 short supports, and 2 hoops)
- 1 Stand support – S
- 1 Foam tape, 490 mm – T
- 2 Foam tape, 810 mm – U
- 1 Foam tape, 1265 mm – V
- 1 Gasket – W
- 1 Clamp – X
- 1 Remote controller with battery (not shown)
Hardware package (p/n JCDC1.5-HPB) (see Figure 2)

- 6 Flange head screw, 5/16×1/2 – HP2
- 8 Phillips pan head screw, M5x8 – HP3
- 4 Flange head screw, 1/4×1/2 – HP4
- 1 Open-end wrench, 10/12mm – HP5
- 1 Hex wrench 4mm – HP6
- 1 Hex wrench 5mm – HP7
- 6 Flange head screw, 5/16×3/4 – HP8
- 6 Nut M8– HP9
- 12 Phillips pan head screw, M3x12 – HP10
- 12 Hex nut M3 – HP11
Tools required for assembly
Hex keys, 4mm and 5mm (provided) Open-end wrench, 10/12mm (provided) Cross-point (Phillips) screwdriver
Assembly
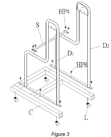
- Install four casters (L) to base (C). See Figure 3.
- Install left and right stands (D1, D2) to base (C) with flange head screws (HP8).
- Install stand support (S) to base (C) with flange head screws (HP4).

- Install four casters (L) into the threaded nuts beneath drum (F). See Figure 4.

- Lift main housing (A) using hoist with straps through lifting rings atop main housing. If hoist is not available, at least 2 persons must lift housing.
CAUTION
The main housing is heavy.
Use a hoist or have two people lift into place. - Position main housing (A) between left and right stands (D1, D2), and secure with six flange head screws (HP2). See Figure 5.

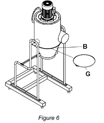
- Install funnel (B) beneath main housing. Secure with funnel clamp (G). See Figure 6. Tighten screw on funnel clamp securely.

- Install side cover (M) on left and right stands. See Figure 7.

- Assemble handle (N) to canister filter (E) using set screw and nut. See Figure 8.

- Place gasket (W) between canister filter and main housing. Install canister filter onto main housing and tighten with hex. cap screws (HP12) and washer (HP13) and nuts (HP9). See Figure 9.

- Apply foam tape (T) around inlet port near edge. See Figure 10. The foam tape should completely encircle the port.
- Install inlet adaptor (I) on main housing and secure with pan head screw (HP1).
- Apply foam tape (V) just above lower lip of canister filter. The foam tape should completely encircle the canister filter.
- Install collection bag (O) to bottom of canister filter and secure with steel bag clamp (X).
Note: Masking tape can be used to hold bag in position on canister until clamp is secured.
- Apply foam tape (U) around funnel just above its bottom edge. See Figure 11. The foam tape should completely encircle the funnel.
- Apply foam tape (U) around outside lip of drum opening. The foam should completely encircle the lip.

- Install quick levers into threaded holes on cone flanges, using screws (HP3). See Figure 12
- Install hose (J) onto cone and drum lid and secure with two hose clamps (K), at top and bottom. See Figure 12.
The bag frame maintains the shape of the bag in the negative-pressure environment of the cyclone drum. Assemble bag frame as follows: - Screw the short and long frame supports into the hoops in alternating manner, as shown in Figure 13. Secure with twelve pan head screws and hex nuts (HP10, HP11). (Note: The bends on long supports point inward as shown.)

- Place drum collection bag (P) into drum with its top edge wrapped around top edge of drum. Place bag frame (R) inside bag and press all the way down. See Figure 14.
- Pull down both quick levers (Q, Figure 12) then assemble drum lid (H, Figure 12) to quick levers. Tighten long nut (Q1, Figure 12) onto each quick lever.
- Raise drum lid using quick levers, and position drum beneath lid. Lower quick levers to secure lid upon drum.

Electrical connections
WARNING
All electrical connections must be done by a qualified electrician in compliance with all local codes and ordinances.
Failure to comply may result in serious injury.
The JCDC-1.5 Dust Collector is rated at 115-volt power only.
The dust collector comes with a plug designed for use on a circuit with a grounded outlet that looks like the one pictured in A, Figure 15.
Keep in mind that a circuit being used by other machines, tools, lights, heaters, etc. at the same time will add to the electrical load.
A dedicated circuit to the dust collector will offer best results since dust collectors are generally used while other tools are running.
Before connecting to power source, be sure switch is in off position.
It is recommended that the dust collector be connected to a dedicated 20-amp circuit with circuit breaker or fuse.
If connected to a circuit protected by fuse, use time delay fuse marked “D”. Local codes take precedence over recommendations.
GROUNDING INSTRUCTIONS
This appliance must be grounded. If it should malfunction or breakdown, grounding provides a path of least resistance for electric current to reduce the risk of electric shock. This appliance is equipped with a cord having an equipment-grounding conductor and grounding plug. The plug must be inserted into an appropriate outlet that is properly installed and grounded in accordance with all local codes and ordinances.
WARNING
Improper connection of the equipment-grounding conductor can result in a risk of electric shock.
Check with a qualified electrician or service person if you are in doubt as to whether the outlet is properly grounded.
Do not modify the plug provided with the appliance – if it will not fit the outlet, have a proper outlet installed by a qualified electrician.
The conductor with insulation having an outer surface that is green with or without yellow stripes is the equipment-grounding conductor.
If repair or replacement of the electric cord or plug is necessary, do not connect the equipment-grounding conductor to a live terminal.
Use only 3-wire extension cords that have 3-prong grounding plugs and 3-pole receptacles that accept the tool’s plug.
Repair or replace damaged or worn cord immediately.
- Grounded, cord-connected appliances rated less than 15 A and intended for use on a nominal 120-V supply circuit:
This appliance is for use on a nominal 120-V circuit and has a grounded plug that looks like the plug illustrated in sketch A in Figure 15.
A temporary adaptor that looks like the adaptor illustrated in sketches B and C may be used to connect this plug to a 2-pole receptacle as shown in sketch B if a properly grounded outlet is not available.
The temporary adaptor should be used only until a properly grounded outlet (sketch A) can be installed by a qualified electrician.
The green colored rigid ear, lug, or the like extending from the adaptor must be connected to a permanent ground such as a properly grounded outlet box cover. Whenever the adaptor is used, it must be held in place by a metal screw.
In Canada, the use of a temporary adaptor is not permitted by the Canadian Electrical Code, C22.1.

Extension cords
The use of extension cords is discouraged; try to position machines near the power source.
If an extension cord is necessary, make sure it is in good condition.
When using an extension cord, be sure to use one heavy enough to carry the current your product will draw.
An undersized cord will cause a drop in line voltage resulting in loss of power and overheating.
Table 1 shows correct size to use depending on cord length and nameplate ampere rating.
If in doubt, use the next heavier gauge.
The smaller the gauge number, the heavier the cord.
| Ampere Rating | Volts | Total length of cord in feet | ||||
| More Than | Not More Than | 120 240 | 25 50 | 50 100 | 100 200 | 150 300 |
| AWG | ||||||
| 0 | 6 | 18 | 16 | 16 | 14 | |
| 6 | 10 | 18 | 16 | 14 | 12 | |
| 10 | 12 | 16 | 16 | 14 | 12 | |
| 12 | 16 | 14 | 12 | Not Recommended | ||
Table 1: Extension cord recommendations
Operations
Switches
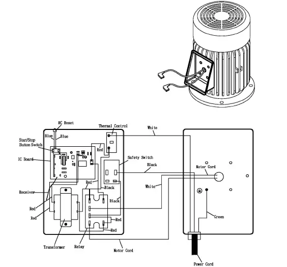
Main power switch (A, Figure 16) – Pull up paddle switch to engage electrical power to dust collector, push down to cut off power.
Note: The switch must be in ON position for remote controller to operate.
The safety key (B, Figure 16) can be removed to prevent unauthorized use of dust collector.
Key must be reinserted to start machine – press until it snaps back in.
Start/stop button (C, Figure 16) – Turns dust collector on and off, if remote controller is not used.

Remote controller
The RF (radio frequency) remote controller operates on one 9-volt battery (included).
The battery will need replacing periodically.
The remote controller has an effective range up to approximately 50 feet (15 meters).
To operate remote controller, safety key must be inserted and main power switch turned on (A/B, Figure 16).
The LED light on controller will illuminate when either ON or OFF button is pressed.

Remote controller reset
If the remote controller fails to function, try a new battery.
If it still fails, it should be cleared and reset.
To clear and reset remote controller:
- Press reset button (D, Figure 16) for 3 seconds until receiver “beeps” 3 times. This clears the remote controller.
- Press reset button (D) for 1 second until receiver “beeps” once.
- Press “ON” button on the hand-held remote controller until receiver “beeps” twice. (If you are using multiple remotes, perform step 3 on each remote before proceeding.)
- Press reset button (D) for 3 seconds until receiver “beeps” 3 times.
- Remote controller is now ready.
Dust hose connection
Use proper type hose to connect dust collector to machine(s) being operated.
Dryer vent hose is not acceptable for this purpose.
Secure hose at both ends with proper clamps.
If an inlet port is not being used, it should remain capped.
An open port will diminish the machine’s efficiency and may create a safety hazard.
Contact your nearest JET distributor for a line of Dust Collector hoses and accessories.
You can customize your installation and obtain maximum performance with dust hoods, hoses, clamps, fittings, and blast gates.
User-maintenance
WARNING
Turn OFF dust collector and remove plug from power source before performing any adjustments or maintenance.
Failure to comply may result in serious injury.
Thermal overload reset
The switch box contains overload protection to help prevent damage to the motor.
The relay will open the circuit (shut off the dust collector) if the motor is drawing excessive current during extended periods of operation.
If the overload is tripped, allow the machine to cool down for several minutes.
Then press reset button (E, Figure 16) and restart the dust collector.
Cleaning and bag inspection
Clean canister filter frequently to keep the collector’s performance at its optimum.
To clean filter, turn handle a couple of rotations so dust falls into attached collection bag.
Empty or replace canister and drum collection bags when full.
Motor inspection
Make frequent inspections of motor fan and blow out (with low pressure air hose) or vacuum any accumulation of foreign material to maintain normal motor ventilation.
Additional servicing
No lubrication is required for the dust collector.
Any other servicing should be performed by an authorized service representative.
Optional accessories
| Part no. | Description |
| 717511 | Canister collection bag for JCDC (package of 5) |
| 717516 | Drum collection bag for JCDC-1.5 (package of 5) |
Troubleshooting the JCDC-1.5
Electrical and motor problems
| Symptom | Possible Cause | Correction* |
| Motor will not start. | No incoming current. | Check connections at plug or circuit panel. |
| Safety key missing from switch. | Install safety key. | |
| Low voltage. | Check power line for proper voltage. | |
| Open circuit in motor or loose connection. | Inspect all connections to switch box and motor for loose or open connections. | |
| Faulty start switch. | Inspect and replace switch if needed. | |
| Faulty start capacitor. | Replace capacitor. | |
| Faulty motor. | Inspect and replace motor if needed. | |
| Motor will not start: fuse blows or circuit breaker trips. | Too many machines on shared circuit. | Connect dust collector to dedicated circuit. |
| Short circuit in line cord or plug. | Inspect cord or plug for damaged insulation and shorted wires. | |
| Short circuit in motor or loose connections. | Inspect all connections on motor for loose or shorted terminals or worn insulation. | |
| Incorrect fuse or circuit breaker in power line. | Install correct fuse or circuit breaker at power source. | |
| Motor overheats. | Motor overloaded. | Reduce load on motor. |
| Air circulation through motor is restricted. | Clean motor fan with compressed air to restore normal air circulation. | |
| Motor stalls, resulting in blown fuses or tripped circuit. | Motor overloaded. | Reduce load on motor. |
| Short circuit in motor or loose connections. | Inspect connections on motor for loose or shorted terminals or worn insulation. | |
| Low voltage. | Correct low voltage conditions. | |
| Incorrect fuse or circuit breaker in power line. | Install correct fuse or circuit breaker. | |
| Loud noise or vibrations coming from machine. | Loose fasteners. | Inspect machine and tighten all fasteners. |
| Motor fan is hitting the cover. | Tighten fan or shim cover. Replace fan cover if damaged. | |
| Impeller damaged. | Replace impeller. | |
| Remote controller fails to activate machine. | Main power switch is off, or safety key is missing. | Insert safety key; turn on main switch. |
| Battery drained. | Replace battery. | |
| Remote needs resetting. | Follow instructions for clearing and resetting. |
* WARNING: Some corrections may require a qualified electrician.
Performance problems
| Symptom | Possible Cause | Correction |
| Poor performance; lack of suction. | Hose improperly secured at dust origination point. | Inspect and remedy. |
| Inlet port is open. | Cap unused inlet ports. | |
| Collection bag is full. | Empty bag (check sight window). | |
| Collection drum not sealed properly. | Inspect drum for leaks, make sure lid is tight. | |
| Canister filter is dirty. | Clean filter. | |
| Wood has excess moisture content. | Use lumber with lower moisture content. | |
| Obstruction in dust hose or inlet port. | Inspect and clear obstruction. | |
| Dust hose too long. | Move collector closer to dust source. | |
| Excess dust or large chips backing up into canister filter. | Collection drum not sealed properly. | Inspect drum for leaks, make sure lid is tight. |
| Collection bag full. | Empty bag (check sight window). |
Replacement Parts
Replacement parts are listed on the following pages.
To order parts or reach our service department, call 1-800-274-6848 Monday through Friday, 8:00 a.m. to 5:00 p.m. CST.
Having the Model Number and Serial Number of your machine available when you call will allow us to serve you quickly and accurately.
Non-proprietary parts, such as fasteners, can be found at local hardware stores, or may be ordered from JET.
Some parts are shown for reference only and may not be available individually.
JCDC-1.5 Cyclone Dust Collector – Exploded View

JCDC-1.5 Cyclone Dust Collector – Parts List
Index No Part No / Description /Size /Qty
- 1 ……………. JCDC1.5-01 ……………Motor …………………………………………………………….. 1-1/2HP, 115V……………… 1
- ……………… JCDC1.5-01SC ……….Start Capacitor (not shown)………………………………. 300MFD, 125VAC………… 1
- ……………… JCDC1.5-01RC ……….Running Capacitor (not shown) …………………………. 30uF, 250V…………………… 1
- ……………… JCDC1.5-01FC ……….Fan Cover (not shown)……………………………………………………………………………………… 1
- ……………… JCDC1.5-01CF ……….Cooling Fan (not shown)…………………………………………………………………………………… 1
- ……………… JCDC1.5-01CS ……….Centrifugal Switch (not shown)…………………………………………………………………………. 1
- 2 ……………. JCDC1.5-02 ……………Strain Relief ……………………………………………………. M20-13B/PG20…………….. 1
- 3 ……………. TS-0570021 ……………Hex Nut …………………………………………………………. 5/16”……………………………… 4
- 4 ……………. TS-0720081 ……………Lock Washer ………………………………………………….. 5/16”……………………………… 4
- 5 ……………. JCDC1.5-05 ……………Key ……………………………………………………………….. 6x6x25………………………….. 1
- 6 ……………. JCDC1.5-06 ……………Rubber Seal …………………………………………………… Dia. 24mm…………………….. 1
- 7 ……………. JCDC1.5-07 ……………Hex Flange Head Screw ………………………………….. 5/16” x 3/4”…………………. 12
- 8 ……………. JCDC1.5-08 ……………Eye Bolt …………………………………………………………. 5/16”……………………………… 2
- 9 ……………. JCDC1.5-09 ……………Motor Plate………………………………………………………………………………………………………… 1
- 10 ………….. JCDC1.5-10 ……………Power Cord w/ Plug…………………………………………. 14AWG x 3C………………… 1
- 11 ………….. TS-0051051 ……………Hex Cap Screw ………………………………………………. 5/16” x 1”………………………. 4
- 12 ………….. JCDC1.5-12 ……………Impeller………………………………………………………….. Dia. 13”…………………………. 1
- 13 ………….. TS-0270021 ……………Socket Set Screw ……………………………………………. 5/16” x 5/16”…………………. 1
- 14 ………….. JCDC1.5-14 ……………Lock Washer ………………………………………………….. Exclusive………………………. 1
- 15 ………….. JCDC1.5-15 ……………Socket Head Cap Screw (Left Thread) ………………. M6 x 20…………………………. 1
- 16 ………….. JCDC1.5-16 ……………Intake Barrel (serial 22086149 and lower)………………………………………………………. 1
- ……………… JCDC1.5-16B………….Intake Barrel (serial 22086150 and higher)……………………………………………………… 1
- 17 ………….. 5513357 …………………Mach Screw, Pan HD, Phillips…………………………… 3/16” x 3/8”……………………. 1
- 18A………… JCDC1.5-18A………….Inlet Adaptor Assembly (includes #18 thru 20)…….. 6” x (2) 4”………………………. 1
- 18 ………….. JCDC1.5-18 ……………Inlet Adaptor …………………………………………………… 6” x (2) 4”………………………. 1
- 19 ………….. JCDC1.5-19 ……………Chain………………………………………………………………………………………………………………….. 1
- 20 ………….. JCDC1.5-20 ……………Inlet Adaptor Cap ……………………………………………. 4”…………………………………… 1
- 21 ………….. JCDC1.5-21 ……………Side Cap………………………………………………………… 1”…………………………………… 2
- 22 ………….. JCDC1.5-22A………….Switch Assembly (# 22-1 thru 22-8)…………………………………………………………………. 1
- 22-1 ……….. JCDC1.5-22-1 …………Switch Box Cover………………………………………………………………………………………………. 1
- 22-2 ……….. JCDC1.5-22-2 …………Circuit Board……………………………………………………………………………………………………… 1
- 22-3 ……….. JCDC1.5-22-3 …………Overload Protector ………………………………………….. KLB-28AI………………………. 1
- 22-4 ……….. JCDC1.5-22-4 …………Toggle Switch …………………………………………………. J9301-5-4P-Y……………….. 1
- 22-5 ……….. JCDC1.5-22-5 …………Push Button Switch…………………………………………………………………………………………… 1
- 22-6 ……….. JCDC1.5-22-6 …………Mach Screw, Pan HD, Phillips (blk)……………………. M4 x 6…………………………… 2
- 22-7 ……….. 5711571 …………………Mach Screw, Pan HD, Phillips…………………………… 3/16” x 1/4”……………………. 1
- 22-8 ……….. JCDC1.5-22-8 …………Push Button Switch (Reset Button)………………………………………………………………….. 1
- 23 ………….. JCDC1.5-23 ……………Connecting Square Tube …………………………………. 19 x 19 x 517………………… 1
- 24 ………….. JCDC1.5-24 ……………Tube Plug ………………………………………………………. 19 x 19………………………….. 2
- 25 ………….. JCDC1.5-25 ……………Hex Flange Head Screw ………………………………….. 5/16” x 1/2”……………………. 6
- 26 ………….. JCDC1.5-26 ……………Stand-Left………………………………………………………………………………………………………….. 1
- 27 ………….. JCDC1.5-27 ……………Stand-Right………………………………………………………………………………………………………… 1
- 28 ………….. JCDC1.5-28 ……………Base…………………………………………………………………………………………………………………… 1
- 29 ………….. JCDC1.5-29 ……………Tube Plug ………………………………………………………. 30 x 30………………………….. 4
- 30 ………….. JCDC1.5-30 ……………Swivel Caster …………………………………………………. 3/8”………………………………… 8
- 31 ………….. JCDC1.5-31 ……………Bag Frame Kit (#31-1 thru 31-5)………………………………………………………………………. 1
- 31-1 ……….. JCDC1.5-31-1 …………Hoop ……………………………………………………………… 6T………………………………….. 2
- 31-2 ……….. JCDC1.5-31-2 …………Bag Frame Support – Long ……………………………….. 7mm………………………………. 3
- 31-3 ……….. TS-1540011 ……………Hex Nut …………………………………………………………. M3………………………………. 12
- 31-4 ……….. JWL1221VS-314……..Mach Screw, Pan HD, Phillips…………………………… M3 x 12………………………. 12
- 31-5 ……….. JCDC1.5-31-5 …………Bag Frame Support -Short ……………………………….. 7mm………………………………. 3
- 32 ………….. 717516 …………………..Drum Collection Bag for JCDC-1.5 (pkg. of 5) …….. 700 x 660 /mm……………… 1
- 33 ………….. JCDC1.5-33 ……………Clamp ……………………………………………………………. Dia. 420 mm…………………. 1
- 34 ………….. TS-0050111 ……………Hex Cap Screw ………………………………………………. 1/4” x 2-1/2”………………….. 1
- 35 ………….. JCDC1.5-35 ……………Cyclone Funnel…………………………………………………………………………………………………. 1
- 36 ………….. JCDC1.5-36 ……………Quick Lever Assembly (# 36-1 thru 36-4)………………………………………………………… 2
- 36-1 ……….. JCDC1.5-36-1 …………Quick Lever……………………………………………………………………………………………………….. 2
- 36-2 ……….. 5712561 …………………Mach Screw, Pan HD, Phillips…………………………… M5 x 8…………………………… 8
- 36-3 ……….. TS-0570031 ……………Hex Nut …………………………………………………………. 3/8”………………………………… 2
- 36-4 ……….. JCDC1.5-36-4 …………Long Nut ………………………………………………………… 3/8”………………………………… 2
Index No Part No / Description /Size /Qty
- 37 ………….. JCDC1.5-37 ……………Foam Tape………………………………………………………………. L810 x W30 x T1 /mm .. 2
- 38 ………….. JCDC1.5-38 ……………Hose Clamp……………………………………………………. 10-1/2”………………………….. 2
- 39 ………….. JCDC1.5-39 ……………Hose ……………………………………………………………… Dia.10”…………………………. 1
- 40 ………….. JCDC1.5-40 ……………Collection Drum Lid………………………………………………………………………………………….. 1
- 41A………… JCDC1.5-41A………….Collection Drum Assembly (#30,41 thru 46) (serial 22086149 and lower)…….. 1
- ……………… JCDC1.5-41AB ……….Collection Drum Assembly (#30,41 thru 46) (serial 22086150 and higher)…….. 1
- 41 ………….. JCDC1.5-41 ……………Collection Drum (serial 22086149 and lower)…………………………………………………. 1
- ……………… JCDC1.5-41B………….Collection Drum (serial 22086150 and higher)………………………………………………… 1
- 42 ………….. JCDC1.5-42 ……………Handle………………………………………………………………………………………………………………… 1
- 43 ………….. TS-081F031 ……………Mach Screw, Flat HD, Phillips …………………………… 1/4” x 1/2”……………………… 2
- 44 ………….. JCDC1.5-44 ……………Rubber Pad………………………………………………………………………………………………………. 1
- 45 ………….. JCDC1.5-45 ……………PC Plate……………………………………………………………………………………………………………. 1
- 46 ………….. JCDC1.5-46 ……………Rivet ……………………………………………………………… 4-2………………………………. 12
- 47 ………….. SWSS3-201 ……………Open End Wrench …………………………………………… 10-12 mm…………………….. 1
- 48 ………….. TS-152705 ……………..Hex Wrench……………………………………………………. 4mm…………………………….. 1
- 49 ………….. TS-152706 ……………..Hex Wrench……………………………………………………. 5mm…………………………….. 1
- 50 ………….. TS-1540061 ……………Hex Nut …………………………………………………………. M8…………………………………. 6
- 51 ………….. JCDC1.5-51 ……………Gasket (serial 22086149 and lower)……………………………………………………………….. 1
- ……………… JCDC2-55 ………………Gasket (serial 22086150 and higher)……………………………………………………………… 1
- 52 ………….. JCDC1.5-52 ……………Socket HD Button Screw ………………………………….. M5 x 6…………………………… 6
- 53 ………….. TS-0561021 ……………Hex Nut …………………………………………………………. 5/16”…………………………….. 1
- 54 ………….. TS-0270071 ……………Socket Set Screw ……………………………………………. 5/16” x 3/4”…………………… 1
- 55A………… JCDC1.5-55A………….Handle Assembly (#55,56,57)…………………………………………………………………………. 1
- 55 ………….. JCDC1.5-55 ……………Handle………………………………………………………………………………………………………………… 1
- 56 ………….. JCDC1.5-56 ……………Grip…………………………………………………………………………………………………………………….. 1
- 57 ………….. JCDC1.5-57 ……………Pipe Plug……………………………………………………………………………………………………………. 1
- 58 ………….. JCDC1.5-58 ……………Canister Filter (serial 22086149 and lower)…………………………………………………….. 1
- ……………… JCDC1.5-58B………….Canister Filter (serial 22086150 and higher)……………………………………………………. 1
- 59 ………….. JCDC1.5-59 ……………Foam Tape …………………………………………………….. L1265 x W20 x T3 /mm 1
- 60 ………….. JCDC1.5-60 ……………Clamp (serial 22086149 and lower)…………………………………………………………………. 1
- ……………… JCDC1.5-60B………….Clamp (serial 22086150 and higher)……………………………………………………………….. 1
- 61 ………….. 717511 …………………..Canister Collection Bag for JCDC (pkg. of 5) ………. 600 x 500 /mm……………… 1
- 62 ………….. JCDC1.5-62 ……………Oil-Retaining Bearing………………………………………………………………………………………… 2
- 63 ………….. JCDC1.5-63 ……………Bearing Cover……………………………………………………………………………………………………. 2
- 64 ………….. JCDC1.5-64 ……………Shaft………………………………………………………………………………………………………………….. 1
- 65 ………….. JCDC1.5-65 ……………Fixing Block………………………………………………………………………………………………………. 1
- 66A………… JCDC1.5-66A………….Scraper Assembly (#52,62 thru 70)………………………………………………………………… 1
- 66 ………….. JCDC1.5-66 ……………Scraper………………………………………………………………………………………………………………. 3
- 67 ………….. TS-1481031 ……………Hex Cap Screw ………………………………………………. M5 x 12…………………………. 8
- 68 ………….. TS-1540031 ……………Hex Nut …………………………………………………………. M5………………………………… 6
- 69 ………….. JCDC1.5-69 ……………Support Plate……………………………………………………………………………………………………. 1
- 70 ………….. 5712561 …………………Mach Screw, Pan HD, Phillips (serial 22086149 & lower)…………M5x8……………………………… 4
- ……………… TS-1533052 ……………Mach Screw, Pan HD, Phillips (serial 22086150 & higher) ……. M5x15……………………………… 4
- 71 ………….. JCDC1.5-71 ……………Hex Flange Head Screw ………………………………….. 1/4” x 1/2”……………………… 4
- 72 ………….. JCDC1.5-72 ……………Remote Control Transmitter …………………………….. RF………………………………… 1
- ……………… ……………………………..Battery (not shown) …………………………………………. PP3, 9V……………………….. 1
- 73 ………….. 5711571 …………………Mach Screw, Pan HD, Phillips…………………………… 3/16” x 1/4”…………………… 1
- 74 ………….. JCDC1.5-74 ……………Foam Tape …………………………………………………….. L490 x W30 x T1 /mm….. 1
- 75 ………….. LM000057-1.5…………ID Label……………………………………………………………………………………………………………… 1
- 76 ………….. LM000058-1.5…………Motor Label……………………………………………………………………………………………………….. 1
- 77 ………….. LM000059 ………………Rotation Label…………………………………………………………………………………………………… 1
- 78 ………….. LM000068 ………………Caution Label – Do not step…………………………………………………………………………….. 1
- 79 ………….. LM000067 ………………Warning Label…………………………………………………………………………………………………… 1
- 80 ………….. JCDC1.5-80 ……………Fixing Plate………………………………………………………………………………………………………… 2
- 81 ………….. JCDC1.5-81 ……………Flat Washer ……………………………………………………. M8x∅23………………………. 12
- 82 ………….. TS-2208201 ……………Hex Cap Screw ………………………………………………. M8x20………………………….. 6
- ……………… JCDC1.5-HPB …………Hardware Package (see sect. 5.2 for contents) …… ………………………………….
Some parts are listed for reference only and may not be available individually.
Electrical Connections – JCDC-1.5

Warranty and service
JET warrants every product it sells against manufacturers’ defects. If one of our tools needs service or repair, please contact Technical Service by calling 1-800-274-6846, 8AM to 5PM CST, Monday through Friday.
Warranty Period
The general warranty lasts for the time period specified in the literature included with your product or on the official JET branded website.
- JET products carry a limited warranty which varies in duration based upon the product. (See chart below)
- Accessories carry a limited warranty of one year from the date of receipt.
- Consumable items are defined as expendable parts or accessories expected to become inoperable within a reasonable amount of use and are covered by a 90-day limited warranty against manufacturer’s defects.
Who is Covered
This warranty covers only the initial purchaser of the product from the date of delivery.
What is Covered
This warranty covers any defects in workmanship or materials subject to the limitations stated below. This warranty does not cover failures due directly or indirectly to misuse, abuse, negligence or accidents, normal wear-and-tear, improper repair, alterations, or lack of maintenance. JET woodworking machinery is designed to be used with Wood. Use of these machines in the processing of metal, plastics, or other materials outside recommended guidelines may void the warranty. The exceptions are acrylics and other natural items that are made specifically for wood turning.
Warranty Limitations
Woodworking products with a Five-Year Warranty that are used for commercial or industrial purposes default to a Two-Year Warranty. Please contact Technical Service at 1-800-274-6846 for further clarification.
How to Get Technical Support
Please contact Technical Service by calling 1-800-274-6846. Please note that you will be asked to provide proof of initial purchase when calling. If a product requires further inspection, the Technical Service representative will explain and assist with any additional action needed. JET has Authorized Service Centers located throughout the United States. For the name of an Authorized Service Center in your area call 1-800-274-6846 or use the Service Center Locator on the JET website.
More Information
JET is constantly adding new products. For complete, up-to-date product information, check with your local distributor or visit the JET website.
How State Law Applies
This warranty gives you specific legal rights, subject to applicable state law.
Limitations on This Warranty
JET LIMITS ALL IMPLIED WARRANTIES TO THE PERIOD OF THE LIMITED WARRANTY FOR EACH PRODUCT. EXCEPT AS STATED HEREIN, ANY IMPLIED WARRANTIES OF MERCHANTABILITY AND FITNESS FOR A PARTICULAR PURPOSE ARE EXCLUDED. SOME STATES DO NOT ALLOW LIMITATIONS ON HOW LONG AN IMPLIED WARRANTY LASTS, SO THE ABOVE LIMITATION MAY NOT APPLY TO YOU.
JET SHALL IN NO EVENT BE LIABLE FOR DEATH, INJURIES TO PERSONS OR PROPERTY, OR FOR INCIDENTAL, CONTINGENT, SPECIAL, OR CONSEQUENTIAL DAMAGES ARISING FROM THE USE OF OUR PRODUCTS. SOME STATES DO NOT ALLOW THE EXCLUSION OR LIMITATION OF INCIDENTAL OR CONSEQUENTIAL DAMAGES, SO THE ABOVE LIMITATION OR EXCLUSION MAY NOT APPLY TO YOU.
JET sells through distributors only. The specifications listed in JET printed materials and on official JET website are given as general information and are not binding. JET reserves the right to effect at any time, without prior notice, those alterations to parts, fittings, and accessory equipment which they may deem necessary for any reason whatsoever. JET® branded products are not sold in Canada by JPW Industries, Inc.
Product Listing with Warranty Period
- 90 Days – Parts; Consumable items
- 1 Year – Motors; Machine Accessories
- 2 Year – Metalworking Machinery; Electric Hoists, Electric Hoist Accessories; Woodworking Machinery used for industrial or commercial purposes
- 5 Year – Woodworking Machinery
- Limited Lifetime – JET Parallel clamps; VOLT Series Electric Hoists; Manual Hoists; Manual Hoist Accessories; Shop Tools; Warehouse & Dock products; Hand Tools; Air Tools
NOTE: JET is a division of JPW Industries, Inc.
References in this document to JET also apply to JPW Industries, Inc., or any of its successors in interest to the JET brand.
427 New Sanford Road LaVergne,
Tennessee 37086
Phone: 800-274-6848
www.jettools.com










The bag frame maintains the shape of the bag in the negative-pressure environment of the cyclone drum. Assemble bag frame as follows:




















