Installation guide
Electric expansion valve
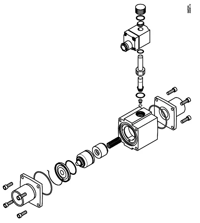
AKVA 20![]()
Refrigerants
R717, HCFC, HFC
MWP = PS 42 bar (609 psig)
MOPD max. = (P1-P2) max. = 18 bar (261 psig)



Cover material P285QH EN 10222-4. Installation is to be carried out with qualified personnel and processes only. After welding, the valve should be surfaced to be corrosion-proof.
The gasket must be replaced if the valve is dismantled.
Each line marking indicates size of valve. Here shown AKVA 20-3.

| No of line marking | Type |
| 1 | AKVA 20-1 |
| 2 | AKVA 20-2 |
| 3 | AKVA 20-3 |
| 4 | AKVA 20-4 |
| 5 | AKVA 20-5 |
Do not carry out service when internal pressure is present in the valve.
Use only original Danfoss spare parts.
Only authorized personnel is to carry out all service and installation.
Danfoss A/S
Climate Solutions
danfoss.com
+45 7488 2222
Any information, including, but not limited to information on selection of product, its application or use, product design, weight, dimensions, capacity or any other technical data in product manuals, catalogues descriptions, advertisements, etc. and whether made available in writing, orally, electronically, online or via download, shall be considered informative, and is only binding if and to the extent, explicit reference is made in a quotation or order confirmation. Danfoss cannot accept any responsibility for possible errors in catalogues, brochures, videos and other material. Danfoss reserves the right to alter its products without notice. This also applies to products ordered but not delivered provided that such alterations can be made without changes to form, fit or function of the product. All trademarks in this material are property of Danfoss A/S or Danfoss group companies. Danfoss and the Danfoss logo are trademarks of Danfoss A/S. All rights reserved.
www.danfoss.com/ir
AN11948641590401-000201
© Danfoss
Climate Solutions
2022.06


















