ENGINEERING
TOMORROW
Installation guide
Electric expansion valve
Type ETS 5M
ETS 5M Electric Expansion Valve
Refrigerants
R410A, R22, R32, R290, R454C, R515B, R1234ze, R452B, R1234yf, R452A, R454B, R454A, R455A, R449A, R407C, R134a, R407H, R513A, R449B, R404A, R448A, R463A
Safety notes for flammable refrigerants (R454C, R454A, R1234ze, R290, R32, R452B, R454B, R455A, R1234yf)
- This product is validated in accordance with ATEX, EN 378, ISO 5149, ASHRAE 15, IEC 60335-2-x, or equivalent standards.
- Ignition risk is evaluated in accordance with ISO 5149 and IEC 60335.
- See the safety note below.
Safety notes:
- The product can be applied on systems with R454C, R454A, R1234ze, R290, R32, R452B,
R454B, R455A, R1234yf as the working fluid. - For countries where safety standards are not an indispensable part of the safety system, Danfoss recommends the installer get a third-party approval of the system containing flammable refrigerant.
- Note, please follow specific selection criteria stated in the datasheet for these particular refrigerants.
- The valve must only be used in the closed circuit refrigeration system, where no oxygen is present acc.
EN 378, ISO 5149 ASHRAE 15 or IEC 60335-2-x or equivalent standards.
Warning!

Do not connect directly to AC / DC power source. Connect valve to appropriate controller/driver only.
Do not operate the valve while assembling or disassembling.
| Max. working pressure PS / MWP: 4.55 MPa / 45.5 barg / 660 psig | ![]() | |
| Refrigerant temperature t Min. : -30 °C / -22 °F, t Max. : 70 °C /158 °F | ||
| Allowable ambient temperature -30 °C / -22 °F – 60 °C / 140 °F | Phase current 240 mA | Resistance 50 Ω |
| Stepper motor type Unipolar | ||
| Nominal voltage 12 V DC | ||
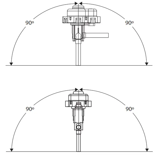
- Mounting Angle

- Open position
Always open the valve to overdrive before brazing using the manual coil.
ETS 5M manual coil: Code no. 034G3803
- Brazing option 1 Brazing option 2

- Assembling

- Connection

Table:1 Stepper motor open and close sequence
| Yellow (A1) | Orange (A2) | Brown (B1) | Black (B2) | Red (Corn) | ||
Valve Opening | ON | OFF | OFF | OFF | 0 | Valve Closing |
| ON | OFF | ON | OFF | 0 | ||
| OFF | OFF | ON | OFF | 0 | ||
| OFF | ON | ON | OFF | 0 | ||
| OFF | ON | OFF | OFF | 0 | ||
| OFF | ON | OFF | ON | 0 | ||
| OFF | OFF | OFF | ON | 0 | ||
| ON | OFF | OFF | ON | 0 |

![]()
Info for UK customers only: Danfoss Ltd., 22 Wycombe End, HP9 1NB,
AN304333192445en-000601 






















