Danfoss RTS2 Combined Radiation and Room Temperature Sensor Installation Guide
Danger!
This device may only be installed by a qualified electrician in accordance with the circuit diagram in the operating instructions. The existing safety regulations must be observed.
Application
This sensor was specially developed to record the room and/or radiation temperature in residential, hotel and office rooms under normal ambient conditions.
Function
There are 4 NTC sensors in the sensor housing, two act as room temperature sensors, the other two are glued directly into the black hemisphere as radiation sensors. This combination allows, for example, when the room is not occupied, the reduced temperature or frost protection to be monitored by the room sensor, and when the room is occupied, the radiant heat can be recorded by the radiation sensor. In the case of combined heating systems, it is possible to regulate the “feel good temperature” which is determined from the room and radiation temperature using a suitable evaluation device
Technical specifications
Degree of protection: IP30
Ambient temperature: -20 … +70°C
Measurement current: < 1mA
Ball pressure test : 75°C
Pollution Degree: 2
Electrical connection: screw terminals (0.14 … 1.5 mm2), cable length max. 50 m, (only for use with safety extra low voltage, max. 30V~ / 42V4)
Avoid parallel routing with lines carrying mains voltage or use shielded lines.
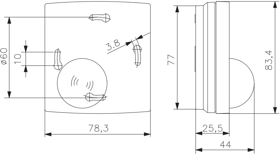
Mounting
Wall mounting or installation on an UP box Colour: pure white, similar to RAL 9010, hemisphere in black.
Wiring Diagram
TPOne B
TPOne M
RTS2 needs to be connected on S1 and S2
2 | © Danfoss Climate Solutions
2023.06 AI000086402676en-000101



















