MINKA LAVERY 390-1-66A-L Averton 30 Inch 1-Light Coal LED Vanity Light with Aquarium Glass Shade Instruction Manual
INSTALLATION INSTRUCTIONS
WARNING! SHUT POWER OFF AT FUSE OR CIRCUIT BREAKER .
AVERTISSEMENT! COUPER LE COURANT AU NIVEAU D
MOUNTING THE FIXTURE (Fig. 1)

- Shut off power at the fuse box or circuit breaker box. If necessary remove the existing fixture and its mounting hardware.
- Carefully remove the new fixture from the carton and check that all parts are included as shown in the illustration.
- Position mounting plate (B) on the wall, and mark the location of the two drywall anchors (G). Pre-drill the holes for the drywall anchors (G) and insert the drywall anchors (G) into the wall.
- Attach the mounting plate (B) to the junction box (not included) using mounting screws (A) (Size: #8-32*1/2”L). The side of the mounting plate marked “GND” must face out.
- Place the self-tapping screws (H) through the holes of the mounting plate (B) and into the drywall anchors (G) to secure the mounting plate (B) to the wall.
CONNECTION THE WIRES (Fig. 2)
At this point, connect the electrical wires as shown in Fig. 2, making sure that all wire connectors are secured. If your outlet has a ground wire (green or bare copper), connect the fixture’s ground wire to it. Otherwise, connect the fixture’s ground wire directly to the mounting plate using the green screw (c) provided. After the wires are connected, tuck them carefully into the junction box.
FINISHING THE INSTALLATION (Fig. 1)
Align Fixture (F) to the mounting plate (B) and secure with screws (E).
Your installation is now complete. Return power to the junction box and test the fixture.
CAUTION / ATTENTION: When handling the fixture, do not apply pressure to the LEDs. Hold the fixture by the base or fixture body only.
IMPORTANT: Fixture should be installed by a qualified electrician to ensure proper wiring and installation.
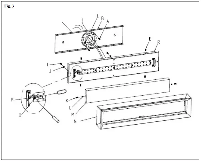
Replacing LED module (Fig. 3)
The LED module can be replaced by a qualified electrician without cutting the wires and without damaging the decorative element to which the fixture is attached. See installation steps for more details (Fig. 3)
Warning: Turn off power at the fuse box or circuit breaker before replacing LED module.
a. To remove the fixture from the wall: loosen screws (E) and remove the wire connectors (D). Remove fixture (F) from mounting plate (B). Then place the fixture on a clear flat surface. (Fig. 1)
b. Loosen screws (I) and washer (J) to remove frame (N) from canopy (R).
c. Loosen screws (K) and silicone pad (L) to remove glass shade (M).
d. Loosen screws (O) and plastic washer (P), then use a pin (Not included) to disconnect the wires on LED module, carefully remove LED module.
e. Reverse steps a-d for installing the new LED module.
Note: The LED module should be provided by a specified supplier.
Dimmable with ELV and/or LED compatible wall dimmer switch.












