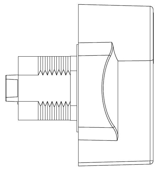
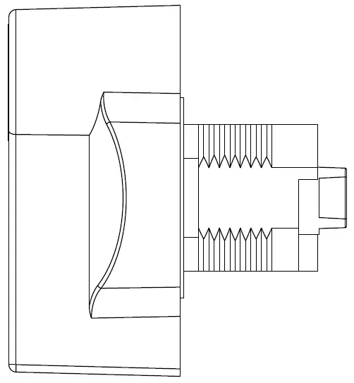
Home » Blog » Schneider Electric Nsythplm External Handle Instruction Manual Schneider Electric Nsythplm External Handle Instruction Manual Contents hide1 Schneider Electric NSYTHPLM External Handle2 INSTALLATION INSTRUCTIONS3 Documents / Resources4 Related PostsSchneider Electric NSYTHPLM External HandleINSTALLATION INSTRUCTIONS Documents / Resouces Download manual Here you can download full pdf version of manual, it may contain additional safety instructions, warranty information, FCC rules, etc. To access the pdf donwload links, solve the captcha. Related Manuals Schneider Electric Nsx400-630 Extended Rotary Handle Owner's Manual Schneider Electric A9a27005 Acti9 Rotary Handle Instructions Schneider Electric Nsx100m 3p/4p Extended Rotary Handle User Manual Itc 86480-ll-xx-yy-zzz Platinum Assist Handle Instruction Manual Schneider Electric Mtn6725 Instruction Manual Schneider Electric Nsx100-250 Compact Instructions Al-ko D48 Manoeuvring Handle Instruction Manual Schneider Electric 51156127aa-06 Masterpact Nw Instruction Manual Bosch 34-81739 Blender Handle Instruction Manual Motowinch Mwtx01 Smart-handle User Manual Schneider Electric Nsysfp20750eda Electric Fabricant Rexel France Instruction Manual Einhell Electric Hand Plane Instruction Manual Schneider Electric Gv4adn01 Direct Mounted Rotary Handle Instructions Fisherpaykel Ahd5rdsfb 34 Black Square Handle User Manual Einhell Te-pl 900 Electric Hand Plane Instruction Manual Schneider Electric Compact Nsx100-250 Lv429338t Extended Rotary Handle User Guide Schneider Electric Cct15285 Industrial Automation Partner User Manual Uz Cxx172 Electronic Door Handle Instruction Manual Schneider Electric Cct711119 Smart Plug Wiser Instruction Manual Ikea Aa-2205653-5 Begripa Handle Instruction Manual