Virtual Fly TQ3 Throttle for Flight Simulator User Manual

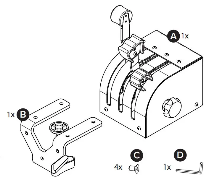
1. IN THE BOX
A) TQ3/TQ3+
B) Clamp
C) Allen Screws
D) Allen Key

For support, contact us at [email protected]

© 2022 Virtual Fly, SL All trademarks and brand names are trademarks or registered trademarks of their respective owners. All rights reserved.
C. Maria Aurèlia Capmany, 21 P.I. La Fàbrica 08297 Castellgalí (Spain) Phone: (+34) 938 333 301 https://www.virtual-fly.com
2. HARDWARE SETUP
2.1 ATTACHING TO DESKTOP/HOME COCKPIT SETUP
You have two options to attach the TQ3/TQ3+ using the includ1ed clamp (B) and allen screws (C). For both options, place the TQ3/TQ3+ on the surface it will rest and tighten the knob (a) until you feel strong resistance.
OPTION A: Attaching from the back

OPTION B: Attaching from bottom
! Make sure to unscrew the two rubber feet before setting up the clamp.

2.2 CONNECTING TO PC
Connect the integrated USB cable from the TQ3/TQ3+ to the computer where the flight simulation software is running.
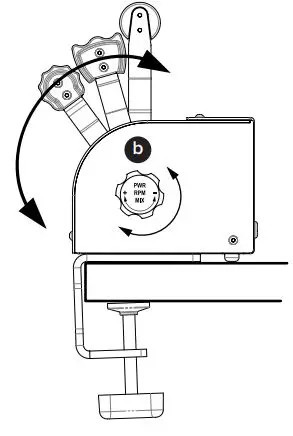
2.3 ADJUSTING THE LEVER’S HARDNESS
Your TQ3/TQ3+ offers the possibility to adapt the levers’ hardness to your preference.
You can do so by rotating the knob (b) as seen in the following diagram. The knob is located on the right side of the TQ3/ TQ3+. Once you have adjusted the knob, move all the levers simultaneously from top to bottom, at least five times, to distribute the hardness.

3. SOFTWARE SETUP
The TQ3/TQ3+ interacts with any computer as a joystick (HID), so it is compatible with any flight simulation software. Below, you have 2 options for setting up your TQ3/TQ3+ with the most popular flight simulation software: MSFS, Prepar3D, and X-Plane 11/12.
OPTION A: Using VFHub (Windows Only) – Recommended
VFHub is the software developed by Virtual Fly to simplify setting up our products. Thus, it is the recommended software to set up your TQ3/TQ3+. With VFHub, you can fly your favorite flight simulation software without worrying about configuring your Virtual Fly flight controls.
You can download the latest VFHub version from this link: https://www.virtual-fly.com/setup-support. The VFHub installer takes care of installing VFHub and all the required modules. VFHub is compatible with MSFS, Prepar3DV4-V5 and X-Plane 11/12.
After installing VFHub, make sure your TQ3/TQ3+ is connected to your computer. Run VFHub, and verify that the TQ3 status displayed in the Dashboard is “Connected”:

VFHub takes care of making your TQ3/TQ3+ work with MSFS, Prepar3DV4-V5 and X-Plane 11/12, so it must always be running when you use the TQ3/TQ3+.
If your device is a TQ3 non-PLUS version, make sure to calibrate the device in VFHub. For more details, check the USER’s MANUAL button in the VFHub software:

Make sure to use set up a blank profile to the TQ3/ TQ3+ in the controls or joystick menu of the simulation software you are using. You can find the detailed steps in: https://downloads.virtual-fly.com/docs/vfhub/latest/setting_up_a_blank_profile.pdf.
If you want to customize how your TQ3/TQ3+ works, select the device’s options button ( ) in VFHub’s Dashboard. For detailed instructions on all the tuning and customization possibilities, check the USER’s MANUAL button in the VFHub software.
OPTION B: In-game Configuration
The reverse zones are not available with the in-game configuration for MSFS and Prepar3D.
Below, you have a general scheme to set up your TQ3/ TQ3+ with the most popular flight simulation software: MSFS, Prepar3D, and X-Plane 11/12.
If you own a TQ3 non-PLUS version, you must calibrate your device using Windows Calibration.
MSFS
If you own a TQ3 PLUS version, your device is ready to be used in MSFS. If you own a TQ3 non-PLUS version, open MSFS and go to the options menu. Select the controls menu, chose the TQ3 from the device list, and assign the axes as you please.
Prepar3D
Open Prepar3D and go to the “Options” menu. Locate the “Key Assignments” and “Axis Assignments” and select the “TQ3/TQ3+” from the Controller list. Assign the axes as you please. Calibrate the device following the instructions inside “Control Calibration”.
Make sure the “Enable Controllers” option inside Options/Controls is enabled.
X-Plane 11/12
You will only need to calibrate your TQ3/TQ3+ inside X-Plane 11/12, since axes and reverse zones are automatically assigned. Open X-Plane and go to the Settings Joystick sub-menu, select the TQ3/TQ3+ from the device list and follow calibration steps for your device.



















